Литмир - Электронная Библиотека
Содержание  
A
A
Справочник по строительству и реконструкции линий электропередачи напряжением 0,4–750 кВ - i_435.png

Ролики раскаточные (табл. 5.21) предназначены для работ, связанных с подвеской проводов и грозозащитных тросов на линиях электропередачи, а также с раскаткой оптических кабелей и грозозащитных тросов со встроенным оптическим кабелем на опорах воздушных линий электропередачи.

Таблица 5.21

Ролики раскаточные

Справочник по строительству и реконструкции линий электропередачи напряжением 0,4–750 кВ - i_436.png
Справочник по строительству и реконструкции линий электропередачи напряжением 0,4–750 кВ - i_437.png

Блоки с откидной щекой предназначены для перепускания стального каната, а блоки с откидной щекой из изолирующего материала – для перепускания изолирующего (синтетического) каната (табл. 5.22). Отличаются удобством открывания щеки, возможностью сочленения со стандартной сцепной линейной арматурой.

Таблица 5.22

Блоки с откидной щекой

Справочник по строительству и реконструкции линий электропередачи напряжением 0,4–750 кВ - i_438.png

Блок натяжной предназначен для использования при подъеме на опоры ВЛ приспособлений, такелажа и арматуры. Он оснащен роликом из изоляционного материала и эксцентриковым тормозом, обеспечивающим свободное прохождение каната только в одном направлении, и применяется с изолирующим (полипропиленовым) канатом.

Технические характеристики блока:

Грузоподъемность, кг ………………………………………………. 400

Масса груза, удерживаемая тормозом, кг………………….. 200

Диаметр каната, мм …………………………………………………. 12—20

Масса, кг …………………………………………………………………. 1,0

Монтажные верховые блоки предназначены для подъема и перекладки на опорах проводов и гирлянд изоляторов (табл. 5.23).

Таблица 5.23

Монтажные верховые блоки

Справочник по строительству и реконструкции линий электропередачи напряжением 0,4–750 кВ - i_439.png

5.3.5. Тележки монтажные и контейнеры для транспортировки

Тележка монтажная предназначена перемещения электролинейщика по фазным проводам линии электропередачи при проведении монтажных и ремонтных работ (табл. 5.24). Тележка перемещается в пролете между опорами. Она оборудована синтетическими стропами безопасности и кулачковым тормозом. Тележка оснащена съемными роликами, позволяющими обходить распорки и поддерживающими зажимы. Все ходовые ролики имеют тормозные устройства, обеспечивающие фиксирование тележки в любой точке пролета.

Таблица 5.24

Тележки монтажные

Справочник по строительству и реконструкции линий электропередачи напряжением 0,4–750 кВ - i_440.png

Тележки для установки дистанционных распорок на проводах и троссах расщепленных фаз, без опускания проводов и тросов на землю приведены в табл. 5.25.

Таблица 5.25

Тележки для установки дистанционных распорок на проводах расщепленных фаз

Справочник по строительству и реконструкции линий электропередачи напряжением 0,4–750 кВ - i_441.png

Контейнеры для транспортировки изоляторов (табл. 5.26) позволяют снизить процент повреждения изоляторов при погрузке, транспортировке и разгрузке, сократить значительную часть ручных работ при погрузке и разгрузке изоляторов, а сборку гирлянд перенести с трассы на прорабский участок.

Таблица 5.26

Контейнеры для транспортировки изоляторов

Справочник по строительству и реконструкции линий электропередачи напряжением 0,4–750 кВ - i_442.png

5.3.6. Приборы для контроля монтажа проводов и переносные заземления

Устройство для контроля усилий в оттяжках проводов. Для контроля и измерения усилий натяжения оттяжек опор при строительстве и эксплуатации воздушных линий электропередачи применяют механические и электронные измерительные устройства (табл. 5.27).

Таблица 5.27

Устройства контроля усилий в оттяжках

Справочник по строительству и реконструкции линий электропередачи напряжением 0,4–750 кВ - i_443.png

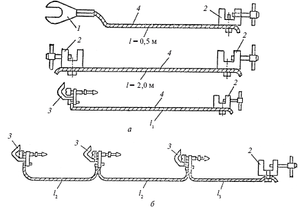
Переносные заземления предназначены для обеспечения безопасности монтажа проводов и тросов вблизи действующей линии электропередачи (табл. 5.28). Различные конструкции заземляющих устройств приведены на рис. 5.1.

Справочник по строительству и реконструкции линий электропередачи напряжением 0,4–750 кВ - i_444.png

Рис. 5.1. Одноветвевые (а) и трехветвевые (б) переносные заземления:

1 – наконечник; 2 – струбцина; 3 – зажим; 4 – медный гибкий провод

Таблица 5.28

Переносные заземления

Справочник по строительству и реконструкции линий электропередачи напряжением 0,4–750 кВ - i_445.png

5.4. вспомогательное оборудование и механизированный инструмент

5.4.1. Машины вспомогательного назначения

На объектах строительства ВЛ применяются различные машины вспомогательного назначения, передвижные компрессорные станции, электроагрегаты, насосы погружные, лебедки и др. (табл. 5.29– 5.38).

Погружные насосы предназначены для откачки загрязненной воды из котлованов и траншей при сооружении фундаментов. Насосы могут откачивать воду, содержащую песок, глину и другие примеси с фракциями твердых частиц до 6 мм.

Электрические лебедки большой канатоемкости применяются при монтаже опор переходов. Ручные лебедки находят применение при выполнении вспомогательных монтажных работ.

Таблица 5.29

Компрессорные станции

Справочник по строительству и реконструкции линий электропередачи напряжением 0,4–750 кВ - i_446.png
Справочник по строительству и реконструкции линий электропередачи напряжением 0,4–750 кВ - i_447.png

Таблица 5.30

Дизельные компрессоры

Справочник по строительству и реконструкции линий электропередачи напряжением 0,4–750 кВ - i_448.png

Таблица 5.31

Электроагрегаты

Справочник по строительству и реконструкции линий электропередачи напряжением 0,4–750 кВ - i_449.png

Таблица 5.32

Электроагрегаты переносные

Справочник по строительству и реконструкции линий электропередачи напряжением 0,4–750 кВ - i_450.png

Таблица 5.33

Дизель-генераторы (Atlas сорсо)

Справочник по строительству и реконструкции линий электропередачи напряжением 0,4–750 кВ - i_451.png

Таблица 5.34

Комбинированные электроустановки для выполнения сварочных работ и электроснабжения

Справочник по строительству и реконструкции линий электропередачи напряжением 0,4–750 кВ - i_452.png

Примечания: В скобках указаны модели электроустановок с ручным пуском. ~ переменный сварочный ток, = постоянный сварочный ток.

Таблица 5.35

Электронасосы переносные погружные

Справочник по строительству и реконструкции линий электропередачи напряжением 0,4–750 кВ - i_453.png

Таблица 5.36

Насосы погружные для загрязненных жидкостей

Справочник по строительству и реконструкции линий электропередачи напряжением 0,4–750 кВ - i_454.png

Таблица 5.37

Лебедки электрические

Справочник по строительству и реконструкции линий электропередачи напряжением 0,4–750 кВ - i_455.png
Справочник по строительству и реконструкции линий электропередачи напряжением 0,4–750 кВ - i_456.png
Справочник по строительству и реконструкции линий электропередачи напряжением 0,4–750 кВ - i_457.png
Справочник по строительству и реконструкции линий электропередачи напряжением 0,4–750 кВ - i_458.png

Таблица 5.38

Лебедки с ручным приводом

Справочник по строительству и реконструкции линий электропередачи напряжением 0,4–750 кВ - i_459.png

5.4.2. Ручной механизированный инструмент

Для сборки стальных опор применяется набор инструментов, в который входят торцовые головки под гайку 24, 30, 36, 41 и 46, переходники 14x22, 17x22, 22x27 и 22x32, ключ-трещотка, воротки и коловороты. Наличие переходников позволяет работать с помощью ключа-трещотки, воротков и коловоротов, а также применять гайковерты электрические или пневматические.

41
{"b":"117380","o":1}