Литмир - Электронная Библиотека
Содержание  
A
A

Соединения проводов в шлейфах выполняют петлевыми переходными зажимами типа ПАС или сваркой термитным патроном. При этом концы проводов опрессовывают лапками зажимов, а зажимы соединяют болтами. При переходе с одной марки проводов на другую в шлейфах анкерных опор устанавливают петлевые переходные прессуемые зажимы типа ПП. Опрессование лапок зажима производят приспособлением типа МИ.

Соединение грозозащитных тросов осуществляют с помощью соединительных зажимов типа СВС.

Использование энергии взрыва. Этот метод применяется для опрессования соединительных, шлейфовых, натяжных, ответвительных и ремонтных зажимов при соединении сталеалюминиевых проводов АС 240 – АС 500, АС 70/72, а также при соединении стальных канатов грозозащитных тросов С 50 и С 70. При этом опрессование стального сердечника и алюминиевой оболочки провода осуществляют за один раз. Соединение взрывом может выполняться на высоте. Опрессование взрывом может производиться только при наличии разрешения на право производства взрывных работ. Подготовку провода и монтаж зажимов при этом производят по технологии, аналогичной для опрессования гидравлическим способом.

Соединение проводов взрывом производят в соответствии с Технологическими правилами по производству работ при опрессовке проводов с использованием энергии взрыва.

Соединение проводов сваркой термитными патронами применяют при соединении проводов в шлейфах анкерных опор. Термитные патроны выпускаются двух типов: ПАС и ПА. Патроны ПАС состоят из стальной трубки, на которой запрессована термитная шашка, и алю – миниевого вкладыша. Сбоку на шашке наносят красную метку. Патроны типа ПА состоят из трубки с надетой на нее термитной шашкой с вертикальным отверстием и колпачков или втулок, надеваемых на свариваемые провода. Соединение сталеалюминиевых проводов сваркой производят в соответствии с Типовой инструкцией по сварке неизолированных проводов с помощью термитных патронов.

Опрессование натяжных зажимов типа НАС. Перед опрессовкой петлевой части, анкера и линейной части натяжного зажима производится тщательная подготовка проводов. Концы соединяемых проводов промывают бензином на длину запрессовки в зажиме, протирают и наносят защитную смазку, после чего провод зачищают металлической щеткой до блеска. При опрессовании места опрессовки перекрываются следующим обжимом не менее чем на 5 мм.

При сооружении ВЛ в пролетах, пересекающих инженерные сооружения, допускается одно соединение на провод (трос) в следующих случаях: сталеалюминиевый провод сечением 240 мм2 с отношением алюминиевых проволок к стальным А: С > 4,29; если отношение А: С > 1,46 – при любом сечении провода; при расщепленной фазе из трех сталеалюминиевых проводов с отношением А: С > 4,29 – сечением 150 мм2 и выше; в стальных канатах грозозащищенных тросов сечением 120 мм2 и более.

Опрессовку зажимов, термосварку проводов и грозозащитных тросов следует вести в соответствии с технологическими картами К-5-24 института «Оргэнергострой».

3.4.3. Натяжение проводов и тросов

После окончания работ по раскатке и соединению проводов производят их подъем на опоры для визирования и окончательного закрепления. Натяжение может осуществляться отдельно каждого провода или одновременно двух или трех проводов через уравнительные блоки.

При вертикальном расположении проводов монтаж их начинается с верхних проводов, а при наличии грозозащитных тросов монтаж начинается с них. В ряде случаев целесообразно поднимать провода с гирляндами изоляторов и монтажными роликами. В таких случаях производят предварительную сборку гирлянд изоляторов.

Количество изоляторов в гирлянде и их тип зависят от напряжения линии, материала опор, механических нагрузок и определяются проектной организацией. Изоляторы, имеющие трещины, сколы, царапины глазури, плохую оцинковку, к сборке не допускаются. Собирают гирлянды вершинами в сторону подъема. В собранной гирлянде к верхнему ее изолятору прикрепляют серьгу, а к нижнему – ушко.

В собираемую гирлянду устанавливают все элементы арматуры, за исключением натяжного или поддерживающего зажима, который крепится вместе с проводом.

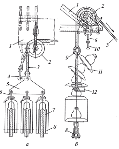
Все замки изоляторов устанавливают так, чтобы запирающие концы замков были расположены книзу у натяжных гирлянд и в сторону стойки опоры у поддерживающих гирлянд. Подъем монтажного подвеса и гирлянды изоляторов с проводом и монтажным роликом производится через специальные такелажные блоки, укрепленные на траверсе опоры у места подвеса гирлянды (рис. 3.3).

Справочник по строительству и реконструкции линий электропередачи напряжением 0,4–750 кВ - i_307.png

Рис. 3.3. Схема подъема монтажного подвеса с проводами ВЛ 500 кВ (а) и подъема гирлянды изоляторов с проводами ВЛ 220 кВ (б): 1 – траверса опоры; 2 – блок; 3 – такелажный трос; 4 – монтажное промежуточное звено; 5 – коромысло; 6 – скоба СК-8; 7 – раскаточный ролик; 8 – провод; 9 – коуш; 10 – серьга СР-6; 11 – изолятор;12 – захват

Во избежание перегрузки траверсы устанавливают два отводных блока. Один из них укрепляют на стойке опоры траверсы, а другой – на стойке опоры внизу. Подъемный трос пропускают через блоки и к одному его концу крепят гирлянду или монтажный ролик, а к другому концу – тяговый механизм (трактор, вездеход или другой механизм). Поднятую гирлянду или ролик с проводом присоединяют к узлу крепления гирлянды на траверсе опоры. После подвески всех гирлянд с проводом на одной опоре монтажную оснастку перемещают на другую опору и т. д. После подъема проводов на опоры производят их натягивание. Во время натягивания проводов обе анкерные опоры, между которыми проводится натяжка, должны быть усилены временно устанавливаемыми оттяжками. Если опоры рассчитаны на одностороннее тяжение проводов, оттяжки можно не устанавливать.

Натягивание производят последовательно. К траверсе первой анкерной опоры крепят монтажный ролик, а выше ролика – блок. В монтажный ролик закладывают провод (трос), а через блок пропускают тяговый трос. Один конец троса закрепляют к монтажному зажиму, а другой – к тяговому трактору.

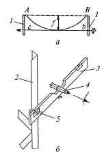
Тяговый механизм (трактор) устанавливают от анкерной опоры на расстоянии не менее 50 м по направлению монтажа. Трактором подтягивают раскатанный провод и на расстоянии, достаточном для выбора слабины провода, устанавливают на проводе монтажный натяжной зажим с закрепленным к нему тросом. Провода подготовлены к натяжке. Одновременно с подготовкой к натягиванию проводов на промежуточных опорах пролетов, в которых будут визироваться стрелы провеса провода, устанавливают визирные рейки, по которым производят глазомерное визирование.

Рейки устанавливают на стойки опор горизонтально, перпендикулярно к натягиваемым проводам. Высоту установки визирных реек определяют как сумму расстояния от места крепления монтажного ролика к траверсе до оси провода, лежащего на раскаточном ролике, и величины провеса. Визирные рейки, установленные на опорах на расчетной высоте, креп ят вязальной проволокой или специальными струбцинами (рис. 3.4).

Справочник по строительству и реконструкции линий электропередачи напряжением 0,4–750 кВ - i_308.png

Рис. 3.4. Схема визирования проводов (а) и приспособление для визирования проводов (б): ab – линия визирования; АВ – прямая, соединяющая точки подвеса гирлянд изоляторов; f – стрела провеса провода; 1 – визирные рейки, укрепленные на опорах; 2 – стойка опоры; 3 – рейка с уровнем; 4 – окуляр; 5 – струбцина для крепления

При анкерном пролете меньше 3 км визирование проводят в двух промежуточных пролетах, а при пролете больше 3 км – в каждой трети анкерного участка.

Визирование проводов производят два электролинейщика, расположенные на опорах так, чтобы глаз наблюдателя был на уровне рейки. При натяжении электролинейщик смотрит на рейку соседней опоры, определяя подъем нижней точки провода до уровня прямой линии, соединяющей обе визирующие линейки. При достижении такого совпадения он подает сигнал другому электролинейщику, который отмечает положение провода на анкерной опоре. При горизонтальном расположении проводов первым визируется средний провод, а при вертикальном – визирование начинается с верхнего провода. Как правило, провод сначала натягивают выше уровня визирования на 0,3–0,5 м и выдерживают на этой высоте 5—10 мин для его вытягивания.

27
{"b":"117380","o":1}