Литмир - Электронная Библиотека
Содержание  
A
A

Для установки в шлейфах в целях уменьшения их раскачивания применяются дистанционные утяжеленные распорки типа РУ. Утяжеленные глухие распорки типа РУ выпускаются только с расстоянием 400 мм между проводами. Для утяжеления этих распорок на их тяги надеваются три литых груза. Технические данные распорок типа РГ приведены в табл. 1.110.

Таблица 1.110

Дистанционные распорки типа РГ

Справочник по строительству и реконструкции линий электропередачи напряжением 0,4–750 кВ - i_184.png
Справочник по строительству и реконструкции линий электропередачи напряжением 0,4–750 кВ - i_185.png

Балласты (рис. 1.26) применяются для предотвращения изменения весовых и ветровых нагрузок на подвеску промежуточных опор, расположенных во впадине, при прохождении ВЛ по пересеченной местности. Для предотвращения этого к поддерживающему зажиму подвешиваются компенсирующие грузы – балласты, масса которых определяется расчетом. Технические характеристики балластов приведены в табл. 1.111.

Справочник по строительству и реконструкции линий электропередачи напряжением 0,4–750 кВ - i_186.png

Рис. 1.26. Балласты к поддерживающим зажимам для одного провода

Таблица 1.111

Балласты

Справочник по строительству и реконструкции линий электропередачи напряжением 0,4–750 кВ - i_187.png

* Регулировка массы балласта через каждые 100 кг.

Предохранительные муфты типа МПР (рис. 1.27) предназначены для защиты провода от повреждения при соприкосновении с арматурой. Технические данные муфт МПР приведены в табл. 1.112.

Справочник по строительству и реконструкции линий электропередачи напряжением 0,4–750 кВ - i_188.png

Рис. 1.27. Предохранительные муфты типа МПР

Таблица 1.112

Предохранительные муфты типа МПР

Справочник по строительству и реконструкции линий электропередачи напряжением 0,4–750 кВ - i_189.png

Защитные муфты типа МЗ (рис. 1.28) предназначены для защиты алюминиевых и ста леалюминиевы х проводов от повреждени я в многороликовых подвесах. Технические данные этих муфт приведены в табл. 1.11З.

Справочник по строительству и реконструкции линий электропередачи напряжением 0,4–750 кВ - i_190.png

Рис. 1.28. Защитные муфты типа МЗ

Таблица 1.113

Защитные муфты типа МЗ

Справочник по строительству и реконструкции линий электропередачи напряжением 0,4–750 кВ - i_191.png

Примечание. При монтаже опрессовываются первое и последнее звенья муфты шестигранными матрицами на участке, равном 100 мм.

Гасители вибрации устанавливаются на проводах и тросах линий электропередачи для защиты проводов от вибрации и предупреждения их повреждения от усталости, вызываемой вибрацией. Для установки на проводах ВЛ применяются гасители типа ГВН, ГПГ и ГПС (рис. 1.29), в табл. 1.114—1.116 приведены их технические характеристики. Гасители вибрации всех типов снабжены плашками с пониженными магнитными потерями. Марка гасителя выбирается в зависимости от типа провода, длины пролета и тяжения. Для неметаллических оптических кабелей, встроенных в грозозащитный трос диаметром 24 мм, примен яются гасители вибрации типа ГВ 0,4/0,8/0,1-27.

Справочник по строительству и реконструкции линий электропередачи напряжением 0,4–750 кВ - i_192.png

Рис. 1.29. Гасители вибрации:

а – типа ГВН и ГПГ с глухим креплением на проводе;

б – типа ГПС, сбрасывающийся для перехода

Таблица 1.114

Гасители вибрации типа ГВН с глухим креплением на проводе (см. рис. 1.29, а)

Справочник по строительству и реконструкции линий электропередачи напряжением 0,4–750 кВ - i_193.png

Таблица 1.115

Гасители вибрации типа ГПГ с глухим креплением на проводе (см. рис. 1.29, а)

Справочник по строительству и реконструкции линий электропередачи напряжением 0,4–750 кВ - i_194.png
Справочник по строительству и реконструкции линий электропередачи напряжением 0,4–750 кВ - i_195.png

Таблица 1.116

Сбрасывающиеся гасители вибрации типа ГПС (см. рис. 1.29, б)

Справочник по строительству и реконструкции линий электропередачи напряжением 0,4–750 кВ - i_196.png
Справочник по строительству и реконструкции линий электропередачи напряжением 0,4–750 кВ - i_197.png

Провода ВЛ напряжением 6—10 кВ, смонтированные на подвесных изоляторах, защищаются от вибрации путем установки гасителей вибрации петлевого типа (рис. 1.30 и табл. 1.117). Роль гасителя выполняет петля, выполненная из отрезка провода той же марки, что и основной провод, смонтированный на линии. Конструкция такого гасителя вибрации обеспечивает надежную работу проводов сечением от 25 до 95 мм2.

Справочник по строительству и реконструкции линий электропередачи напряжением 0,4–750 кВ - i_198.png

Рис. 1.30. Гаситель вибрации петлевого типа:

1 – основной провод; 2 – петля из провода; 3 – проволочная вязка на концах петли; 4 – поддерживающий зажим

Таблица 1.117

Петлевые гасители вибрации для проводов ВЛ 6—10 кВ (см. рис. 1.30)

Справочник по строительству и реконструкции линий электропередачи напряжением 0,4–750 кВ - i_199.png

Защитные спиральные протекторы предназначены для защиты проводов марки АС от вибрации и изготавливаются следующих модификаций:

ПЗС-Бпр-01 – для защиты проводов от вибрации в местах выхода провода из лодочки поддерживающего зажима;

ПЗС-Бпр-11 – для защиты провода от вибрации и повышенных раздавливающих нагрузок в местах установки гасителей вибрации;

ПЗС-Бпр-31 – для защиты проводов от вибрации в местах выхода провода из соединительного зажима типа САС, СОАС и т. п.

Маркировка зажима указывает: П – протектор; З – защитный; Эпр – диаметр провода; две последние цифры (01) – модификация зажима.

Протектор представляет собой комплект отдельных спиралей или склеенных прядей, навиваемых на поверхность провода в месте установки зажима, гасителя, ролика. Основные параметры защитных спиральных протекторов представлены в табл. 1.118.

Таблица 1.118

Защитные протекторы ПЗС

Справочник по строительству и реконструкции линий электропередачи напряжением 0,4–750 кВ - i_200.png

1.6.9. Натяжная арматура

Натяжение проводов и крепление их к анкерно-угловым опорам осуществляется с помощью натяжных зажимов различной конструкции, размеры и механическая прочность которых должны соответствовать размерам и механической прочности натягиваемого провода или каната.

Зажимы воспринимают нагрузку от тяжения проводов (канатов) в нормальном режиме при воздействии на них ветра и гололеда. Зажимы должны обеспечивать прочность заделки проводов (канатов) не ниже 90 % расчетной прочности проводов (канатов) на разрыв, а также надежный электрический контакт.

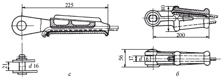
В зависимости от конструкции и способа монтажа натяжные зажимы подразделяются на клиновые, болтовые, заклинивающиеся и прессуемые. Они могут быть разъемные и неразъемные. Для алюминиевых проводов сечением от 16 до 95 мм2 применяются простые клиновые зажимы типа НК (рис. 1.31, а и табл. 1.119).

Справочник по строительству и реконструкции линий электропередачи напряжением 0,4–750 кВ - i_201.png

Рис. 1.31. Клиновые зажимы: а – НК-1-1; б – НКК-1-1Б

Таблица 1.119

Клиновой зажим марки НК-1-1

Справочник по строительству и реконструкции линий электропередачи напряжением 0,4–750 кВ - i_202.png

* Соединяется с ушками У1-7-16 и У1К-7-16.

Для крепления сталеалюминиевых проводов сечением от 10 до 50 мм2 и стальных канатов сечением от 25 до 86 мм2 применяются натяжные зажимы «клин-коуш» типа НКК (рис. 1.31, б и табл. 1.120).

Таблица 1.224

Натяжной зажим типа НКК

Справочник по строительству и реконструкции линий электропередачи напряжением 0,4–750 кВ - i_203.png

* Соединяется с ушками У1-7-16 и У1К-7-16.

** Соединяется с ушком У1-12-16.

13
{"b":"117380","o":1}