Литмир - Электронная Библиотека
Содержание  
A
A

Соединение типа сферический шарнир и его функциональные размеры указаны в табл. 1.74 (рис. 1.7).

Справочник по строительству и реконструкции линий электропередачи напряжением 0,4–750 кВ - i_116.png

Рис. 1.7. Сферическое шарнирное соединение:

d1 – диаметр пестика; D1 – диаметр гнезда; Р – зазор между пестиком и днищем гнезда; S – размер, определяющий надежность фиксации пестика в гнезде; Т – номинальная высота замка

Таблица 1.74

Сферические шарнирные соединения

Справочник по строительству и реконструкции линий электропередачи напряжением 0,4–750 кВ - i_117.png

Для предотвращения расцепления сферического соединения линейной арматуры устанавливаются V-образные и W-образные замки (рис. 1.8). Марки замков соответствуют условным размерам сферических шарнирных соединений (табл. 1.75).

Справочник по строительству и реконструкции линий электропередачи напряжением 0,4–750 кВ - i_118.png

Рис. 1.8. Замки для запирания сферических шарнирных соединений (СШС) изоляторов: а – W-образные; б – V-образные

Таблица 1.75

Замки типа W– и V-образных сферических шарнирных соединений

Справочник по строительству и реконструкции линий электропередачи напряжением 0,4–750 кВ - i_119.png

Пружинные замки изготовляются из нержавеющей стали или фосфористой бронзы для обеспечения хороших пружинных свойств и их высокой коррозийной стойкости.

1.6.2. Сцепная арматура

Сцепная арматура предназначается для соединения элементов изолирующих подвесок и крепления проводов и грозозащитных тросов к опоре и подразделяется на универсальную и специальную. К специальной сцепной арматуре относятся серьги, ушки и узлы крепления гирлянд к опорам.

Узлы крепления располагаются в гирлянде всегда в определенной последовательности: узел крепления – только в начале гирлянды, а серьги и ушки, как правило, соединяются только с изоляторами.

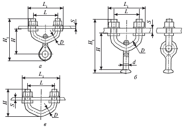
Конструкции серьги типов СР и СРС представлены на рис. 1.9, их основные размеры даны в табл. 1.76.

Справочник по строительству и реконструкции линий электропередачи напряжением 0,4–750 кВ - i_120.png

Рис. 1.9. Серьги: а – типа СР; б – типа СРС

Таблица 1.76

Серьги типов СР и СРС

Справочник по строительству и реконструкции линий электропередачи напряжением 0,4–750 кВ - i_121.png

Ушки предназначены для соединения стержня подвесного изолятора или серьги с другой линейной арматурой. Для запирания стержня изолятора или пестика серьги в гнезде ушки комплектуются W-образными замками.

Ушки для воздушных линий электропередачи выпускаются следующих типов:

У1 – однолапчатые;

У1К – однолапчатые укороченные;

У2 – двухлапчатые;

У2К – двухлапчатые укороченные;

УС – специальные с гнутым пальцем;

УСК – специальные укороченные с гнутым пальцем.

Ушки укороченных типов У1К, У2К служат для комплектования изолирующих подвесок и тросовых креплений без защитной арматуры (разрядных рогов и защитных экранов), что сокращает длину подвески и уменьшает ее массу.

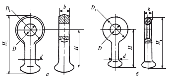
Ушки типов УС и УСК имеют гнутый палец, благодаря чему обеспечивается шарнирное соединение цепного типа со скобами типа СК или арочной подвеской поддерживающего зажима. Ушки типа УС имеют в средней части более тонкое плоское ребро с отверстиями или вырезками для крепления защитных экранов и разрядных рогов.

Конструкция и основные размеры ушек приведены на рис. 1.10– 1.13 и представлены в табл. 1.77—1.80.

Справочник по строительству и реконструкции линий электропередачи напряжением 0,4–750 кВ - i_122.png

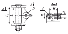
Рис. 1.10. Однолапчатые (а, б) и укороченные (в) ушки типов У1 и У1К

Справочник по строительству и реконструкции линий электропередачи напряжением 0,4–750 кВ - i_123.png

Рис. 1.11. Двухлапчатые (а, б) и укороченные (в) ушки типов У2 и У2К

Справочник по строительству и реконструкции линий электропередачи напряжением 0,4–750 кВ - i_124.png

Рис. 1.12. Специальные ушки типа УС

Справочник по строительству и реконструкции линий электропередачи напряжением 0,4–750 кВ - i_125.png

Рис. 1.13. Специальные ушки укороченные типа УСК

Таблица 1.77

Однолапчатые ушки типов У1 и У1К

Справочник по строительству и реконструкции линий электропередачи напряжением 0,4–750 кВ - i_126.png

Таблица 1.78

Двухлапчатые ушки типов У2 и У2К

Справочник по строительству и реконструкции линий электропередачи напряжением 0,4–750 кВ - i_127.png

Таблица 1.79

Специальные ушки типа УС

Справочник по строительству и реконструкции линий электропередачи напряжением 0,4–750 кВ - i_128.png
Справочник по строительству и реконструкции линий электропередачи напряжением 0,4–750 кВ - i_129.png

Таблица 1.80

Специальные укороченные ушки типа УСК (см. рис. 1.13)

Справочник по строительству и реконструкции линий электропередачи напряжением 0,4–750 кВ - i_130.png

Рекомендации по выбору арматуры при комплектовании изолирующих подвесок приведены в табл. 1.81.

Выбор арматуры других видов производится в зависимости от конструкции изолирующих подвесок (количества цепей изоляторов, числа проводов в фазе, типа изолирующих подвесок и т. п.).

Таблица 1.81

Выбор сцепной арматуры в зависимости от типа изолятора

Справочник по строительству и реконструкции линий электропередачи напряжением 0,4–750 кВ - i_131.png
Справочник по строительству и реконструкции линий электропередачи напряжением 0,4–750 кВ - i_132.png

Примечание. Серьга СРС-7-16 имеет круглое сечение проушины и предназначена для соединения с V-образным болтом на опоре.

1.6.3. Узлы крепления изолирующих подвесок к опорам

Узлы крепления типов КГП, КГ, КГТ, КГН предназначены для крепления натяжных и поддерживающих изолирующих подвесок к опорам воздушных линий электропередачи и распределительных устройств.

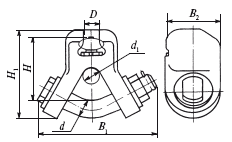
Узлы крепления типа КГП представляют собой усиленный вариант крепления натяжных и поддерживающих изолирующих подвесок. Узлы крепления типа КГ крепятся к опорам через четыре отверстия путем затяжки гаек V-образных болтов. После затяжки гайки фиксируются от самоотвинчивания раскерниванием. Узлы крепления марки КГТ-7-1 предназначены для крепления поддерживающих подвесок грозозащитных тросов к деревянным опорам и имеют разрушающие нагрузки не менее 70 кН. Узлы крепления типа КГН служат для крепления изолирующих подвесок на специальных переходах с большими механическими нагрузками. Они позволяют осуществить привязку к опорам трубчатых и других конструкций.

Узлы крепления изолирующих подвесок и их основные размеры приведены на рис. 1.14—1.16 и в табл. 1.82—1.84.

Справочник по строительству и реконструкции линий электропередачи напряжением 0,4–750 кВ - i_133.png

Рис. 1.14. Узлы крепления типа КГП

Справочник по строительству и реконструкции линий электропередачи напряжением 0,4–750 кВ - i_134.png

Рис. 1.15. Узлы крепления типа КГ

Справочник по строительству и реконструкции линий электропередачи напряжением 0,4–750 кВ - i_135.png

Рис. 1.16. Узлы крепления типа КГН

Таблица 1.82

Узлы крепления типа КГП

Справочник по строительству и реконструкции линий электропередачи напряжением 0,4–750 кВ - i_136.png

Таблица 1.83

Узлы крепления типа КГ

Справочник по строительству и реконструкции линий электропередачи напряжением 0,4–750 кВ - i_137.png
Справочник по строительству и реконструкции линий электропередачи напряжением 0,4–750 кВ - i_138.png

Таблица 1.84

Узлы крепления типа КГН (см. рис. 1.16)

Справочник по строительству и реконструкции линий электропередачи напряжением 0,4–750 кВ - i_139.png
Справочник по строительству и реконструкции линий электропередачи напряжением 0,4–750 кВ - i_140.png

1.6.4. Скобы

Скобы относятся к универсальной соединительной арматуре и предназначаются для перехода с шарнирного цепного соединения на соединение типа «палец-проушина», изменения расположения оси шарнирности, соединения арматуры, рассчитанной на разные нагрузки.

Скобы могут быть применены в любой комбинации с другими типами соединительной арматуры, в начале или в конце, что и определяет их полную универсальность.

Скобы выпускаются следующих типов: СК, СКД – с цепным шарниром; СКТ – трехлапчатые плоские.

Скобы типов СК и СКД с одной стороны имеют двухлапчатую проушину, а с другой стороны обеспечивают шарнирное цепное соединение. Скобы типа СК позволяют осуществлять переход со скобы одного ряда нагрузок на скобы соседнего (большего или меньшего) ряда нагрузок через цепное соединение.

10
{"b":"117380","o":1}