Литмир - Электронная Библиотека
Содержание  
A
A

для исполнения У3 – II тип (примерно соответствует атмосфере промышленных районов); для исполнения Т3 – III тип. КСО не предназначено для эксплуатации в среде, подвергающейся усиленному загрязнению, действию газов, испарений и химических отложений, вредных для изоляции, а также в среде, опасной в отношении взрыва и пожара. Конструкция КСО сейсмостойка во всем диапазоне сейсмических воздействий землетрясений до 9 баллов по шкале MSK 64 включительно на уровне 25 м по ГОСТ 17516.1—90*.

КСО соответствует требованиям ТУ 3414-056-00110473—2003 (табл. 2.4).

Таблица 2.4

Технические характеристики КСО

Справочник по строительству и реконструкции линий электропередачи напряжением 0,4–750 кВ - i_265.png

* Стойкость камер определяется стойкостью встроенных трансформаторов тока

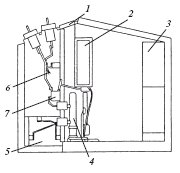
Комплектное распределительное устройство (рис. 2.2) напряжением 6-15 кВ на токи 630-3150 А СЭЩ-68 (далее КРУ СЭЩ-68) предназначено для приема и распределения электрической энергии переменного трехфазного тока промышленной частоты 50 и 60 Гц напряжением 6; 10 и 15 кВ.

Справочник по строительству и реконструкции линий электропередачи напряжением 0,4–750 кВ - i_266.png

Рис. 2.2. Комплектное распределительное устройство КРУ: 1 – изолятор проходной; 2 – релейный шкаф; 3 – блок релейных шкафов; 4 – высоковольтный выключатель; 5 – отсек сборных шин; 6 – заземляющий разъединитель; 7 – трансформатор тока

КРУ СЭЩ-68 применяется в качестве распределительных устройств 6-15 кВ, в том числе распределительных устройств трансформаторных подстанций, включая комплектные трансформаторные подстанции (блочные) 35/6-10 кВ, 110/6-10 кВ, 110/35/6-10 кВ, для электрических сетей промышленности, сельского хозяйства, электрических станций и электрификации железнодорожного транспорта.

КРУ СЭЩ-68 напряжением 6-10 кВ применяются в системе собственных нужд тепловых и атомных станций и предназначены для эксплуатации в системе АЭС класса 20 (для систем аварийного электроснабжения) и ЗН (для систем нормальной эксплуатации) по классификации ОПБ-88/97 (ПНАЭГ-01-011—97).

Шкафы КРУ СЭЩ-68 предназначены для работы внутри помещения (климатическое исполнение У3 и Т3 по ГОСТ 15150—69*) при следующих условиях:

высота над уровнем моря до 1000 м;

верхнее рабочее (эффективное) значение температуры окружающего воздуха для исполнения У3 – не выше 40 °C, для исполнения Т3 – 45 °C;

нижнее значение температуры окружающего воздуха для исполнения У3 – минус 25 °C, для исполнения Т3 – минус 10 °C; атмосфера типа II по ГОСТ 15150—69* (примерно соответствует атмосфере промышленных районов) для исполнения У3, типа III по ГОСТ 15150—69* – для исполнения Т3. Конструкция КРУ СЭЩ-68 сейсмостойка во всем диапазоне сейсмических воздействий землетрясения до 9 баллов по шкале MSK 64 включительно на уровне 25 м по ГОСТ 17516.1—90*.

При необходимости применения КРУ СЭЩ-68 в помещениях с температурой окружающего воздуха ниже минус 25 °C в шкафах КРУ предусматривается установка нагревательных элементов, обеспечивающих нормальные температурные условия работы комплектующей аппаратуры, включающихся автоматически при понижении температуры ниже минус 25 °C.

КРУ СЭЩ-68 соответствует требованиям ГОСТ 14693—90 (табл. 2.5).

Таблица 2.5

Технические характеристики КРУ СЭЩ-68

Справочник по строительству и реконструкции линий электропередачи напряжением 0,4–750 кВ - i_267.png
Справочник по строительству и реконструкции линий электропередачи напряжением 0,4–750 кВ - i_268.png

Малогабаритное устройство комплектное распределительное серии К-66 предназначено для приема и распределения электрической энергии переменного трехфазного тока частотой 50 Гц напряжением 6 – 10 кВ и номинальным током 630—1000 А. КРУ серии К-66 применяются в качестве распределительных пунктов городских и промышленных подстанций (мощностью силового трансформатора до 10 000 кВА), для электрических сетей помышленности, сельского хозяйства, электрических станций и электрификации железнодорожного транспорта.

КРУ серии К-66 предназначены для работы внутри помещений (климатическое исполнение У3 по ГОСТ 15150—69*) при следующих условиях:

высота над уровнем моря до 1000 м;

нижнее значение температуры окружающего воздуха минус 25 °C;

тип атмосферы – II по ГОСТ 15150—69* для исполнения У3 (примерно соответствует атмосфере промышленных районов).

Конструкция К-66 сейсмостойка во всем диапазоне сейсмических воздействий землетрясения до 9 баллов по шкале MSK 64 включительно на уровне 0 м по ГОСТ 17516.1—90*. КРУ серии К-66 специально разработана для установки в стесненных условиях; малые габариты шкафов КРУ серии К-66 несколько затрудняют эксплуатацию установленного внутри оборудования, поэтому к выбору шкафов данной серии следует подходить обдуманно.

При необходимости шкафы КРУ серии К-66 могут применяться в составе распредустройства из шкафов КСО-ЗСЭЩ с выключателями нагрузки. Стыковка шкафов КСО-ЗСЭЩ со шкафами КРУ серии К-66 производится с помощью переходного шкафа шириной 400 мм, входящим в состав поставки КРУ серии К-66 (табл. 2.6).

Таблица 2.6

Технические данные характеристики КРУ серии К-66

Справочник по строительству и реконструкции линий электропередачи напряжением 0,4–750 кВ - i_269.png
Справочник по строительству и реконструкции линий электропередачи напряжением 0,4–750 кВ - i_270.png

ОАО «Мосэлектрощит» изготавливает комплектные распределительные устройства (КРУ) и камеры КСО внутренней установки следующих серий:

для приема и распределения электроэнергии – К-104М, К-104МС1 двухстороннего обслуживания и серии К-XXVI – одностороннего обслуживания;

для обеспечения вводов и секционирования – К-105, К-105С1 двухстороннего обслуживания и серии К-XXVII – одностороннего обслуживания. Эти серии КРУ могут применяться и для отходящих линий при расчетном токе присоединения более 1600 А;

для приема и распределения электрической энергии – КСОМЭЩ-2001.

Для повышения надежности ЛЭП 6 и 10 кВ «Мосэлектрощит» изготавливает комплектные устройства (КУ) серии К-112 наружной установки для секционирования ЛЭП с двухсторонним и односторонним питанием; автоматического ввода резерва, местного резервирования; плавки гололеда.

К-123 – комплектное устройство имеет то же назначение, что и К-112; но обладает следующими преимуществами:

разъединители на вводе и выводе установлены внутри шкафа;

в схему главных цепей включены группа измерительных трансформаторов тока, напряжения и защиты от замыкания на землю;

устройство собрано в одном корпусе со шкафом аппаратуры вспомогательных цепей;

шкаф разделен металлическими перегородками, отделяющими отсек выключателя от отсека разъединителей и между разъединителями;

каждый отсек имеет разгрузочный клапан, осуществляющий защиту от электродуговых коротких замыканий.

Устройство К-123 изготавливается с 2006 г., его технические данные аналогичны КУ К-112.

К-128 изготавливается по схемам главных и вспомогательных цепей от К-104М (К-104МС1) и на те же технические параметры.

Основные отличия К-128 от К-104М:

перемещение переключателя из контрольного положения в рабочее и обратно осуществляется при закрытых дверях;

кнопка аварийного отключения выключателя установлена на фасадной двери шкафа.

Основные отличия К-129 от КРУ К-128:

шкафы одностороннего обслуживания;

сборные шины расположены сверху;

расположение выкатного выключателя среднее.

Шкафы К-129 изготавливаются на номинальные токи от 630 до 3150 А, другие параметры аналогичны К-104М и К-105.

Шкафы КРУ К-125 рассчитаны на два присоединения в одном шкафу габаритном шкафа КРУ К-104М. В шкафах применяются вакуумные или элегазовые выключатели.

Шкафы К-125 имеют следующие технические параметры:

Номинальное напряжение, Кв – 6, 10.

Номинальный ток, А – 630, 800, 1000.

Номинальный ток сборных шин, А – 1000.

19
{"b":"117380","o":1}