Литмир - Электронная Библиотека
Содержание  
A
A

Затем запрос ввода-вывода посылается в виде сообщения в очередь, находящуюся ниже MI и принадлежащую IOM станции. IOM станции — это программа SLIC, которая принимает запросы от FM для установления соединений (иногда называемых сессиями) с удаленными системами, устройствами или приложениями. IOM станции отвечает за обработку средних уровней протокола коммуникаций. В состав функций среднего уровня входит, среди прочих, управление путями коммуникаций — каждому из них соответствует определенный IOM станции: например, поддерживающий коммуникации «точка-точка», или коммуникации с центральными системами, такими как System/390. Другой IOM станции обеспечивает подключение ПК, использующих протокол LU 6.2. В нашем примере необходимо соединение «точка-точка» с удаленной системой, заданной в операторе SQL CONNECT. Следовательно, мы будем использовать IOM станции для APPN. Этот IOM станции дополняет запрос управляющей информацией, необходимой для удаленной сессии. Он также обеспечивает интерфейс между FM и IOM линии.

IOM станции использует для данного соединения описание котроллера CTLD, в MI — CD. CD — это конфигурационный объект, содержащий информацию об удаленной системе (ее адрес, имя порта управления APPN и другие необходимые параметры). Руководствуясь информацией из CD, IOM станции добавляет к запросу ввода-вывода команды или необходимую управляющую информацию, а затем IOM станции посылает запрос ввода-вывода в очередь IOM линии.

IOM линии реализует протоколы канала. Он обеспечивает для IOM станции прозрачный интерфейс, не зависящий от нижележащего канального протокола и используемой сети. В нашем примере мы собираемся воспользоваться протоколом SDLC (synchronous data link communications).

IOM линии управляет передачей данных и определяет физические подключения к линии. Для этого он использует описание линии LIND, которому в MI соответствует описание сети ND, а для линии SDLC добавляет к запросу необходимые управляющие символы. IOM линии также обеспечивает интерфейс между верхними слоями коммуникационного протокола и аппаратным соединением.

Далее запрос передается средству связи между процессами IPCF, расположенному в SLIC. IPCF используется для всех устройств; оно взаимодействует с аппаратурой ввода-вывода для отправки запроса IOP на плате адаптера по шине SPD. С помощью LUD (DEVD указан в SSR) IPCF определяет, что в нашем примере используется модем, подсоединенный к плате адаптера, а та, в свою очередь, — к физической линии связи. Вскоре мы поговорим, как именно выполняется передача; но сначала нужно рассмотреть блоки управления вводом-выводом, позволяющие SLIC работать с аппаратурой.

Блоки управления ввода-вывода и связи между ними показаны на рисунке 10.3. Блоки содержат всю информацию, необходимую IPCF для поиска устройства. Эта информация в виде таблиц находится в памяти, где она доступна как аппаратуре, так и ПО, и обновляется во время загрузки системы, когда назначаются адреса IOBU. Обратите внимание, что стрелки на рисунке 10.3 соответствуют адресам, тогда как на рисунке 10.2 — передачам управления.

CAT

Основы AS/400 - img_124.jpeg

Рисунок 10.3. Блок управления вводом-выводом

Кроме того, на рисунке 10.3 показаны семь блоков управления. Давайте рассмотрим их подробней[ 79 ].

1. Управляющая адресная таблица (CAT) — эта общесистемная таблица, в которой содержатся адреса основных блоков управления, используемых SLIC.

Очередь свободных сообщений (AMQ) — это очередь незаполненных сообщений, на которую указывает один из адресов в CAT. Сообщения из этой очереди могут использоваться различными компонентами SLIC, включая IPCF.

Таблица управления шиной (BCT) содержит буферы, SRQ и указатели на другие блоки управления. На каждую шину SPD приходится по одной BCT.

Блок устройства шины (BUB) содержит информацию о различных подключенных к шине устройствах. На каждую шину SPD приходится по одному BUB. Здесь размещается очередь сообщений ввода-вывода, ожидающих завершения операции.

Обратите внимание, что этот BUB не то же самое, что BUB (Bring Up Bind), о котором говорилось в главе 3. Тот BUB использовался для оценки прогресса в разработке SLIC, и, возможно, мне не следовало его упоминать, чтобы не путать читателей.

Удаленный CCB ( или удаленный CGCB) — имеется по одному для каждой шины SPD в системе, а также для каждого идентификатора подключения, назначенного IOBU. Этот управляющий блок хранит для удаленных (находящихся вне процессора) IOBU идентификаторы устройств, состояния и адресов IOBU. Некоторые IOBU могут поддерживать несколько устройств и, соответственно, иметь несколько идентификаторов подключения.

Локальный CCB (или локальный CGCB) — один из этих блоков также имеется для каждой шины SPD в системе. Они очень похожи на удаленные блоки, но содержат информацию об IOBU, подключенных локально (внутри процессора).

7.Блок управления подключениями (CCB) — один для всей системы. Он содержит

идентификаторы подключений и маршруты для всех шин SPD, а также обеспечивает доступ к информации подключений для каждой отдельной шины.

Как все это работает

Основы AS/400 - img_125.jpeg

В этом разделе мы продолжим разговор о вводе-выводе на примере шины SPD. Мы рассмотрим подробности низкоуровневых операций, выполняемых ниже IPCF и очень специфичных для структуры шины SPD, используемой как в старых, так и в новых моделях AS/400. Чтобы представить себе операцию ввода-вывода по SPD в целом, проследим ее с самого начала, когда приложение запрашивает выполнение ввода-вывода, и до момента получения приложением уведомления о завершении операции.

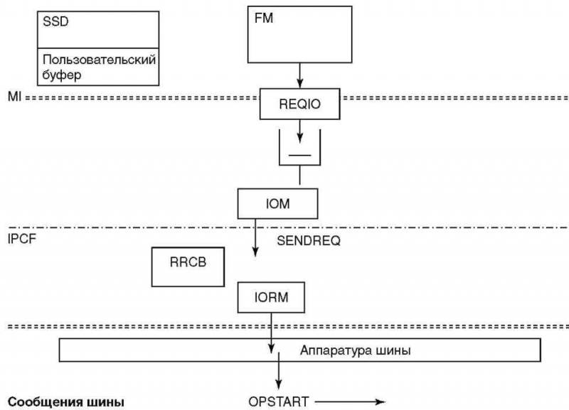
Иллюстрировать наш рассказ будет рисунок 10.4, представляющий собой несколько упрощенную версию рисунка 9.2. На нем показаны действия, выполняющиеся до посылки сообщения о начале операции («Opstart») по шине SPD соответствующему

IOP.

На рисунке изображена команда MI «REQIO», а также SPD и пользовательский буфер. Для простоты показан только один IOM. Как и раньше, запрос посылается в очередь IOM. Когда IOM завершает свою обработку, запрос на передачу («SENDREQ») отправляется IPCF. Именно здесь мы ранее остановились, рассматривая пример.

Для операции ввода-вывода IPCF создает две структуры данных. Первая — это сообщение запроса ввода-вывода (IORM), позволяющее IPCF отслеживать выполнение этого запроса и хранить информацию о его отправителе. Вторая структура данных — это блок управления запросом-ответом (RRCB). С его помощью IOP на плате адаптера SPD определяет тип запрошенной операции, расположение в памяти данных, которые должны быть считаны или записаны, а также то, куда следует поместить состояние завершения. Эта структура данных получает информацию от семи блоков управления, изображенных на рисунке 10.3

Основы AS/400 - img_126.jpeg

Форматы IORM и RRCB показаны на рисунке 10.5. Здесь также представлен формат двух сообщений шины SPD, используемых для начала и завершения операции ввода-вывода.

Основы AS/400 - img_127.jpeg

Рисунок 10.5 Структуры данных IPCF

Рисунок 10.4. Операция ввода-вывода (начало)

IORM — это сообщение, указывающее, кто запросил данную операцию ввода-вывода, или, точнее, кого следует уведомить о ее завершении. Поля сообщения задают его тип и адрес блока устройства шины. Этот адрес показывает, где расположен BUB для шины SPD, а также IOP для устройства, которому послан запрос. Данное сообщение будет поставлено в очередь, связанную с указанным BUB, на все время ожидания завершения ввода-вывода. Постановка в очередь означает, что IPCF сохраняет в BUB адрес данного IORM. В очереди одного BUB одновременно может находиться более одного IORM, то есть на шине SPD может одновременно быть несколько ожидающих операций.

вернуться

79

Учтите, что приведенная в списке информация специфична для устройств, подключенных к шине SPD. Впрочем, реализация для PCI концептуально мало чем отличается от описанной.

94
{"b":"137615","o":1}