Компоненты ввода-вывода
4 Денис! Эту сноску — на поля! Таблица по старому изданию, сравнить с новым. Для верстальщика: по-моему, стоит убрать рамку — будет красивее
Таблица 10.1. Язык ввода-вывода
| AMQ | Очередь свободных сообщений |
| BCT | Таблица управления шиной |
| BCU | Устройство управления шиной |
| BTM | Механизм транспорта шины |
| BUB | Блок устройства шины |
| BUM | Сообщение устройства шины |
| CAT | Управляющая адресная таблица |
| CCB | Блок управления подключениями |
| CGCB | Блок управления группой подключений |
| CID | Идентификатор подключения |
| FBR | Запись отклика |
| IOBU | Устройство шины ввода-вывода (IOP) |
| IORM | Сообщение запроса ввода-вывода |
| IPCF | Средство связи между процессами |
| MIRQ | Очередь ответов MI |
| RID | Идентификатор запроса |
| RRCB | Блок управления запросом-ответом |
| SSD | Данные источника-стока |
| SSR | Запрос источника-стока |
Думаю, Вас уже не удивляет, что ввод-вывод, как и практически все остальные компоненты AS/400, оперирует собственной терминологией и набором аббревиатур. Чтобы рассуждать о вводе-выводе, с этими обозначениями4 необходимо познакомиться. Список сокращений, которые я собираюсь использовать в своем рассказе, приведен в таблице 10.1. Это язык ввода-вывода.
Как уже говорилось, сегодня в устройствах ввода-вывода AS/400 все еще преобладает шина SPD. Поэтому рассказ о вводе-выводе в следующих разделах я буду иллюстрировать примерами именно для этой шины, при необходимости, отмечая существенные отличия с вводом-выводом по шине PCI. Впрочем, везде, за исключением самих нижних уровней SLIC, эти различия незначительны. Архитектура ввода-вывода AS/400 предназначена для работы с самыми разными интерфейсами, так что добавление в будущем новых интерфейсов окажет минимальное влияние на существующее системное ПО. И конечно, с точки зрения приложений никаких различий вообще нет; это гарантируется архитектурой, не зависящей от технологии.
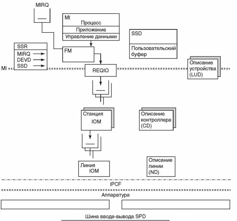
Структура ввода-вывода SPD для AS/400, от MI до средства связи между процессами (IPCF) в SLIC, представлена на рисунке 10-2. В верхней части рисунка показан процесс MI — пример пользовательской прикладной программы, выполняющейся в системе.
Рисунок 10.2. Структура ввода-вывода AS/400
В главе 8 для пояснения к рассказу об одноуровневой памяти мы использовали похожий простой пример. Теперь расширим этот пример для иллюстрации операций ввода-вывода. Если Вы помните, тогда прикладная программа выполняла последовательное чтение индексированного файла базы данных, которое, могло быть выполнено либо с помощью команды «Read» ЯВУ, либо с помощью команды: SQL «FETCH». Результатом в обоих случаях — запрос на выполнение операции ввода-вывода для считывания записи с диска. Чтобы сделать пример более интересным, предположим, что вместо считывания записи с диска, подключенного к локальной машине, нужно считать запись из удаленной системы на другом конце линии связи, используя для этого команду SQL.
В главе 6 мы говорили, что интерфейс SQL использует для доступа к удаленным данным DRDA (Distributed Relational Database Architecture). Прежде чем выполнить запрос SQL, нашей программе следует выполнить оператор SQL CONNECT, чтобы задать имя удаленной базы данных в каталоге реляционной базы. После установления связи между двумя системами на удаленную систему может быть послан запрос SQL. Менеджер базы данных удаленной системы выполняет этот запрос и возвращает полученные в результате записи запросившей их системе.
Мы также говорили, что для доступа к удаленной базе данных можно использовать архитектуру DDM (Distributed Data Management). В этом случае обработка файла выполняется на локальной системе. DDM возвращает локальной системе все записи файла, тогда как DRDA — только записи, соответствующие критерию выборки. Выбор для нашего примера интерфейса SQL предполагает использование DRDA. Обработка выполняется на удаленной системе, и мы увидим только ее результаты. Выполнение команды SQL «FETCH» требует четырех операций ввода-вывода: двух — на локальной машине (для отправки запроса SQL и для получения ответа) и двух соответствующих им — на удаленной.
Механизм коммуникаций в AS/400 разбит на слои между OS/400, SLIC и аппаратурой. В нашем примере четыре слоя обработки, а именно:
прикладная поддержка;
менеджер функций;
менеджер ввода-вывода (IOM) станции;
IOM линии.
Аппаратный уровень будет рассмотрен в следующем разделе.
В OS/400 может работать прикладная поддержка коммуникаций, предоставляемая как пользователем, так и IBM. Пользовательская поддержка коммуникаций подключается с помощью API, хотя, конечно, такой поддержкой обладает далеко не каждая прикладная программа. В нашем примере, прикладная поддержка предоставляется компонентом DRDA базы данных AS/400.
Менеджер функций (FM) — это компонент OS/400, предоставляющий интерфейс между приложениями и MI. Для каждого «транспорта» коммуникаций в SLIC обычно имеется соответствующий FM в OS/400. FM отвечает за верхние уровни протокола коммуникаций, например за то, чтобы данные были представлены приложению в той форме, в которой оно этого ожидает.
В нашем примере используется FM для механизма коммуникаций, называемого APPC (advanced program-to-program communications). Впервые АРРС был реализован в System/38, где поддерживал параллельные сессии между системами, позволяя таким образом взаимодействовать нескольким приложениям на разных системах. При этом применялся коммуникационный протокол LU 6.2 (logical unit type 6.2). Порт для посылки и приема данных от приложения на другой системе предоставляло прикладной программе логическое устройство (logical unit).
В AS/400 этот механизм был расширен до уровня APPN (advanced peer-to-peer networking), чтобы удовлетворить потребности распределенной обработки, как в ЛВС, так и в глобальных сетях. APPN, в частности, определяет по распределенному сетевому каталогу местонахождение любой удаленной системы, запрошенной локальным приложением. При наличии нескольких маршрутов между локальной и удаленной системами, APPN на основании выбранного пользователем класса обслуживания вычисляет наилучший. В последних нескольких версиях AS/400 в APPN были добавлены дополнительные функции, включая автоматическое конфигурирование при получении входящего запроса на соединение от неизвестной системы, непосредственно подключенной к ЛВС. Другое новое расширение APPN — поддержка работы по разным сетям, что позволяет приложениям, написанным для API APPC/LU 6.2 без модификации взаимодействовать с удаленным приложением, даже если сетевые сервисы предоставляются несколькими системами.
В нашем примере оператор SQL CONNECT задает устройства, которое должно использоваться в данном запросе ввода-вывода. Предположим, что это устройство — не сетевой адаптер, а модем. Поддержка DRDA в базе данных передает управление FM APPC. Задача FM — построение необходимых структур ввода-вывода и создание соответствующего запроса. FM выдает MI привилегированную команду запроса ввода-вывода («REQIO»), которая не может выполняться прикладной программой. С командой «REQIO» связан SSR (Source Sink Request), который содержит три указателя на:
очередь ответов MI (MIRQ), в которую будет помещено сообщение по завершении ввода-вывода;
описание устройства LUD;
данные приема-передачи (SSD), то есть пользовательский буфер для хранения данных, пересылаемых на устройство или наоборот (в нашем примере — запрос SQL, посылаемый на удаленную систему).