Литмир - Электронная Библиотека
Содержание  
A
A

• магния.

Многие подземные воды в России имеют значительную жесткость и повышенный уровень железа и марганца.

При загрязнении в воде появляется большое количество вредных веществ. Среди них можно назвать:

• пестициды;

• гербициды;

• нитраты;

• нитриты;

• фенол;

• бензол;

• тяжелые металлы и пр.

Статистические данные говорят, что мы используем питьевую воду, в которой на 1 л содержится 2 г минеральных веществ. Большую роль играют вещества, содержащиеся в воде в малых концентрациях. Например, длительное использование воды, содержащей менее 0,6 мг/л фтора, ведет к развитию кариеса зубов, более 1,5 мг/л – к флюорозу (пятнистости зубов). Наличие в воде радиоактивных частиц и тяжелых металлов способно привести к возникновению еще более тяжелых заболеваний. Большое количество железа и марганца нарушает правильное функционирование печени, желудочно-кишечного тракта, а также оказывает вредное воздействие на ферментные системы головного мозга. Такую воду можно определить по характерному бурому осадку. Поэтому к выбору источника водоснабжения следует подходить со всей серьезностью. В случае если качество воды не соответствует санитарным нормам, нужно поискать другой источник водоснабжения или применить качественную очистку.

Выбор типа водозабора

Все источники питьевой воды должны быть зарегистрированы в санитарно-эпидемиологической службе. Подземные воды бывают напорными (артезианскими) и безнапорными. Иногда они выходят на поверхность земли в виде родников или остаются в глубине, откуда их выкачивают. Для использования поверхностных родников строят специальные каптажные камеры, а во всех остальных случаях бурят скважины или роют колодцы.

Выбор типа вертикального водозабора производится с учетом глубины залегания водоносных пластов и условий их питания. Данный участок проверяется на соответствие санитарным нормам, источник не должен быть загрязнен промышленными и бытовыми сточными водами. Кроме этого, участок не должен размываться талыми и дождевыми водами, иметь оползни и другие виды деформаций. Колодец роют, исходя из геологических, гидротехнических и других природных условий.

Если водоносные слои залегают на глубине до 8 м, то делают шахтные или буровые трубчатые колодцы мелкого заложения. При залегании до 100 м устраивают буровые шахты глубокого заложения.

Шахтные колодцы

Шахтный колодец предназначен для забора подземных вод на глубине залегания до 30 м. Колодец состоит из ствола, водоприемной части и оголовка – верхней надземной части шахты. Стволы бывают круглыми, прямоугольными, с поперечным размером в пределах 1—1,5 м. Для безопасности стенки шахты укрепляют обычно деревом, бутовым камнем, кирпичом или бетоном.

Самым простым и распространенным способом строительства колодцев считается его устройство в плотных грунтах. Шахту роют на всю глубину, после этого сооружают ствол, представляющий собой сруб, каменный, кирпичный или бетонный вертикальный канал. Для предотвращения осыпания стенок шахты их укрепляют с помощью деревянных щитов. Такого рода колодцы строят только при небольшой глубине залегания водоносных слоев, потому что вырыть шахту большой глубины так, чтобы ее стенки не осыпались, невозможно.

В настоящее время обычно используют безопасный опускной способ строительства колодца. В этом случае исключается вероятность того, что осыпающийся грунт может навредить работающему в шахте. Наращиваемый ствол опускается под своим весом по мере удаления грунта из-под него. Для этих целей используют венцы сруба или железобетонные кольца, диаметр которых позволяет работать внутри шахты.

Строительство колодца начинается с рытья котлована. После этого нужно выровнять дно и установить строго горизонтально первый венец сруба или железобетонное кольцо.

После того как ствол шахты выйдет на запланированный уровень, над колодцем устраивают П-образную стойку или треногу с лебедкой для подъема грунта. Пазы между венцами сруба забивают жирной глиной. Ее следует уплотнять как можно лучше, чтобы через щели не просачивалась вода по мере заглубления ствола. Зазоры между железобетонными кольцами устраняют с помощью цементного раствора. Собранный сруб укрепляется с внутренней стороны толстыми досками, что не позволяет сооружению разорваться во время опускания вдоль вырытой шахты.

Землю из-под стенок сруба убирают лопатами. После этого один человек должен спуститься в колодец. При подъеме грунта нужно соблюдать осторожность, потому что ведро с землей может сорваться и упасть на работающего в шахте. В связи с этим перед подъемом грунта необходимо проверить веревку на прочность.

Чтобы при опускании не произошло застревания сруба, лучше делать это с помощью специальных направляющих (рис. 85).

На наружных сторонах сруба, по его углам, прибивают толстые доски. Для лучшего скрепления сруба на каждой его стороне устанавливают дополнительные средние направляющие. Это делает всю конструкцию более жесткой, что весьма важно при опускании. Затем вокруг сруба укладывают толстые бревна и забивают прочные колья большой длины. После этого сруб будет опускаться строго вертикально. После того как установка ствола закончится, направляющие останутся в грунте.

Устройство ствола из железобетонных колец не такое сложное, не требует дополнительных приспособлений, поэтому его выбирают гораздо чаще. Помимо этого, железобетонные кольца не гниют, что значительно увеличивает срок службы колодца. Такие колодцы называются трубными. В отличие от деревянных они не подвержены воздействию верховодки. Их стенки намного легче очищать от зеленого налета и слизи, всегда присутствующих в колодцах. В связи с этим гигиенические свойства железобетонных колодцев также намного выше, чем у деревянных.

Отопление и водоснабжение загородного дома - i_167.jpg

Рис. 85. Устройство для опускания сруба по шахте колодца: 1 – угловые направляющие; 2 – дополнительная направляющая; 3 – бревна; 4 – колья

При устройстве колодца важным моментом является безопасность работающего внизу человека. Особая опасность заключается в загазованности шахты, которая приводит к нехватке кислорода и потере сознания. Загазованность можно проверить специальным прибором – газоанализатором. Если прибора нет под рукой, проверить уровень загазованности можно с помощью обыкновенной свечи. Ее привязывают к веревке, зажигают и опускают в шахту. Если свеча погаснет или изменит степень свечения, в колодце присутствует газ.

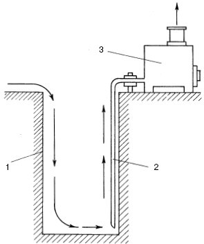
Способов удаления газа из шахты много. Самым простым и надежным является тот, при котором используется естественная тяга переносной металлической печи. Наверху, у шахты, устанавливается металлическая печь (рис. 86). Вместо нее можно использовать обыкновенную металлическую бочку. К поддувалу печи присоединяется вентиляционная труба, нижний конец которой опущен в шахту.

Отопление и водоснабжение загородного дома - i_168.jpg

Рис. 86. Вариант вентиляции шахты колодца с помощью переносной печи: 1 – шахта колодца; 2 – вентиляционная труба; 3 – переносная печь

При топке печи естественная тяга удаляет из шахты имеющиеся там газы. Если газ появляется вновь, то работать в колодце можно только при работающей печи.

Вторым этапом после сооружения ствола является устилание дна колодца песчано-гравийной смесью, предназначенной для фильтрации. Если поступление воды происходит через стенки шахты, то в нижней ее части устраивают специальные щели.

Ствол шахты необходимо поднять на 1—1,2 м над уровнем планировки и облагородить. Для этих целей над колодцем устанавливают надстройки в виде сруба или навеса. Надстройки защитят колодец от атмосферных воздействий и обеспечат удобство эксплуатации.

Для предотвращения попадания в шахту дождевой воды территорию вокруг колодца мостят природным камнем, кирпичом или тротуарной плиткой.

Буровые колодцы

Обычно проектированием и строительством буровых трубчатых колодцев занимаются специализированные фирмы, у которых на проведение этих работ имеется разрешение от эпидемиологической службы.

36
{"b":"137427","o":1}