Литмир - Электронная Библиотека
Содержание  
A
A

3. Грунтовка и окраска радиатора.

4. Установка радиатора (рис. 57).

Отопление и водоснабжение загородного дома - i_117.jpg

Рис. 57. Монтаж чугунных радиаторов: а – у деревянной стены: 1 – планка; 2 – подставка; б – у кирпичной оштукатуренной стены: 1 – подоконник; 2 – ниша; 3 – кронштейн; в – у стены облегченной конструкции: 1 – кронштейн с цельной опорой

Обычно радиаторы монтируются под окнами. При этом необходимо соблюдать некоторые правила:

• ребра радиатора должны быть вертикальными;

• отклонение центра отопительного прибора от центра оконного проема не должно превышать 2 см;

• расстояние от верхней горизонтальной плоскости радиатора до подоконной доски должно быть не менее 5 см;

• расстояние от отопительного прибора до пола должно составлять не менее 6 см;

• расстояние между отопительным прибором и стеной определяется в зависимости от толщины и материала стен, а также от способа установки радиатора.

Все отопительные приборы в одном помещении должны располагаться на одном уровне.

Прежде чем навешивать радиаторы, необходимо выполнить разметку отверстий под кронштейны. Для этих целей вырезают из тонкой фанеры специальный шаблон. Его размеры должны немного превышать размеры устанавливаемого отопительного прибора. После этого в шаблоне, в местах крепления кронштейнов, на одной горизонтальной линии в верхнем и нижнем рядах условных секций выполняют отверстия. Количество кронштейнов на один отопительный прибор рассчитывают, исходя из того, что на каждый 1 м2 нагревательной поверхности радиатора должен приходиться 1 кронштейн.

Затем шаблон прикладывают к стене, намечают отверстия для кронштейнов и шлямбуром пробивают их. После этого отверстия высверливают, убрав шаблон.

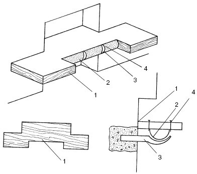
Отопление и водоснабжение загородного дома - i_118.jpg

Рис. 58. Шаблон проверки правильности установки кронштейнов: 1 – доска; 2 – полуцилиндр; 3 – кронштейн; 4 – гвоздь

Кронштейны должны входить в отверстия на глубину не менее 12 см. Вставив в гнезда кронштейны, следует заделать их цементом.

Чтобы фиксация кронштейнов была прочной, нужно сделать еще один шаблон (рис. 58). Он выполняется из куска доски и отрезка стальной арматуры. Шаблон вставляют в месте выхода кронштейнов из цементного раствора до его отвердевания. После этого шаблон снимают.

Применение данного шаблона предотвращает искривление вставок кронштейнов после затвердевания цемента.

Особенности монтажа труб из разных материалов

Стальные трубы при прокладке трубопроводов соединяются между собой с помощью муфт или сварки. Оцинкованные трубы можно соединять только муфтами, потому что во время выполнения сварочных работ происходит обгорание оцинкованного слоя, и трубы впоследствии разрушаются.

Соединение труб с помощью муфт является длительным и трудоемким, а также дорогим процессом, потому что дополнительно требуется множество соединительных элементов и специальных инструментов. При всем этом муфтовые соединения не очень надежны.

Монтаж медных труб выполняется намного быстрее и проще, чем стальных. Это происходит потому, что медные трубы пластичны, легко режутся и гнутся. Медные трубы можно соединять между собой тремя способами:

– с помощью обжимных фитингов – резьбовое соединение;

– с помощью прессованных фитингов – пресс-соединение;

– с помощью капиллярной пайки. Применение обжимных фитингов – самый легкий и широко распространенный способ соединения труб. Этот метод дает возможность избежать перекоса труб в местах стыков.

Второй способ используется в России недавно. Пресс-соединения отличаются надежностью и занимают довольно мало времени. Способ соединения труб с помощью капиллярной пайки – самый трудоемкий, потому что нужно иметь специальное оборудование и опыт в обращении с горелкой. Но этот способ самый надежный.

Муфтовое соединение – самое дорогое и самое ненадежное соединение труб, поэтому для соединения медных труб применяется крайне редко.

Монтаж пластиковых труб. Способ соединения зависит от вида полимера. Например, трубы из молекулярно-сшитого полиэтилена стыкуют с помощью соединительных элементов, поливинилхлоридные трубы склеивают, а полипропиленовые и полибутиленовые сваривают горячим воздухом с использованием различных фитингов.

Монтаж металлополимерных труб – довольно несложная операция. Требования к прокладке трубопроводов из МПТ ниже, чем к пластиковым и тем более к стальным. Работы выполняются простым инструментом при плюсовой температуре воздуха. МПТ можно придать любую нужную форму, которую они легко сохраняют. Это в несколько раз снижает применение фиксаторов. Но при этом алюминиевая фольга подвергается во время изгибания серьезной деформации.

Стыковка металлопластиковых труб производится двумя способами:

• с помощью обжимных фитингов;

• с помощью прессованных фитингов. Обжимные фитинги значительно дешевле, но и срок

их службы намного короче. Причиной этого служит разница коэффициента линейного расширения полимеров и металла. Поэтому довольно часто в местах соединения труб возникают протечки.

Прессованные фитинги не имеют резьбы, стоят дорого и требуют специального инструмента. Но при грамотном монтаже они не дают протечек.

Монтаж асбестоцементных труб выполняется с помощью муфт и резиновых уплотнителей (прокладок). Такое соединение будет подвижным и не вызовет деформации от воздействия тепла или просадки грунта.

Монтаж стояков

Эту операцию выполняют в соответствии со следующими требованиями (рис. 59):

– стояки монтируют строго по отвесу;

– длину и диаметр стояков в целях уменьшения расхода металла сокращают;

– стояки целесообразно устанавливать в углах, образуемых наружными стенами;

– необходимо предусматривать отдельное расположение стояков для отопления лестничных клеток;

– скрытые стояки располагают в бороздах наружных стен, при этом не допускается примыкание стояков вплотную к поверхности строительных конструкций;

– на пересечении стояков и подводок скобы устанавливают на стояках, а не на подводках, с направлением изгиба в сторону помещения;

– в местах прохода стояков через перекрытия их вставляют в гильзы из кровельной жести или в обрезки труб большого диаметра. При этом края гильз, закрепленных в перекрытиях, должны выступать над уровнем пола (потолка) на 20—30 мм, что позволит предотвратить порчу штукатурки при удлинении и движении стояков во время нагревания;

– в местах прохода стояков через деревянные конструкции необходимо предусмотреть изоляцию;

– распределительные поэтажные и промежуточные трубы между стояками и подводками монтируют под отопительными приборами у пола на таком же расстоянии от поверхности пола, как и стояки (без уклона).

Однотрубные стояки с односторонними подводками по отношению к откосам оконных проемов должны находиться на расстоянии 16 см. В двухтрубных системах подающий стояк располагается с правой стороны, а обратный – с левой, если смотреть на стену.

Отопление и водоснабжение загородного дома - i_119.jpg

Рис. 59. Монтаж стояков: а – с приоконными стояками и радиаторами; б – с замоноличенными стояками и конвекторами; 1 – стояк приоконный; 2 – радиатор; 3 – внутренняя стена; 4 – замоноличенный стояк; 5 – конвектор

К стене стояки крепятся с помощью хомутов на высоте 1,5—1,8 м от пола. На каждый этаж должна приходиться одна точка крепления.

Балансировка системы

При монтаже отопительной системы, как правило, возникает множество моментов, которые невозможно предусмотреть в процессе проектирования. Поэтому при запуске система работает и отдает тепло не так, как задумывалось.

Различные сбои и неэффективность работы отопительной системы связаны не столько с неправильным выбором оборудования, сколько с неправильным расходованием теплоносителя. При недостаточном его расходовании воздух в помещении не прогревается и температура остается низкой, а при перерасходе теплоносителя возникает перегрев воздуха. При этом перегрев в одном помещении ведет к недостатку тепла в других. Плохо поддаются регулировке однотрубные системы отопления. Чтобы наладить работу вновь смонтированной системы отопления, необходимо произвести ее балансировку.

25
{"b":"137427","o":1}