Литмир - Электронная Библиотека
Содержание  
A
A

– в летнем, когда массив печи не прогревается, а горячие газы от варочной плиты поступают в дымовую трубу;

– в зимнем, когда горячие газы поступают в дымоход печи и отдают свое тепло стенкам.

Проектирование печного отопления

Как правило, для обогрева всего дома одной печи бывает недостаточно, потому что она может обогреть не более трех смежных помещений (рис. 72).

Отопление и водоснабжение загородного дома - i_148.jpg

Рис. 72. Оптимальное размещение печи в трехкомнатной квартире

Тем не менее при проектировании печного отопления следует стремиться минимизировать количество отопительных приборов путем рационального их размещения. Необходимо, чтобы соблюдалось правило, согласно которому теплоотдача выходящей в каждое помещение части нагретой печи полностью возмещала бы его тепловые потери (рис. 73).

При проектировании печного отопления для кухни, жилых комнат и подсобных помещений печи необходимо соединить в так называемый тепловой узел. При этом дымоходы должны быть объединены в один кирпичный стояк. Такой вариант позволяет значительно снизить финансовые затраты на возведение печей.

Отопление и водоснабжение загородного дома - i_149.jpg

Рис. 73. Варианты размещения отопительных печей: а – в центре или с небольшим смещением от него; б – угловое; в – пристенное с наличием вентиляторов для создания тепловых потоков; 1 – печь; 2 – вентиляторы; 3 – потоки теплого воздуха

Отопительные печи нужно устанавливать у внутренних стен, потому что возведение их у наружных стен создаст дополнительные проблемы и увеличит расходы на постройку дымовых труб. Печь должна стоять открыто и свободно обогревать помещение.

Принцип работы печи

Вне зависимости от конструкции принцип работы печи связан с преобразованием энергии, выделяющейся при сгорании топлива, и последующей передачей тепла в помещение конвекционным способом.

Печи классифицируют:

• по толщине стенок;

• по способу теплоотдачи;

• по форме;

• по направлению движения дымовых газов. Печи бывают одноэтажные и многоэтажные.

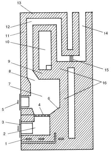
По способу топки они подразделяются на печи периодического, т. е. с прерывистым циклом горения, и непрерывного действия. На рис. 74 дана схема отопительной печи.

Принцип работы печи таков. Кислород, необходимый для горения топлива, поступает в топливник через поддувало, имеющее открытую или полуоткрытую дверцу и сообщающееся с помещением. Топливо сгорает в топочном пространстве, которое в нижней части через колосники сообщается с поддувалом, а в верхней – с системой дымооборотов, отводящих в атмосферу дымовые газы.

Отопление и водоснабжение загородного дома - i_150.jpg

Рис. 74. Принципиальная схема отопительной печи: 1 – шанцы; 2 – поддувало; 3 – поддувальная дверка; 4 – колосниковая решетка; 5 – топочная дверка; 6 – под; 7 – топочное пространство (топливник); 8 – хайло; 9 – свод топливника; 10 – тепловоздушная камера; 11 – наружная теплоотдающая поверхность; 12 – дымообороты; 13 – перекрыша; 14 – дымоход; 15 – дымовая задвижка; 16 – внутренние тепловоспринимающие поверхности

При прохождении через систему газоходов или дымооборотов дымовые газы нагревают боковые и заднюю стенки печи, которые излучают большое количество тепла. В табл. 51 указана зависимость коэффициента теплоустойчивости от материалов ограждающих конструкций.

Таблица 51

Зависимость коэффициента теплоустойчивости от материалов ограждающих конструкций

Отопление и водоснабжение загородного дома - i_151.jpg
Отопление и водоснабжение загородного дома - i_152.jpg

Конструктивные элементы печи

Существует несколько конструкций печей, меняя геометрические размеры и расположение отдельных конструктивных элементов которых, можно добиться максимального использования тепловой энергии.

Фундамент

Этот конструктивный элемент служит основанием для печи и принимает на себя вес печи и дымоходов. От того, насколько правильно построен фундамент, как высока его надежность, зависит безопасность эксплуатации печного оборудования. Результатом любых просадок станут трещины как в массиве печи, так и в дымовых трубах. С появлением трещин в помещение могут проникать дым и искры.

Правильно возведенный фундамент должен брать на себя только вес печи, а не конструкций дома. Поэтому, если требуется поставить печной фундамент близко к фундаменту дома, их не объединяют, а устраивают между ними промежуток в 3—5 см. Промежуток заполняют песком или выполняют двухслойную гидроизоляцию.

В поперечнике фундамент должен быть на 120—150 мм больше самой печи, а его глубина зависит от качества грунта. Фундамент можно строить из бутового камня, обожженного кирпича или бетона (рис. 75, 76).

Для начала дно котлована под фундамент нужно выровнять (обязательно по уровню!). После этого насыпают слой щебня из кирпича или камня и хорошо утрамбовывают. Это будет подошва фундамента. Затем следует подошву пролить жидким цементным раствором.

В случае если возводится кирпичный или каменный фундамент, кладку следует вести правильными рядами, выполняя перевязку швов. Наружные швы кладут на растворе под лопатку, а внутреннюю часть выполняют забутовкой. На верхней площадке фундамента должен быть слой цементного раствора, который следует выровнять правилом с уровнем.

Отопление и водоснабжение загородного дома - i_153.jpg

Рис. 75. Сплошные фундаменты для печей: а – фундамент из мелкого камня, гравия и кирпичной щебенки: 1 – пол; 2 – два ряда кирпичной кладки; 3, 6 – гидроизоляция; 4, 7 – выравнивающие слои из цементного раствора; 5 – наружный фундамент из шлакобетона; 8 – фундамент в грунте из кирпичного щебня и гравия; 9 – грунт; б – фундамент из бутового камня и кирпичной кладки: 1 – пол; 2 – кирпичная кладка; 3 – гидроизоляция; 4 – выравнивающий слой; 5 – фундамент; 6 – грунт

Отопление и водоснабжение загородного дома - i_154.jpg

Рис. 76. Столбчатый фундамент для печей: а – первый вариант: 1 – пол; 2 – выравнивающий слой; 3 – кладка; 4 – кирпичный щебень и гравий; 5 – гидроизоляция; 6 – грунт; б – второй вариант: 1 – пол; 2 – гидроизоляция; 3 – выравнивающий слой; 4 – железобетонные перемычки или плита; 5 – фундамент в грунте из бутового камня и щебня; 6 – грунт; 7 – столбики из кирпичной кладки

Отопление и водоснабжение загородного дома - i_155.jpg

Рис. 77. Устройство колосниковых решеток для различных видов топлива: а – правильная установка колосниковой решетки; б – неправильная установка колосниковой решетки; 1 – топливник; 2 – колосниковая решетка под дрова; 3 – колосник под уголь; 4 – колосник под торф; 5 – дверца топки; 6 – дверца поддувала; 7 – поддувало

Кладка фундамента должна заканчиваться ниже уровня «чистого» пола на 140—150 мм. После этого выполняют гидроизоляцию двумя слоями рубероида, толя или аналогичного материала.

Шанцы и зольниковая камера

Шанцы – это несколько рядов кирпичной кладки, поднимающих печь над фундаментом. Выполняются они обычно в 2—3 ряда кирпичной кладки, которые дают возможность низу печи стать теплоотдающим.

Зольниковая камера, или поддувало, обладает двумя функциями. Первая заключается в подводе в топливник воздуха, необходимого для поддержания процесса горения. Помимо этого, в поддувало проваливается зола из топливника и накапливается в нем. Для того чтобы зола попадала в зольниковую камеру, между ней и топливником монтируется колосниковая решетка. Она представляет собой решетку в виде стальных или чугунных полос с промежутками между ними (рис. 77). Дверца поддувала во время горения топлива должна быть открыта частично или полностью. После окончания топки ее нужно закрыть во избежание утечки теплого воздуха из помещения.

32
{"b":"137427","o":1}