Литмир - Электронная Библиотека
Содержание  
A
A

[?] – допускаемое напряжение, кГ/см2;

2) ?р = D/2t x ? h,

где D – диаметр резервуара, см;

? – удельный вес воды, кГ/см3;

Отопление и водоснабжение загородного дома - i_194.jpg

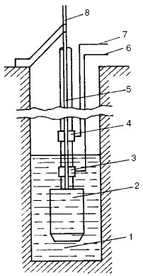
Рис. 105. Подземный резервуар: 1 – кольцо (сталь); 2 – стакан (железобетон); 3 – песок; 4 – отмостка (бетон)

h – внутренняя высота резервуара, см;

t – толщина стенки, см.

Для примера возьмем резервуар диаметром 1,6 м и внутренней высотой 2 м (объем 4,35 м3), расчетное напряжение составляет 5 кГ/см2, тогда:

t = 160/2 х 5 х 0,001 х 200 = 3,2 см.

Имея тройной запас прочности, толщина стенки составит 10 см. Такое отступление было сделано не случайно. Довольно часто владельцы участков строят резервуары, оштукатуривая стенки котлована бетоном. Такая емкость будет служить совсем недолго, а скорее всего разрушится сразу же после первого наполнения водой. Типичными местами, где происходят разрушения, являются: низ стенок, днище или стыки с перекрытием. В этом случае причина кроется в неправильном проектировании перекрытия, т. е. отмостка, выступающая за контур резервуара, служит его опорой на грунт. При заполнении водой под ее тяжестью резервуар просаживается, а верхняя часть зависает на отмостке, после чего происходит ее отрыв. Поэтому отмостку нужно производить, как показано на рисунке, без связи со стаканом.

После установки опалубки в образовавшееся пространство между ней и землей закладывают арматуру, в качестве которой можно использовать любой металлолом, и заливают бетон. Бетонная смесь отвердевает за 1—2 суток, после чего опалубку переставляют.

После того как закончены стенки стакана, опалубку убирают и заливают днище. Последней операцией по обработке внутренних поверхностей резервуара является так называемое железнение. Оно заключается в нанесении цементного слоя, разведенного до густоты сметаны. Наносить его можно малярной кистью 2—3 раза. Он будет защищать емкость от фильтрации воды.

Перекрытие производится с учетом данных выше рекомендаций. В этом случае опалубка будет подвесной.

Подземный резервуар время от времени необходимо полностью освобождать от воды и чистить, потому что он, как и любой другой водоем, загрязняется.

Приложение 7

Клапан для «Камы»

Электронасос «Кама-3», используемый в хозяйстве, очень надежен и незаменим там, где нет водопроводной сети, но имеется какой-либо водоем.

Отопление и водоснабжение загородного дома - i_195.jpg

Рис. 106. Устройство модифицированного всасывающего клапана электронасоса «Кама»: 1 – резиновый напальчник; 2 – седло клапана; 3 – шарик клапана; 4 – резиновая груша; 5 – всасывающий шланг насоса; 6 – хомут; 7 – сетка-фильтр

При всей надежности насоса есть в нем одно слабое место – обратный клапан во всасывающем шланге. За сезон порой приходится сменить эту деталь несколько раз.

Чтобы не покупать всякий раз новый обратный клапан, советуем переделать этот узел. Нужно взять кольцо длиной 10 мм, отпилив его от трубки каркаса раскладушки. Затем потребуется металлический шарик, диаметр которого на несколько миллиметров больше, чем у отпиленного кольца. Теперь нужно развальцевать кольцо, поставив его вертикально и молотком вбив в него наполовину шарик. Это будет седло клапана.

Необходимо взять резиновый напальчник, обрезать с обеих сторон, продеть сквозь кольцо и вывернуть края наружу. Шарик будет сидеть в седле плотно.

Вместо корпуса клапана можно использовать резиновую грушу от ручного шланга насоса, которым водители перекачивают топливо. Один конец груши надевается на всасывающий шланг «Камы» и плотно стягивается хомутом. Во второй конец шланга вставляется металлический шарик и кольцо, после чего их надо обжать металлическим хомутом. В последнюю очередь на грушу необходимо натянуть мелкоячеистую металлическую сетку-фильтр, чтобы в шланг не попадал мусор. На рис. 106 дано устройство всасывающего клапана электронасоса «Кама».

Приложение 8

Устройство для автоматического управления вибронасосами

Предлагаемое устройство предназначено для автоматического управления вибронасосами для работы в скважинах или колодцах с малым количеством воды или для периодической откачки грунтовых вод.

Те насосы, которые применяются в скважинах малого диаметра, имеют на водоподъемном шланге бесконтактные датчики уровня воды. На рис. 107 показан вибронасос с водоподъемным шлангом, подвешенный на металлическом тросе в скважине.

Отопление и водоснабжение загородного дома - i_196.jpg

Рис. 107. Размещение вибронасоса в скважине: 1 – вода в скважине; 2 – вибронасос; 3 – датчик нижнего уровня воды; 4 – датчик верхнего уровня воды; 5 – водоподъемный шланг; 6, 7 – подводящие провода датчиков; 8 – трос подвески насоса – общий электрод

На шланге имеются датчики верхнего и нижнего уровня воды.

Работа данного устройства основана на изменении проводимости между общим электродом, в качестве которого используется металлический трос подвески насоса, и электродами датчиков, находящимися в воде и вне ее. Состояние датчиков анализируют с помощью логического узла на микросхеме DD1 (рис. 108).

Отопление и водоснабжение загородного дома - i_197.jpg

Рис. 108. Принципиальная схема автоматического устройства

Автомат работает следующим образом. Если датчики верхнего и нижнего уровня погружены в воду, проводимость между тросом и электродами датчиков большая. Значит, при включении питания тумблером SA1 на входах R и С триггера устанавливаются уровни логической 1 (единицы), что приводит к появлению того же уровня на его прямом выходе, вызывающего открывание ключа на транзисторах VT1, VT2 и включение реле К1, которое контактами К1.3, К1.4 подключает насос к сети.

Если насос откачивает воду, он выключится только тогда, когда на входе R DD1 появится логический 0, т. е. когда вода опустится ниже датчика нижнего уровня. Такое состояние триггера обусловлено нулевым логическим значением на его прямом выходе, закрывающим транзисторный ключ и выключающим реле и насос.

Во время выключения насоса уровень воды в скважине поднимается. Когда он достигнет датчика нижнего уровня, на входе R триггера появится значение 1. Но насос не включится, потому что на входе С есть напряжение логического нуля и до датчика верхнего уровня вода еще не поднялась. После того как вода достигнет датчика верхнего уровня, на входе С DD1

Отопление и водоснабжение загородного дома - i_198.jpg

Рис. 109. Печатная плата со схемой расположения элементов появится напряжение логической 1 и на его прямом выходе также установится логическая 1. После этого включатся транзисторный ключ, реле и насос – процесс повторится заново.

Для установки необходимых логических значений на входах триггера используются резисторы R2, R3, R4 и R8.

Устройство может работать как в ручном, так и в автоматическом режиме. Когда переключатель SA1 находится в нейтральном положении, прибор и насос отключены. В верхнем (по схеме) положении переключателя устройство отключено от сети, а подключен только насос.

В том случае, если за уровнем воды не нужно следить, насос может работать в ручном режиме. Основным является автоматический режим при нижнем (по схеме) положении SA1. В данном режиме работу индуцирует светодиод HL1.

Подобрав нужную по размеру коробку, в ней размещают плату с радиоэлементами (рис. 109), трансформатор Т1, реле К1.

У трансформатора имеется две вторичные обмотки, рассчитанные на ток нагрузки, равный 100 и 150 мА. Понадобится переключатель П2Т, реле ТКЕ—56ПД1, которое можно заменить контактором ТКД133Д0Д. В этом случае обмотка II трансформатора Т1 должна быть рассчитана на ток нагрузки не менее 350 мА, а транзистор КТ603Б заменен на КТ815Б.

Как устанавливать датчики на шланге, показано на рис. 110.

Отопление и водоснабжение загородного дома - i_199.jpg
46
{"b":"137427","o":1}