Литмир - Электронная Библиотека
Содержание  
A
A

Отопительные приборы

Эти устройства представляют собой приборы для передачи тепла от теплоносителя в обогреваемое помещение. Если бы не было отопительных приборов, то теплоноситель впустую циркулировал бы по трубам, незначительно отдавая тепло.

Теплопередающая способность отопительного прибора зависит от площади его нагревательной поверхности, которая, в свою очередь, обусловлена видом прибора, его местонахождением и схемой присоединения к трубопроводу. Хороший отопительный прибор отдает через единицу площади нагревательной поверхности максимальное количество тепла.

Отопление и водоснабжение загородного дома - i_072.jpg

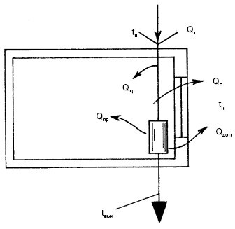
Рис. 27. Потоки теплопередачи от прибора, расположенного у внешнего ограждения дома: Оп – теплопотери помещения; Опр. – теплоотдача отопительного прибора; Отр. – теплоотдача труб; Одоп. – дополнительные теплопотери; От – теплопередача от теплоносителя (воды); tB – внутренняя температура; 1:н – наружная температура; 1вых – выходная температура нагретой воды

Для того чтобы вычислить требуемую теплоотдачу, нужно знать значение теплопотерь каждого отдельного помещения. Теплоотдача должна превышать теплопотери. Величину дополнительных потерь можно вычислить по формуле:

Qдоп = Qт + Qп, где Qдоп. – дополнительные теплопотери; (Qт – теплоотдача от теплоносителя; Qп – теплопотери помещения.

При открытой прокладке отопительного трубопровода поверхность труб будет дополнительной нагревательной поверхностью, которую следует учитывать при расчете мощности отопительных приборов. На рис. 27 показаны потоки теплопередачи.

Необходимая теплоотдача и количество отопительных приборов в помещении напрямую зависят от числа окон в комнате.

Щадящее отопление

В настоящее время в европейских странах распространена так называемая концепция щадящего отопления. Обычные отопительные системы неблагоприятно сказываются на микроклимате помещений, потому что температура нагревательной поверхности отопительных приборов высушивает воздух и электризует его. Помимо этого, на радиаторах оседает пыль, которая потоками теплого воздуха поднимается и начинает циркулировать по комнате. Сильно нагреваясь на отопительных приборах, пыль разлагается на элементы, среди которых имеются вредные для человеческого организма вещества. Ну и конечно, о нагретый отопительный прибор можно обжечься.

Применение щадящего отопления как раз и позволяет решить многие из этих проблем. Температура нагревательной поверхности при этой системе не превышает 40—45° С. Для создания нужной температуры в обогреваемом помещении площадь отопительных приборов увеличивается в 2,5 раза, т. е. на радиаторах устанавливаются дополнительные ребра.

Выбор отопительных приборов

Прежде чем покупать отопительные приборы, нужно обратить внимание на следующее:

– способ прокладки трубопроводов – открытый или закрытый;

– тип и конфигурация отопительной системы;

– качество теплоносителя;

– уровень рабочего давления в системе отопления;

– планировка дома;

– особенности теплового режима помещений;

– месторасположение и время пребывания людей в обогреваемых комнатах;

– назначение отопительных приборов;

– технические характеристики отопительных приборов.

В процессе эксплуатации отопительных приборов могут появиться:

• коррозия внешних поверхностей;

• химическая и электрохимическая коррозия внутренних поверхностей;

• гидравлические удары.

В связи с этим к отопительным приборам предъявляются довольно строгие требования. Прибор должен:

– выдерживать гидравлические удары, которые возникают в процессе испытания отопительной системы;

– быть устойчивым ко всем видам коррозии.

Рабочее и испытательное давление – это самый важный показатель отопительной системы. В нашей стране испытательное давление увеличивается не на 30%, как в Европе, а на 55—60% (примерно 15 атм). В связи с этим некоторые типы зарубежных отопительных приборов выходят из строя, не выдержав такого давления.

Требования к отопительным приборам

Все требования, предъявляемые к отопительным приборам, условно можно разделить на несколько групп: санитарно-гигиенические, экономические, архитектурно-строительные, производственно-монтажные, эксплуатационные, теплотехнические. Всем этим требованиям должны отвечать отопительные приборы независимо от вида, мощности и местонахождения. Теперь подробнее разберемся в группах требований.

Санитарно-гигиеническая. В эту группу входят следующие пункты:

• низкая температура корпуса;

• наименьшая площадь горизонтальной поверхности для уменьшения отложения пыли;

• доступность отопительного прибора и ограждающих поверхностей вокруг него для очистки от пыли.

Экономическая. Основные критерии:

• оптимальная стоимость самого прибора и работ по его установке и эксплуатации;

• наименьший расход металла. Архитектурно-строительная. Отопительные приборы данной группы должны иметь:

• эстетичный внешний вид;

• небольшие габаритные размеры.

В настоящее время многие предпочитают устанавливать в доме компактные отопительные приборы, потому что их можно убрать в шкафы, укрыть за декоративными панелями и пр. Поэтому фирмы-производители, откликаясь на требования покупателей, стараются изготавливать более миниатюрные агрегаты.

Производственно-монтажная. Основные критерии:

• наименьшие трудозатраты при установке, наладке, регулировке. Это обусловлено максимальной механизацией работ;

• достаточная механическая прочность. Эксплуатационная. Приборы этой группы имеют

следующие критерии:

• теплоустойчивость;

• возможность регулировать теплоотдачу;

• водонепроницаемость при предельно допустимом в рабочих условиях гидростатическом давлении.

Отопительные приборы теплотехнической группы имеют наибольшую плотность удельного теплового потока, приходящегося на единицу площади.

Размещение отопительных приборов

На рис. 28 показаны варианты установки отопительных приборов. Как правило, их монтируют в стенных нишах под окнами, располагают вдоль стен, навешивают в один или два ряда, располагают открыто или за декоративными панелями.

При условии, если отопительные приборы устанавливаются в 2 ряда или в стенной нише, площадь их нагревательной поверхности должна быть увеличена примерно на 5%. Это даст возможность иметь необходимую теплоотдачу. Если приборы монтируются за панелями, площадь нагревательной поверхности нужно уменьшить на 10%, т. к. в этом случае теплоотдача обычно увеличивается. Расположение отопительных приборов в декоративных шкафах улучшает интерьер помещения, но теплоотдача значительно снижается (примерно на 12%).

Самым распространенным вариантом установки приборов является размещение их вдоль наружных стен под окнами. В этом случае нужно учитывать следующие моменты:

– длина отопительного прибора должна составлять 50—75% от длины оконного проема. Исключение составляют окна с витражами. В этом случае длина окна и отопительного прибора должны быть равными;

– вертикальные оси оконного проема и отопительного прибора должны совпадать (отклонение – ±5 см).

Если отопительные приборы установлены у наружных стен дома, то радиационное охлаждение помещения значительно снижается, а температура нижней части внутренней стены увеличивается. Это означает, что если подоконник узкий или его нет вообще, то конвекционные потоки от приборов перекрывают доступ холодного воздуха в помещение (рис. 29, а, б).

Отопление и водоснабжение загородного дома - i_073.jpg

Рис. 28. Варианты размещения отопительных приборов: а – в нише стены; б – в специальном укрытии; в – за щитом; г – в два яруса (один над другим); 1 – отопительный прибор; 2 – стена

15
{"b":"137427","o":1}