Литмир - Электронная Библиотека
Содержание  
A
A

Задвижка (рис. 51). Она представляет собой элемент, состоящий из корпуса и шпинделя, в нижней части которого смонтированы диски затвора. Поворот маховика перемещает шпиндель вверх-вниз внутри корпуса. При опускании шпинделя диски затвора раздвигаются клином и полностью закрывают теплоносителю доступ.

Задвижки используются для того, чтобы можно было отключать отдельные участки отопительной системы. В связи с этим их монтируют практически на всех участках трубопровода, в том числе на подводках к водогрейным котлам.

Дросселирующие шайбы и балансировочные клапаны применяются для автоматического поддержания постоянной разности давления в двухтрубных системах отопления. Также они нужны для автоматической стабилизации расхода теплоносителя в однотрубных отопительных системах.

Проходные краны и краны с дросселями (рис. 52). Эти устройства монтируются на магистралях, стояках и подводках к отопительным приборам. Работают проходные краны так же, как и задвижки, только у них конец шпинделя соединен с золотником.

Отопление и водоснабжение загородного дома - i_111.jpg

Рис. 51. Задвижка: 1 – маховик; 2 – сальник; 3 – корпус; 4 – клин; 5 – диски затвора

Когда шпиндель опускается, прокладка золотника плотно закрывает отверстие в корпусе крана, перекрывая движение теплоносителя. В настоящее время проходные краны с дросселями становятся все более популярными, потому что обладают большими достоинствами, чем балансировочные клапаны.

Балансировочные клапаны (рис. 53). Они представляют собой дросселирующие устройства, которые используются при монтажной регулировке водяной системы отопления с целью обеспечения в ней правильного распределения потока теплоносителя. Балансировочные клапаны выполняют несколько функций, что, несомненно, является их самым главным положительным свойством. Они стабилизируют гидравлическое состояние отопительной системы, регулируют расход теплоносителя, замеряют уровень перепадов давления и температуру теплоносителя, а также работают в режиме задвижки.

Отопление и водоснабжение загородного дома - i_112.jpg

Рис. 52. Проходной кран (а) и кран с дросселем (б): 1 – пробка; 2 – сальник; 3 – сальниковый вкладыш; 4 – четырехгранный торец пробки; 5 – болт; 6 – корпус; 7 – шпиндель; 8 – маховик; 9 – диски затвора

Отопление и водоснабжение загородного дома - i_113.jpg

Рис. 53. Балансировочный клапан: 1 – корпус; 2 – шток регулировочный; 3, 7 – кольцевые уплотнения; 4 – отсечной шар; 5 – седло шара; 6 – рукоятка; 8 – измерительно-дренажный патрубок

Некоторые модели балансировочных клапанов оснащены устройством для дренажа отопительной системы при сливе из нее теплоносителя. При всех своих достоинствах балансировочные клапаны стоят недорого. Имеются у балансировочных клапанов и недостатки:

• дорогостоящая аппаратура, необходимая для настройки клапана;

• сложности сервисного обслуживания.

Балансировочные клапаны изготавливаются с муфтовым резьбовым, фланцевым, сварным и комбинированным соединением. В отличие от термостата они могут монтироваться в любом положении, но все-таки нижнее расположение измерительного входа более удобно для эксплуатации. Поток через клапан должен идти в направлении, указанном стрелкой на его корпусе.

Шаровые краны (рис. 54). В настоящее время во всех отопительных системах, а также при холодном и горячем водоснабжении используются шаровые краны, которые заменили устаревшие вентили. Благодаря простоте внутреннего устройства они считаются более совершенными и долговечными видами запорно-регулирующей арматуры.

Шаровой кран – это устройство, состоящее из корпуса, внутри которого имеется шар с цилиндрическим отверстием, окруженный поясом тефлоновых колец. Шток выполнен в форме рычага или бабочки. Вращение шара вокруг своей оси выполняется при посредстве штока. Сальник штока, являющийся наиболее важным элементом крана, бывает разборным и неразборным.

Существует мнение, что шаровой кран с разборным сальником лучше, т. к. в случае протечки его можно быстро разобрать и починить. Но кран, имеющий неразборный сальник, надежнее, имеет большой срок службы и меньшую вероятность протечки, т. к. он герметичен.

По пропускной способности шаровые краны делят на:

– неполнопроходные – величина прохода 40—50%;

– стандартные – величина прохода 70—80%;

– полнопроходные – величина прохода 90—100%.

Отопление и водоснабжение загородного дома - i_114.jpg

Рис. 54. Шаровой кран: 1 – ручка; 2 – гайка, фиксирующая ручку на штоке; 3 – шток; 4 – уплотнительные кольца; 5 – корпус клапана; 6 – шаровой затвор; 7 – уплотнительные тефлоновые кольца

В связи с тем что шаровые краны имеют только два положения – «открыто» и «закрыто», их не стоит монтировать на подводках к отопительным приборам.

Монтаж традиционной системы отопления

Как правило, монтаж начинается с установки отопительных приборов. Но при таком порядке сборки системы можно допустить множество ошибок с монтажом подающих и отводящих подводок. Поэтому некоторые специалисты сначала устанавливают стояки с подводками, а потом монтируют отопительные приборы.

Стоимость и сложность монтажных работ зависит от схемы циркуляции теплоносителя, конфигурации отопительной системы и трубной разводки. При прокладке систем с естественной циркуляцией используют трубы большого диаметра, что увеличивает стоимость трубопровода и усложняет монтаж.

Монтаж отечественных чугунных радиаторов

Поскольку отечественные чугунные радиаторы значительно отличаются от импортных, они требуют обязательной протяжки межсекционных соединений и дополнительной покраски перед установкой. С этого и начинается установка чугунного радиатора.

Монтаж чугунных радиаторов состоит из нескольких этапов:

1. Группирование секций (рис. 55, 56). Сначала чугунные радиаторы разбирают на секции. Делается это следующим образом. Радиатор закрепляют на верстаке и в открытые ниппельные отверстия вставляют два радиаторных ключа. С одной стороны радиаторного ключа выполнено ушко для ручки, с другой – плоская отвертка, ширина которой чуть меньше ниппельного отверстия. Оба ключа вставляют на соответствующую глубину в верхнее и нижнее ниппельные отверстия. Чтобы не было перекоса секций, ниппели следует развернуть одновременно, поэтому делать это нужно вдвоем.

С разных сторон радиатора у ниппелей выполнена разная резьба. Это влияет на вращение радиаторного ключа. Если отсоединение секций выполняется с той стороны, где ниппель с левой резьбой, то ключ вращается вправо; если разборка ведется со стороны правой резьбы, то ключ вращается влево.

Отопление и водоснабжение загородного дома - i_115.jpg

Рис. 55. Группирование секций радиаторов: а – захват ниппелями резьбы секций на 2-3 нитки резьбы; б – доворачивание ниппелей и стыковка секций; в – подсоединение третьей секции; г – группировка двух радиаторов; 1 – секция; 2 – ниппель; 3 – прокладка; 4 – короткий радиаторный ключ; 5 – ломик; 6 – длинный радиаторный ключ

2. Гидравлическое испытание радиатора. Оно проводится на специально оборудованном стенде. Радиатор подключается к гидравлическому прессу и заполняется водой. Пресс создает в радиаторе нужное давление – от 4 до 8 кгс/см2. Если стрелка манометра станет падать, то секции собраны некачественно или в них образовались трещины. В этом случае с помощью радиаторных ключей ниппели подтягивают или заменяют бракованные секции. Если трещины небольшие, их можно заделать эпоксидным клеем. Иногда небольшие протечки устраняют, заменяя прокладки.

Отопление и водоснабжение загородного дома - i_116.jpg

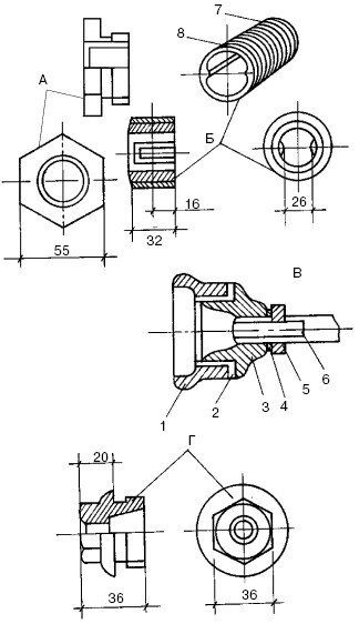
Рис. 56. Ниппель и пробки: А – проходная стальная пробка с самой крупной внутренней резьбой G1.B; Б – ниппель; В – подводка к радиатору; г – проходная чугунная пробка с минимальной резьбой G1/2.B, применяемой в радиаторах; 1 – секция; 2 – прокладка; 3 – проходная пробка; 4 – уплотнение; 5 – контргайка; 6 – труба подводки с удлиненной резьбой; 7 – левая резьба; 8 – правая резьба

24
{"b":"137427","o":1}