Литмир - Электронная Библиотека
Содержание  
A
A

Таблица 44

Технические характеристики длинноволновых потолочных обогревателей ЭЛК («ЭкоЛайн»)

Отопление и водоснабжение загородного дома - i_128.jpg

В табл. 45 даны сравнительные характеристики длинноволновых обогревателей.

Таблица 45

Сравнительная характеристика длинноволновых обогревателей

Отопление и водоснабжение загородного дома - i_129.jpg
Отопление и водоснабжение загородного дома - i_130.jpg
Комбинированные обогреватели

Комбинированные, или конвективно-радиационные, обогреватели представляют собой маслонаполненные электрорадиаторы. Они отдают тепло за счет конвекции масла и теплового излучения от нагретой поверхности корпуса.

В нижней части комбинированного аппарата имеется радиатор, нагревающий масло. Конвекция масла происходит так. Масло разогревается и поднимается вверх, а холодное стекает по уже остывшим стенкам радиатора вниз.

Регулируются маслонаполненные радиаторы с помощью электромеханических терморегуляторов. Разброс температур составляет 7° С, а это дает большие потери энергии. Несмотря на все негативные моменты, маслонаполненные радиаторы довольно популярны в нашей стране. Это обусловлено их дешевизной и большим сроком службы.

Теплые полы

«Теплые» полы представляют собой систему напольного кабельного обогрева. Эта система появилась в России в начале 90-х гг. ХХ в. и сразу же привлекла внимание потребителей. Конечно, как все новое, она стоила довольно много. Но теми, кто решил у себя дома установить напольную кабельную систему, руководил не только спрос на модную новинку. «Теплые» полы – это совершенно иная система обогрева жилища, создающая комфортную для человека среду. При конвективном способе отопления воздух прогревается неравномерно, т. е. более теплый скапливается под потолком, а пол остается холодным. При напольной системе обогрева все обстоит как раз наоборот. Самая высокая температура воздуха бывает у пола, что больше отвечает потребностям человека.

Отопление и водоснабжение загородного дома - i_131.jpg

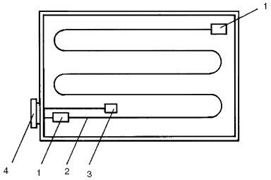
Рис. 62. Схема монтажа нагревательного кабеля: 1 – соединительная муфта; 2 – нагревательный кабель; 3 – датчик температуры пола; 4 – терморегулятор

Сразу после появления «теплых» полов не все могли позволить себе установить данную систему дома, хотя многие хотели бы это сделать. В то время люди готовы были заплатить деньги за любую модель системы, но сейчас, когда на рынке много разновидностей всевозможных отопительных систем, покупатели стали более разборчивыми и требовательными. Теперь эта система стала не такой дорогой и более доступной.

Система кабельного напольного обогрева – это поделенный на секции электрический нагревательный кабель, проложенный под полом, в бетонной стяжке (рис. 62). Там же смонтирован датчик, который поддерживает заданную температуру нагрева. Если комната угловая и имеет холодные несущие конструкции, то в ней иногда нагревательный кабель прокладывают прямо по стенам, под облицовочным слоем.

Монтажные концы нагревательного кабеля, а также датчики температуры присоединены к терморегулятору, который устанавливается на стене, на небольшом расстоянии от пола. Датчик посылает сигнал, а терморегулятор включает или отключает электропитание. Это означает, что напольная система обогрева работает не постоянно, а в прерывистом режиме. Электроэнергии экономится примерно 60—70%.

Когда пол нагревается до требуемой температуры, терморегулятор отключает электропитание, нагревательный кабель охлаждается. Продолжительность каждого цикла «нагревание-охлаждение» зависит от того, какая мощность у отопительной системы, а также какого рода теплоизоляция применена. Можно сказать, что «теплые» полы – это обычная нагревательная панель, только больших размеров.

Система «теплые» полы включает в себя:

• электрический кабель;

• температурный датчик;

• гофрированную трубку диаметром менее 16 мм для укладки датчика;

• терморегулятор;

• фольгированный утеплитель;

• монтажную ленту.

При монтаже напольной системы обогрева можно использовать как простейший терморегулятор, так и программируемый, с искусственным интеллектом (это будет стоить несколько дороже). Такого рода терморегуляторы не только контролируют температуру пола, но и отслеживают температуру воздуха за пределами помещения. Производятся терморегуляторы с двумя датчиками, предназначенными для автономного контроля за температурой пола и воздуха. В загородных домах, где имеется много комнат, программируемые терморегуляторы, как правило, соединяют в локальную сеть и управляют ими с помощью компьютера.

Обычно для каждого помещения монтируется своя автономная система напольного обогрева с отдельным терморегулятором. Не следует использовать общий кабель для всех комнат, потому что каждое помещение имеет свои теплопотери. Один и тот же кабель не может реагировать на разный уровень потери тепла.

Монтаж системы напольного кабельного обогрева

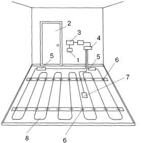
Все системы «теплых» полов имеют одну и ту же схему монтажа. Она показана на рис. 63.

Выполняется такая схема в следующей последовательности.

Отопление и водоснабжение загородного дома - i_132.jpg

Рис. 63. Схема монтажа напольного кабельного обогрева: 1 – выключатель; 2 – дверь; 3 – регулятор; 4 – распаечная коробка; 5 – соединительные муфты; 6 – монтажная лента; 7 – датчик; 8 – нагревательная секция

1. На уровне 1,2—1,4 м от пола на стене наносится метка для установки терморегулятора. Если помещение имеет повышенную влажность, то терморегулятор устанавливают за его пределами (например, в соседней комнате).

2. От пола к месту установки терморегулятора проделывают канал, предназначенный для укладки токоведущих проводов нагревательного кабеля и температурного датчика.

3. Выполняют теплоизоляцию бетонного пола. Для этих целей берется пробка, жесткий пенопласт, полиуретан или фольгированный полипропилен.

4. В случае если теплоизоляционный материал имеет слой фольги, поверх него обязательно укладывают монтажную ленту. В остальных случаях выполняется только тонкая бетонная стяжка толщиной 1 см (рис. 64). На нее укладывается монтажная лента. Это делается для того, чтобы нагревательный кабель не соприкасался с теплоизолятором. В противном случае кабель может перегреться и выйти из строя. Монтажная лента закрепляется с помощью дюбелей.

5. После этого равномерно укладывается нагревательный кабель и закрепляется специальными приспособлениями в виде небольших хомутов, расположенных на монтажной ленте. Величина шага укладки нагревательного кабеля рассчитывается по формуле: h = S/L, где h – шаг укладки (мм); S – площадь укладки нагревательной секции (м2); L – длина нагревательного кабеля (м).

6. Температурный датчик помещается в гофрированную трубу и укладывается в 50 см от стены между витками кабеля таким образом, чтобы он оказался в открытой петле. Чтобы внутрь трубы не попал раствор, его заглушают. Гофрированная труба должна иметь такую длину, чтобы доставать до места установки терморегулятора. Впоследствии это облегчит ремонт вышедшего из строя датчика температуры.

Отопление и водоснабжение загородного дома - i_133.jpg

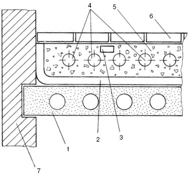
Рис. 64. Нагревательный кабель в бетонной стяжке по теплоизоляции: 1 – перекрытие; 2 – теплоизоляция; 3 – датчик температуры; 4 – нагревательный кабель; 5 – бетонная стяжка; 6 – напольное покрытие; 7 – несущая стена

7. Токоведущие провода нагревательного кабеля и температурного датчика прокладывают в заранее выполненном канале и закрывают слоем цементного раствора.

8. Следующая операция – заливка нагревательного кабеля бетонной стяжкой толщиной не менее 3—5 см. Это нужно для того, чтобы тепло равномерно распределялось по поверхности пола. Чтобы обогреть комнату, имеющую высокий потолок, нужна система высокой удельной мощности. В этом случае толщина стяжки должна составлять 8—10 см. Соединительные муфты нагревательных секций также заливаются бетоном.

29
{"b":"137427","o":1}