Литмир - Электронная Библиотека
Содержание  
A
A
Электрокалориферы

Этот отопительный прибор сочетает в себе функции электронагревательного прибора и вентилятора.

Конструктивно он выполнен так, что есть возможность управлять потоком нагретого до заданной температуры воздуха. Примером электрокалорифера могут служить сушилки для рук, устанавливаемые в туалетах.

У электрокалориферов имеется ряд недостатков, которые не позволяют использовать их для отопления жилых помещений. Во-первых, они работают очень шумно (35—55 дБ). Во-вторых, при обогреве помещения электрическим калорифером разница температур у пола и под потолком настолько велика, что создает мощные конвективные потоки, поднимающие тучи пыли и микрочастиц. Кроме этого, на уровне пола возникают даже сквозняки.

А вот для обогрева нежилых влажных помещений (ванная комната, подвал и пр.) электрокалориферы очень даже подойдут. С помощью данных отопительных приборов можно быстро просушить только что отделанную комнату.

На рынках России имеются в продаже как отечественные, так и зарубежные электрокалориферы. В табл. 40 даны технические характеристики российских электрокалориферов.

Таблица 40

Технические характеристики электрокалориферов КЭ (Россия)

Отопление и водоснабжение загородного дома - i_121.jpg
Отопление и водоснабжение загородного дома - i_122.jpg
Тепловые завесы

Тепловые завесы – одна из широко распространенных разновидностей электрокалориферов. Они выполняют две функции: нагревают теплый воздух внутри помещения и не дают проникнуть снаружи холодному.

Потоки теплого воздуха, обдувающие дверной проем с боков и идущие сверху, препятствуют выходу теплого воздуха наружу, а также не дают просачиваться холодному воздуху с улицы. При закрытой двери тепловая завеса работает в экономичном режиме.

Тепловые завесы компенсируют тепловые потери, задерживают пыль и микрочастицы, устраняют сквозняки зимой, а летом работают в качестве вентилятора. Поэтому их чаще всего устанавливают в общественных местах. В табл. 41, 42, 43 даны технические характеристики горизонтальных, вертикальных и импортных тепловых завес.

Таблица 41

Технические характеристики горизонтальных тепловых завес КЭ (Россия)

Отопление и водоснабжение загородного дома - i_123.jpg

Таблица 42

Технические характеристики вертикальных тепловых завес КЭ (Россия)

Отопление и водоснабжение загородного дома - i_124.jpg

Таблица 43

Технические характеристики тепловых завес «Frico» (Швеция)

Отопление и водоснабжение загородного дома - i_125.jpg
Отопление и водоснабжение загородного дома - i_126.jpg
Лучистое отопление

Этот вид отопления в России появился не так давно, хотя в Европе излучающие обогреватели изготавливают уже более 20 лет. В настоящее время ситуация понемногу меняется – российские покупатели постепенно начинают приобретать новинки отопительного оборудования.

Электрические излучающие панели не имеют себе равных ни по теплотехническим, ни по экономическим, ни по экологическим параметрам. В чем же состоит преимущество лучистого отопления?

Излучающие обогреватели, или ИК-панели, работают на принципе теплового излучения. Они испускают длинноволновые тепловые лучи, аналогичные солнечным. Данные лучи обогревают только поверхности, находящиеся в поле их действия. Нагретые тепловыми лучами поверхности отдают так называемое вторичное тепло окружающему воздуху. При лучистом отоплении не расходуется лишняя энергия на обогрев воздуха.

Температура в помещении, отапливаемом длинноволновыми лучами, может быть относительно низкой, но люди на себе этого не почувствуют. Ощущение комфорта создается не столько температурой окружающего воздуха, сколько теми лучами, которые попадают на открытые участки человеческого тела и греют, как солнце.

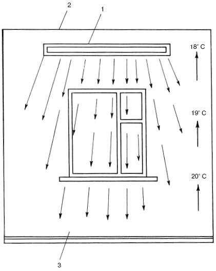
ИК-панели, в отличие от конвекторов, не используют воздушную среду для распространения тепла, они равномерно излучают тепло: температура у пола и под потолком примерно равная (рис. 61), а температура поверхности пола и предметов практически такая же, как температура воздуха в помещении.

Поскольку при таком способе отопления не возникает конвекционных потоков, то снижается циркуляция пыли и микрочастиц в воздухе помещения. Помимо этого, излучающие панели не изменяют влажности воздуха и не сжигают кислород. В связи с этим их обычно устанавливают в медицинских и детских учреждениях.

ИК-панели гораздо быстрее прогревают помещение, чем конвекторы. Это обусловлено тем, что поверхность теплоотдачи от нагретых пола и предметов в 5—10 раз больше, чем у традиционных отопительных приборов.

При временном отключении панелей температура в помещении долгое время находится на одном уровне, а охлажденный воздух очень быстро прогревается.

К достоинствам системы лучистого отопления относятся:

Отопление и водоснабжение загородного дома - i_127.jpg

Рис. 61. Схема действия ИК-панели: 1 – ИК-панель под потолком; 2 – потолок; 3 – пол

• мобильность системы;

• влагоустойчивость и пожаробезопасность отопительных приборов;

• бесшумность работы;

• легкость обслуживания;

• простота и дешевизна монтажных работ;

• долговечность системы. ИК-обогреватели

ИК-обогреватель – это основной элемент лучистой системы отопления. Он представляет собой аппарат прямоугольной формы с защитным слоем из жаростойкой краски. На поверхности обогревателя, обращенной к полу, имеется отражающая пластина из высокопрочного анодированного алюминия. В нее встроен нагревательный элемент, спираль или ТЭН.

При выборе ИК-обогревателя следует обращать внимание на то, какой нагревательный элемент в нем установлен. Предпочтение следует отдавать панелям с ТЭНами, потому что открытая спираль довольно быстро выходит из строя.

На противоположной стороне панели устроена система крепления. Между корпусом и отражающей панелью выполнена жаростойкая изоляция из минерального волокна. Практически 90% электроэнергии, исходящей от нагревательного элемента, преобразуется в тепловой поток, отражается от алюминиевой панели и излучается в сторону обогреваемых поверхностей. Остальные 10% энергии тратятся на нагрев воздуха, контактирующего с отражающей пластиной.

ИК-обогреватели подразделяются на два подкласса:

• длинноволновые;

• инфракрасные.

У инфракрасных обогревателей нагревательный элемент разогревается до 700—800° С. В связи с этим их называют высокотемпературными. В длинноволновых обогревателях элемент накаляется до 200—250° С, их второе название – «низкотемпературные».

Нагревательный элемент длинноволновых обогревателей встроен в металлический короб. Излучающая поверхность имеет специальный защитный металлический слой, максимально поглощающий тепло. Этот слой устроен таким образом, чтобы обогреватель также максимально отдавал тепло. Обычно, чтобы увеличить площадь излучающей поверхности, ее изготавливают рельефной.

У высокотемпературных обогревателей нагревательный элемент в открытом виде вмонтирован в отражающую пластину. В некоторых моделях излучающая поверхность покрыта специальной керамикой, дающей возможность уменьшить температуру нагрева алюминиевой пластины и повысить коэффициент излучения тепловой энергии.

Поскольку низкотемпературные излучающие панели пожаробезопасны, следует отдавать предпочтение именно им при выборе обогревателей для загородного дома. Высокотемпературные инфракрасные панели в закрытых жилых помещениях применять опасно!

Последней новинкой в семействе низкотемпературных обогревателей являются теплоизлучающие зеркала, у которых отражающий слой одновременно служит нагревательным элементом. Температура поверхности теплоизлучающего зеркала составляет не больше 75° С. Такого рода зеркала не запотевают в помещениях с повышенной влажностью, имеют повышенный уровень пожаробезопасности и экологичности. В табл. 44 даны технические характеристики длинноволновых потолочных обогревателей ЭЛК («ЭкоЛайн»).

28
{"b":"137427","o":1}