Литмир - Электронная Библиотека
Содержание  
A
A

Буровой колодец – это скважина, направленная перпендикулярно к направлению потока подземных вод. Для безопасности стенки скважины укрепляются обсадными металлическими, а при мелких скважинах – керамическими или асбестоцементными трубами. Внутренний диаметр обсадной трубы зависит от водоподъемного оборудования (простые колонки или один из типов насосов). В любом случае диаметр не должен быть меньше 120 мм.

Верхняя часть скважины носит название «устье колодца» и защищена оголовком от всевозможных загрязнений. Одновременно оголовок служит для установки водоподъемного оборудования. Он должен быть выше поверхности земли на 0,8—1 м, герметично закрыт легко открывающейся крышкой. В шахте колодца обязательно устанавливают вентиляционную трубу высотой 2 м от поверхности земли. Вокруг оголовка должна быть сделана отмостка из камня, кирпича, бетона или асфальта радиусом не менее 2 м с уклоном в сторону водоотводного лотка.

С увеличением глубины скважины диаметр обсадных труб уменьшают, концентрические зазоры между обсадными трубами заделывают цементным раствором. При устройстве скважины в скальном грунте укреплять ее стенки не нужно.

При строительстве буровых колодцев можно использовать только те материалы, которые соответствуют санитарным нормам. Например, при изготовлении фильтра его материал должен быть химически и механически устойчивым, в процессе эксплуатации не должен забиваться песком. Минимальный внутренний диаметр фильтра должен составлять 100 мм. Тип фильтра выбирается в зависимости от категории грунта. Если он представляет собой неустойчивую породу, то используются трубчатые фильтры с круглыми или щелевидными отверстиями. При гравийном грунте, гравелистом и крупном песке водоприемная поверхность выполняется из проволочной обмотки из нержавеющей стали или из стального штампованного листа. В песчаных грунтах устанавливают трубчатые фильтры из сетки гладкого или галунного плетения, которые применяются при любой глубине скважины.

При устройстве скважины традиционным способом возникают некоторые негативные моменты. Во-первых, стальные обсадные трубы с течением времени подвергаются коррозии и разрушаются. Куски ржавчины попадают в питьевую воду, заметно снижая ее качество. В стенках труб возникают отверстия, через которые в питьевую воду могут попасть сточные воды из соседнего дома. Также со временем скважина заиливается. Срок службы скважин глубокого бурения составляет всего 5 лет.

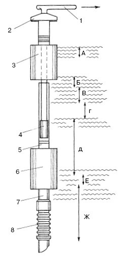
В настоящее время имеется несколько новых технологий, продляющих срок службы скважин. Бурение ведется в несколько этапов (рис. 87). Сначала бурят песчано-глинистые отложения, доходя до известняка.

Отопление и водоснабжение загородного дома - i_169.jpg

Рис. 87. Бурение артезианских скважин по новым технологиям: 1 – подача воды потребителю; 2 – оголовок с вентилем; 3 – обсадная металлическая колонна диаметром 168 мм; 4 – насос; 5 – пластиковая колонна диаметром 125 мм; 6 – металлическая обсадная колонна диаметром 168 мм; 7 – пластиковая колонна диаметром 125 мм; 8 – фильтр; А – водоносный горизонт (песок обводненный); Б – водоносный горизонт (песок сухой); В – водоносный горизонт (песок обводненный); Г – суглинок (водоупор); Д – водоносный горизонт (песок обводненный); Е – юрская глина (водоупор); Ж – водоносный горизонт (известняк обводненный)

После этого на всю глубину скважины опускают металлическую обсадную колонну из труб с фильтрами.

При бурении известняка до вскрытия водоносного слоя скважину делают меньшим диаметром. После этого на всю глубину вставляют пластиковую колонну, в которой вода под давлением пластов поднимается на определенный статический уровень. Вокруг пластиковой трубы на 5—10 м выше фильтров засыпается калиброванный кварцевый гравий диаметром 1,2—2 мм, который дает возможность воде беспрепятственно поступать в эксплуатационную колонну. Этот слой отфильтровывает механические примеси. На слой гравия укладывают гранулы сухой глины, которые разбухают от влаги и создают глиняный замок, не дающий водам верхнего горизонта просачиваться в эксплуатационный горизонт.

Такая скважина служит около 30 лет.

Механизация водоснабжения

Для нормальной работы современной бытовой техники в системе водоснабжения дома необходимо поддерживать постоянное давление. Нужный уровень напора обеспечивают насосы. На российском рынке имеется множество моделей как отечественных, так и зарубежных производителей.

Самовсасывающие центробежные вихревые насосы предназначены для подачи воды из колодцев и скважин. Процесс обусловлен тем, что всасывающий коллектор расположен выше оси насоса, поэтому в его рабочей части всегда находится вода. Для включения агрегата в работу после остановки его не надо заливать водой.

Объемно-инерционные насосы используют в работе колебания, идущие к клапану-плавнику. В них нет трущихся частей, вращающихся деталей, они не требуют смазки. Такие насосы применяются для подъема пресной воды из колодцев и трубчатых скважин, диаметр которых более 100 мм, с глубины более 40 м.

Температура поднимаемой воды не должна превышать 35° С. Насос должен быть полностью погружен в воду, без соприкосновения со стенками и дном колодца. Его включают в работу без предварительной заливки. Перемещать или поднимать насос можно только после отключения от электросети. Работать насос может долго, но время непрерывной эксплуатации не должно превышать 2 ч. После перерыва в 15—20 мин насос можно снова включать в работу. Общее время работы насоса в сутки составляет 12 ч.

Основные характеристики водяных насосов даны в табл. 55.

Таблица 55

Характеристики водяных насосов

Отопление и водоснабжение загородного дома - i_170.jpg
Отопление и водоснабжение загородного дома - i_171.jpg
Отопление и водоснабжение загородного дома - i_172.jpg

Если в трубопровод водоснабжения вода подается с помощью насосов, то потребуется накопительная емкость, установленная на высоте, для обеспечения нужного давления в сети водопровода. Такое техническое решение уже устарело, т. к. накопительная емкость требует периодической чистки и обеззараживания, да и сама емкость, расположенная на чердаке, оказывает дополнительную нагрузку на строительные конструкции дома. Строительство индивидуальной напорной башни для отдельно взятого дома нецелесообразно.

Отопление и водоснабжение загородного дома - i_173.jpg

Рис. 88. Водоснабжение индивидуального дома: 1 – скважинный насос; 2 – трос; 3 – скважина; 4 – электрокабель; 5 – водонапорный шланг; 6 – приямок; 7 – запорные вентили; 8 – реле давления; 9 – манометр; 10 – напорный гидробак; 11 – внутренний водопровод; 12 – выводы для садовых работ

В наше время существуют совершенно новые технологии водоснабжения, при которых в системе автоматически поддерживается давление воды с помощью гидробака, установленного в подвале или на первом этаже (рис. 88). Такие гидробаки чаще всего поставляются в комплекте с некоторыми моделями насосов. Давление воды, установленное с помощью управляющего прибора, поддерживает встроенный частотный преобразователь.

Отопление и водоснабжение загородного дома - i_174.jpg

Рис. 89. Станция водоснабжения MQ: 1 – панель управления; 2 – соединение с напорным трубопроводом; 3 – обратный клапан; 4 – залив и слив воды; 5 – встроенные реле давления протока; 6 – электродвигатель; 7 – мембранный напорный бак

Также в продаже появились станции водоснабжения MQ, представляющие собой компактные агрегаты, состоящие из самовсасывающего насоса, мембранного напорного бака, устройства управления и защиты (рис. 89).

Станция предназначена для водоснабжения индивидуального дома, но ее можно использовать и в тех местах, где нужна мобильная, компактная установка для перекачки воды.

При производстве станции используются материалы с повышенной коррозионной стойкостью, что позволяет ей работать на открытом воздухе. Она оснащена всем необходимым для автоматической работы, поэтому не требует подбора мембранного бака, устройства защиты и управления. Нужно открыть только один кран, а насос включается и выключается автоматически. При этом поддерживается постоянное давление в напорной магистрали. Встроенный обратный клапан предотвращает отток воды. Панель управления с помощью светодиодов отражает все режимы работы станции.

37
{"b":"137427","o":1}