Литмир - Электронная Библиотека
Содержание  
A
A

В настоящее время медные трубы используются повсеместно, потому что медь – это превосходный материал для теплопроводов водяного отопления, а также холодного и горячего водоснабжения. Этот материал обладает целым рядом положительных качеств:

– хорошей тепло– и электропроводностью (в 5 раз больше, чем у стали);

– высокой коррозионной стойкостью;

– хорошей устойчивостью к окислению;

– стойкостью к изменению температуры;

– стойкостью к действию ультрафиолета;

– бактерицидной стойкостью;

– высокой пластичностью.

Помимо вышеперечисленного, медные трубы имеют еще одно достоинство: внутренняя поверхность их стенок в 100 раз более гладкая, чем у стальных, и в 4—5 раз, чем у пластиковых труб. В связи с этим пропускная способность медных трубопроводов очень высока. Из-за того что медные трубы обладают высокой коррозионной стойкостью, их пропускная способность не меняется со временем. В некоторых трубах на внутреннюю поверхность стенок методом окисления фосфором наносят дополнительный защитный слой.

Иногда медные трубы покрывают полиэтиленовым или поливинилхлоридным слоем. Это делается не только для улучшения внешнего вида труб, но и для того, чтобы улучшить их свойства. Полимерный слой действует таким образом, что при транспортировке горячей воды по трубам значительно снижаются потери тепла, а при транспортировке холодной воды не образуется конденсат. Помимо этого, полимеры защищают трубы от механических повреждений и снижают уровень шума.

Благодаря тому что медь обладает высокой пластичностью, медные трубы при замерзании в них воды не трескаются, а слегка растягиваются. После оттаивания воды трубы восстанавливаются до первоначального состояния.

В нормальной среде и при благоприятных условиях медные трубы могут служить примерно 40 лет. При этом на них не влияют давление и температура теплоносителя в системе отопления.

Если для монтажа теплопровода используются медные трубы, то необходимо выполнить несколько несложных условий. Прежде всего все материалы в системе отопления должны быть однородными. Это означает, что все трубы, соединительные элементы и запорно-регулирующая аппаратура должны быть медными. Но это идеальный вариант. А в действительности бывает так, что часть трубопровода – стальная, а подводки выполнены с использованием медных труб. Поэтому на практике, при монтаже трубопроводов, нужно соблюдать следующие правила:

– не ставить стальные оцинкованные трубы после медных (по направлению воды), т. к. цинковый слой будет интенсивно разрушаться;

– не использовать металлический стык меди и нелегированной оцинкованной стали, потому что будет происходить электрохимическая реакция, результатом которой станет усиленная коррозия стали.

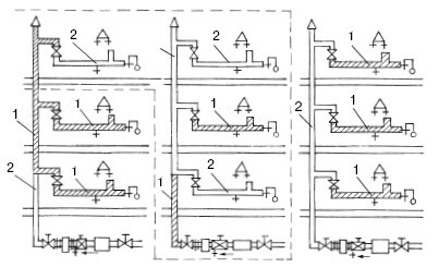
На рис. 45 показаны варианты установки стальных и медных труб.

Отопление и водоснабжение загородного дома - i_098.jpg

Рис. 45. Смешанная установка стальных и медных труб: 1 – медная труба; 2 – стальная труба (схемы, обведенные пунктиром, – неправильный монтаж)

Для изготовления труб, используемых для трубопроводов водяного отопления, берется медь высокой чистоты (99,9%), практически без примесей. Такой материал обладает особо высокой коррозионной стойкостью и пластичностью (даже при температуре —100° С). После механической обработки медь становится более прочной, но теряет эластичность. Чтобы вернуть это свойство материалу, медь подвергают отжигу при 600—700° С с последующим охлаждением.

При монтаже отопительных трубопроводов применяются медные трубы двух видов:

– жесткие (неотожженные), имеющие вид прямых отрезков длиной от 3 до 5 м;

– мягкие (отожженные), свернутые в бухты длиной 25 и 50 м.

Жесткие трубы используют при прокладке стояков и магистралей водяного отопления, а мягкие – на других участках теплопровода.

Медные трубы выпускаются диаметром 10—28 мм при толщине стенок в 1 мм и 35—54 мм при толщине стенок в 1,5 мм. Бывают трубы и большего диаметра. Несмотря на то что толщина стенок у медных труб невысока, они могут выдерживать давление более сильное, чем стальные трубы.

Полимерные трубы

Первые полимерные трубы появились примерно в начале 50-х гг. ХХ в. в Европе, США и Японии. Сразу же после своего появления эти трубы стали популярными благодаря своему превосходству над всеми металлическими трубами.

За прошедшие годы полимерные трубы заняли свое место практически во всех отраслях промышленности. С начала 70-х гг. они применяются при монтаже систем водоснабжения и канализации.

В Советском Союзе тоже производились полимерные трубы, но их количество не превышало 5% от производства стальных труб. Такое положение вещей объяснялось низким качеством отечественных полимеров, а следовательно, и полимерных труб.

В настоящее время полимерные трубы – это главный конкурент металлических труб. В скандинавских странах, а также в Германии практически все водо-и газопроводные системы выполнены из полимерных труб. В нашей стране также имеется тенденция к росту применения пластиковых труб.

Самым важным недостатком полимерных труб является износ. С течением времени трубы теряют прочность и эластичность, трескаются и разрушаются. Скорость износа такого рода труб напрямую зависит от температуры транспортируемой жидкости, а также от давления в системе. Вредное воздействие на полимерные трубы оказывают ультрафиолетовые лучи. Ремонту такие трубы не подлежат, их заменяют целиком.

Помимо этого, к недостаткам пластиковых труб можно отнести:

• уменьшение уровня прочности при повышении температуры;

• высокую горючесть;

• большой коэффициент линейного расширения. Для изготовления водогазопроводных пластиковых

труб используются только термостойкие полимеры, которые при повышении температуры становятся вязкими, а остывая, отвердевают. К таким полимерам относятся:

• полиэтилен;

• полипропилен;

• поливинилхлорид;

• полибутилен.

Пластиковые трубы производят способом выдавливания, используя при этом обогреваемый шнек. Такие трубы имеют маркировку, которая содержит следующую информацию:

– вид полимера (РЕ, РР, PVC, РВ и пр.);

– наружный диаметр трубы;

– номинальное давление PN (в барах);

– наименование производителя;

– стандарт, по которому изготовлена труба;

– дата изготовления;

– номер партии.

Если на трубе нет маркировки, то приобретать такую трубу не следует, потому что ее качество и срок службы вызывают сомнение.

Полиэтиленовые трубы

Сегодня полиэтилен – самый распространенный материал при производстве труб для холодной воды.

Полиэтиленовые трубы для холодного водоснабжения и канализации зданий в 1—2 этажа выпускаются двух видов:

– трубы ПНД (из полиэтилена низкого давления и высокой плотности), рассчитанные на напряжение в стенках трубы не более 5 МПа;

– трубы ПВД (из полиэтилена высокого давления и низкой плотности), рассчитанные на напряжение в стенках трубы не более 2,5 МПа.

Согласно ГОСТу 18599—83, полиэтиленовые трубы должны иметь наружный диаметр, равный 10—1200 мм для ПВД и 10—160 мм для ПНД.

Из полиэтилена также изготавливают газопроводные трубы, рассчитанные на рабочее давление до 0,6 МПа (согласно ГОСТу Р 50838—95), а также трубы для газопроводов, по которым транспортируется природный газ и газовоздушная смесь, в которой отсутствуют ароматические и хлорированные углеводороды (согласно ГОСТу 5542—87).

В 80-е гг. ХХ в. специалистами был придуман способ улучшения физико-технических параметров полиэтилена. Для этого использовали молекулярно-сшитый полиэтилен, отличающийся повышенной стойкостью к высоким и низким температурам, ультрафиолетовым лучам и механическим нагрузкам, но сохраняющий при этом гибкость. Трубы, изготовленные из такого полиэтилена, не теряли своей прочности при повышении температуры до 95° С. Это дало возможность применять их для прокладки не только холодного, но и горячего водоснабжения, а также отопления.

20
{"b":"137427","o":1}