Литмир - Электронная Библиотека
Содержание  
A
A
Потолочные излучатели

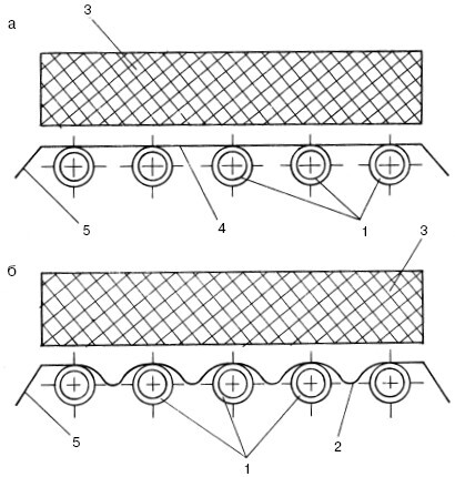
Такого рода отопительные приборы относятся к классу радиационных аппаратов, т. е., нагреваясь сами, они излучают тепло (рис. 34). Радиационный способ обогрева помещений представляет собой взаимный лучистый обмен между предметами, конструкциями дома и отопительными приборами.

Отопление и водоснабжение загородного дома - i_083.jpg

Рис. 34. Потолочные излучатели: а – с плоским экраном; б – с волнообразным экраном; 1 – нагревательные элементы; 2 – волнообразный экран; 3 – теплоизоляция; 4 – плоский экран; 5 козырек

При обогреве помещения потолочными излучателями люди чувствуют себя более комфортно, чем при отоплении конвективным способом. Это объясняется тем, что при понижении температуры окружающего воздуха примерно на 2° С увеличивается конвективная теплоотдача человека, а это очень сильно влияет на улучшение его самочувствия. Оптимальная температура в помещении, обогреваемом конвекторами, составляет 19,3° С, а при отоплении потолочными излучателями – 17,4° С.

Потолочные излучатели имеют множество достоинств. Они создают микроклимат, благоприятный для человека, обеспечивают сильный нагрев внутренних поверхностей жилища и, как следствие, уменьшение теплоотдачи человека, а также значительно уменьшают тепловую энергию, требующуюся на обогрев помещения.

Наряду с достоинствами, конечно же, имеются и недостатки. К ним можно отнести:

• большую тепловую инерцию;

• теплопотери через наружные ограждения;

• монтаж дополнительной арматуры для регулировки теплоотдачи бетонных панелей.

Радиаторы

Радиаторы – это отопительные приборы с двумя способами отдачи тепла: конвективным и радиационным. На конвекцию приходится 75% от общего теплового потока, а на радиацию – 25%.

Конструктивно радиаторы водяного отопления делятся на секционные и панельные. Первые изготавливаются из чугуна, стали и алюминия. Вторые могут быть стальными и биметаллическими (сталь и алюминий).

На российском рынке в наше время можно найти не только радиаторы отечественного производства, но и импортные. Но вторые покупать нужно только в том случае, когда вся отопительная система импортная. В противном случае зарубежные радиаторы быстро выйдут из строя, потому что они не рассчитаны на жесткую воду с механическими примесями.

Секционные чугунные радиаторы являются самым распространенным видом отопительных приборов в России. Их производят с начала ХХ в. Популярность данного вида приборов обусловлена тем, что стальные и алюминиевые радиаторы имеют недостаточную прочность для российских теплосетей.

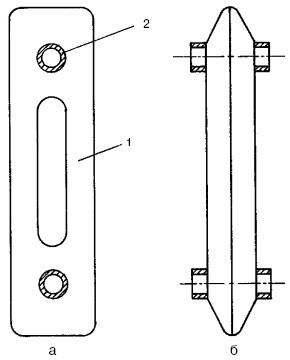
Чугунный радиатор состоит из одно– или многоколончатых секций с каналами круглого или эллипсовидного сечения. Самыми распространенными являются радиаторы с двухколончатыми секциями высотой 50 см (рис. 35). Между собой секции соединяются ниппелями с картонными, резиновыми или паронитовыми прокладками.

Обычно чугунные радиаторы рассчитаны на рабочее давление 6—9 атм, опрессовочное (испытательное) – 15—18 атм и максимальную температуру теплоносителя – 130° С. Они имеют следующие положительные свойства:

• большую тепловую мощность;

• высокую механическую прочность;

• хорошую коррозионную стойкость;

• невосприимчивость к плохому качеству теплоносителя.

К недостаткам этих отопительных приборов можно отнести:

• большую металлоемкость;

• высокую тепловую инерцию;

• нестойкость к гидравлическим ударам в системе;

• несоответствие санитарно-гигиеническим нормам;

• большие трудозатраты при транспортировке и установке из-за большого веса радиатора;

• неэстетичный внешний вид.

Отопление и водоснабжение загородного дома - i_084.jpg

Рис. 35. Секция радиатора двухколончатая: а – вид в разрезе; б – вид сбоку; 1 – колонки; 2 – внутренняя резьба

Секционные алюминиевые радиаторы по популярности в нашей стране идут вторыми после чугунных. Они представляют собой прессованные секции и коллекторы, которые изготавливаются из алюминиевого сплава с добавлением кремния (он придает металлу необходимую прочность на разрыв). Алюминиевые радиаторы выпускаются в двух вариантах:

а) литые отопительные приборы (каждая секция отливается как отдельная деталь);

б) экструзионные радиаторы (каждая секция состоит из трех элементов, соединенных между собой специальными болтами). Герметичность соединений достигается за счет уплотнительных элементов или с помощью клеевого соединения.

У алюминиевых радиаторов также имеются свои плюсы и минусы. К положительным качествам можно отнести:

• повышенную теплоотдачу за счет оребрения секций;

• высокую скорость нагрева (нагреваются в несколько раз быстрее, чем чугунные);

• экономичность потребления энергии;

• возможность регулировки температуры воздуха в помещении;

• небольшую массу;

• простоту установки и транспортировки;

• современный дизайн.

Большинство алюминиевых радиаторов рассчитано на рабочее давление 6—25 атм, опрессовочное давление – 9—37 атм, максимальную температуру теплоносителя – 130° С.

К недостаткам алюминиевых радиаторов относятся:

• невысокая конвективная способность;

• повышенное газообразование, которое приводит к воздушным пробкам в системе отопления;

• высокая вероятность возникновения протечек между секциями;

• концентрация тепла на оребрении.

В продаже имеются также анодированные радиаторы, которые изготавливают из алюминия высшей степени очистки с последующим полным анодным оксидированием всей поверхности. Анодное оксидирование изменяет структуру алюминия, тем самым защищая радиатор от всех видов коррозии, а также других вредных воздействий. Для соединения элементов радиатора между собой применяются не ниппели, а сухие наружные муфты. Благодаря этому внутренняя поверхность отопительных приборов остается гладкой. Такой способ соединения исключает образование застоев теплоносителя и засоров системы. Теплоотдача анодированных радиаторов значительно выше, чем простых алюминиевых.

Отопление и водоснабжение загородного дома - i_085.jpg

Рис. 36. Стальные панельные радиаторы: а – колончатой формы; б – змеевиковой двухходовой; в – змеевиковой четырехходовой; 1 – колонки

Анодированные радиаторы рассчитаны на рабочее давление 50—70 атм, а разрушаться они начинают только при давлении 215 атм!

Стальные панельные радиаторы (рис. 36) представляют собой два штампованных стальных листа толщиной 1,4—1,5 мм, соединенных между собой двумя способами:

а) горизонтальными коллекторами, соединенными вертикальными колонками (колончатая форма);

б) горизонтальными параллельно и последовательно соединенными каналами, приваренными к одной панели (форма змеевика).

Стальные панели бывают одно– и двухрядными с декоративным покрытием из термостойкой эмали и без него, с ребристой или гладкой поверхностью. Такого рода отопительные приборы рассчитаны на рабочее давление 6—10 атм и максимальную температуру теплоносителя 110—150° С.

Достоинствами стальных панельных радиаторов являются:

• высокая теплоотдача;

• малая тепловая инерция;

• соответствие санитарно-гигиеническим нормам;

• небольшой вес;

• эстетичный внешний вид.

Поскольку резьбовых соединений в таком радиаторе всего два, то протечки возникают гораздо реже, чем у секционных радиаторов.

Самыми главными недостатками таких отопительных приборов являются:

• небольшая площадь нагревательной поверхности;

• невысокая коррозионная стойкость.

В табл. 34 даны технические характеристики стальных панельных радиаторов отечественного производства.

Таблица 34

Технические характеристики стальных панельных радиаторов отечественного производства

Отопление и водоснабжение загородного дома - i_086.jpg
Отопление и водоснабжение загородного дома - i_087.jpg
17
{"b":"137427","o":1}