Литмир - Электронная Библиотека
Содержание  
A
A

Наиболее существенными из перечисленных являются механизм (узел) запирания канала ствола, система питания и удар- но-спусковой механизм, конструктивные признаки которых также используются для классификации.

Узел запирания канала ствола обеспечивает прочное сцепление затвора и ствола во время выстрела. В большинстве систем запирания участвует так называемая ствольная коробка – деталь, прочно связанная со стволом и обеспечивающая его сцепление с затвором. Ее следует отличать от затворной коробки (при свободном затворе), служащей лишь для помещения затвора.

1. При повороте затвора его боевые выступы заходят в пазы ствольной коробки, что и удерживает затвор у ствола. Поворот затвора может производиться наклонным скосом затворной рамы, пазом короба и т.д. Поворачиваться может как весь затвор, так и его деталь – боевая личинка. Запирание поворотом затвора – едва ли не самое популярное в современных образцах стрелкового оружия.

2. Применяется также сцепление затвора со стволом поворотной втулкой, связанной со ствольной коробкой.

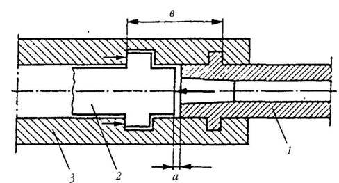
3. При перекосе затвора весь затвор или его часть (остов, стебель) смещается в направлении, перпендикулярном оси канала ствола, и «встает» своей опорной поверхностью на опорную поверхность ствольной коробки. Перекос может осуществляться в вертикальной (карабин СКС, пулемет ZB-30) или горизонтальной (пулемет НСВ-12,7) плоскости. Простота и удобство схемы также сделали ее популярной в конструкциях стрелкового оружия.

4. Затвор может сцепляться со стволом особыми боевыми личинками (или роликами, как в едином пулемете MG-42), разводимыми в стороны и входящими в вырезы ствольной коробки (ручной пулемет ДП). И наоборот – личинки могут быть связаны со ствольной коробкой и входить в соответствующие выемки затвора.

5. Другим способом сцепления затвора может быть качающийся рычаг, упирающийся при запирании одним концом в затвор, другим – в ствольную коробку (ручной пулемет BAR-18, станковые «Гочкис», MAG 5В). Принципиально близко этой схеме запирание поперечно перемещающимся клином, сцепляющим затвор и ствольную коробку (винтовка ABC), качающаяся личинка («Беретта» 92).

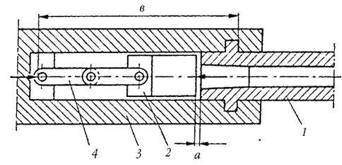
Оружие современной пехоты. Иллюстрированный справочник Часть I - pic_20.jpg

Запирание канала ствола поворотом затвора и сцеплением его боевых выступов затвора с упорами ствольной коробки: 1 – ствол, 2 – затвор, 3 – ствольная коробка, а – зазор между пеньком ствола и зеркалом затвора, в – длина узла запирания

Оружие современной пехоты. Иллюстрированный справочник Часть I - pic_21.jpg

Запирание канала ствола перекосом затвора: 1 – ствол, 2 – затвор, 3 – ствольная коробка, а – зазор между пеньком ствола и зеркалом затвора, в – длина узла запирания

6. Затвор может подпираться системой из двух шарнирно- сочлененных рычагов, находящейся в мертвой точке. При откате подвижных частей рычаги выводятся из мертвой точки с помощью копира, их складывание вызывает ускоренный отход затвора от ствола. Система обладает высокой надежностью, работает плавно, но довольно громоздка; использовалась только на старых образцах оружия (пистолет «Парабеллум», пулемет «Максим»).

7. Также кустаревшим системам относится качающийся затвор, управляемый затворной рамой или пазами короба (пулемет Мадсена).

Все указанные системы запирания могут сочетаться с различными системами автоматики. Выбор той или иной системы зависит от мощности патрона, предъявляемых к оружию требований, особенностей производства, взглядов самого конструктора.

В пистолетах, имеющих относительно легкий и короткий ствол, дополнительная степень свободы иногда придается не затвору, а стволу: запирание и отпирание осуществляются поворотом (пистолет-пулемет ТМР) или снижением (пистолеты «Кольт» М1911, «Браунинг Хай Пауэр», «Веблей- Скотт››) ствола.

В современном стрелковом оружии используются два типа питания – магазинное и ленточное. Магазин представляет .собой устройство для размещения патронов и подачи их на линию досылания. В этом, кстати, его существенное отличие от обоймы и пачки, служащих лишь для размещения патронов. Большинство современных магазинов – сменные. По форме различают коробчатые и дисковые магазины. Коробчатые магазины выполняются – в зависимости от формы патрона – прямыми или изогнутыми (секторными). Патроны в коробчатых магазинах могут располагаться в один или несколько рядов (в многорядных обычно – в шахматном порядке). Коробчатые магазины компактны и удобны при переноске и снаряжении, но имеют недостаточную емкость. В дисковых магазинах патроны могут располагаться по радиусу диска («Льюис», ДП, ILARCO-180) или параллельно его оси (пистолеты-пулеметы «Суоми» и ППШ, ручной пулемет РПК), последний тип магазина называют иногда барабанным.

Дисковые магазины более громоздки, но и более вместимы, что способствует их применению в ручных пулеметах. В некоторых системах (в основном – дробовиках с цилиндрической гильзой без опасности случайного накола капсюля) применяются трубчатые подствольные магазины – патроны в них располагаются последовательно в линию. Большой интерес вызывают шнековые магазины (пистолет-пулемет «Бизон-2», винтовка CALICO). Их работа основана на вращении внутри неподвижного кожуха шнека, подающего к горловине патроны, уложенные в винтовых пазах. Схема довольно сложна в реализации и изготовлении, однако позволяет совместить компактность магазина с большой его емкостью.

Оружие современной пехоты. Иллюстрированный справочник Часть I - pic_22.jpg

Запирание канала ствола разведением боевых упоров затвора: 1 – ствол, 2 – затвор, 3 – ствольная коробка, 4 – качающийся боевой упор, а – зазор между пеньком ствола и зеркалом затвора, в – длина узла запирания

Оружие современной пехоты. Иллюстрированный справочник Часть I - pic_23.jpg

Запирание канат ствола с помощью клина: 1 – ствол, 2 – затвор, 3 – ствольная коробка, 4 – поперечно движущийся клин, а – зазор между пеньком ствола и зеркалам затвора, в – длина узла запирания

Оружие современной пехоты. Иллюстрированный справочник Часть I - pic_24.jpg

Запирание канала ствола шарнирно-рычажной системой: 1 – ствол, 2 – затвор, 3 – ствольная коробка, 4 – система рычагов, а – зазор между пеньком ствола и зеркалом затвора, в – длина узла запирания

В оружии «классической» компоновки приемное окно для магазина располагается в средней части – снизу (большинство образцов), сверху (ZB-30) или сбоку (MP-18, «Стерлинг») коробки.

С конца 70-х гг. большой интерес проявлялся к оружию, построенному по схеме «буллпап» – гнездо магазина расположено в передней части приклада, позади пистолетной рукоятки, а приклад поднят на линию оси канала ствола (хотя основы этой схемы были проработаны тридцатью годами раньше, о чем мы еще скажем). Схема «буллпап» позволяет сделать оружие намного компактнее, но имеет ряд существенных недостатков – смещение назад центра тяжести оружия, сложность обеспечения стрельбы с правого и левого плеча. Поэтому она получила довольно ограниченное распространение, а в 90-е гг. интерес к ней заметно поостыл.

Появился ряд образцов с расположением коробчатых магазинов большой емкости (до 50 патронов) сверху, вдоль ствола (автомат Р-90, винтовка G-11).

В большинстве пулеметов (включая СГ-43, РПД, ПК) и автоматических гранатометов (АГС-17, Мк19) используются патронные ленты. После Второй мировой повсеместно отказались от матерчатых лент, и большинство современных лент относится к металлическим звеньевым рассыпным или нерассыпным. Звено обычно вмещает один патрон, шарнирно соединено с соседними, может быть замкнутым или незамкнутым. Ленточное питание обеспечивает длительную непрерывную стрельбу при минимальной громоздкости системы питания, имеет небольшой мертвый вес, позволяет быстро производить заряжание путем наращивания ленты, но требует наличия в конструкции оружия специальной системы подачи ленты (ползунковой, рычажной, барабанной) и перевода патрона на линию досылания. Поскольку энергия для привода системы подачи ленты отбирается от движущихся деталей автоматики, необходим соответствующий запас по мощности. К тому же при стрельбе с грунта вместе с лентой внутрь оружия нередко попадает грязь. Это заставляет искать замену лентам в виде магазинов повышенной емкости, но не слишком больших размеров. Примером удачных решений могут служить дисковый магазин «Ултимакс-100» и двухдисковый магазин «Бета Компании емкостью 100 патронов. Такие магазины позволяют легко переделывать автоматические винтовки в ручные пулеметы. В некоторых системах (пулемет «Миними››) сочетаются приемники под ленту и под магазин, другие (MG-34) имеют сменный приемник.

12
{"b":"247607","o":1}