Литмир - Электронная Библиотека
Содержание  
A
A

При прямолинейном движении мощность на ведомые валы передается двумя потоками, т. е. одна часть мощности передается механически, а другая – посредством гидротрансформатора. По мере увеличения скорости движения танка поток мощности, передаваемый гидротрансформатором, увеличивается.

Управление коробкой передач и механизмом поворота осуществляется одним рычагом, который служит как для переключения передач, так и для поворота танка.

Включение передач осуществляется гидросерводвигателями.

Поворот танка производится отклонением рычага управления вправо или влево от среднего положения.

Остановочные тормоза дисковые. Они управляются от педали механическим приводом. Кроме того, для управления танком в распоряжении водителя имеется педаль подачи горючего.

Радиус поворота танка с силовой передачей данного- типа зависит от скорости движения: чем она меньше, тем радиус поворота меньше.

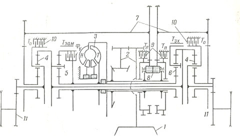
Бронетанковая техника армий капиталистических государств - pic_5.jpg

Рис. 5. Принципиальная кинематическая схема гидромеханической силовой передачи «Кросс-Драйв» танков М46, М47, М48 и М103:

1 – двигатель; 2 – редуктор; 3 – гидротрансформатор; 4, 5, 6 – планетарные ряды; ^ – дополнительные передачи; 5 – дифференциал; 9 – тормозы поворота; 10 – остановочные тормоза; -сортовые передачи

Гидромеханическая силовая передача, устанавливаемая в танке М47, не обеспечивает управляемости при его буксировке и торможении двигателем на спусках.

Силовая установка, силовая передача и ведущие колеса расположены в кормовой части машин.

В передней части расположено отделение управления, где размещаются водитель и его помощник (он же стрелок из курсового пулемета).

Подвеска танка торсионная. Между ведущими колесами и задними опорными катками установлено по одному дополнительному катку небольшого диаметра для обеспечения постоянства натяжения гусеницы и предотвращения ее сбрасывания. Кроме того, на передних узлах подвески установлены вторые амортизаторы.

Для обогрева экипажа в зимних условиях имеется обогреватель.

К танку М47 создано индивидуальное навесное плавсредство (рис. 6) для переправы через водные преграды.

Движение по воде осуществляется с помощью двух гребных винтов, установленных в нишах кормового понтона и имеющих привод от ведущих колес танка.

Максимальная скорость движения танка на плаву до 10 км/час.

Повороты на воде обеспечиваются торможением или остановкой одной из гусениц.

Танк на плаву может вести огонь из пушки и спаренного с ней пулемета.

При выходе на сушу экипаж сбрасывает понтоны, подрывая специальные заряды, помещенные в креплениях понтонов.

Кроме армии США, танки М47 состоят на вооружении армий Западной Германии, Франции, Италии, Бельгии, Испании, Японии, Турции.

Танки М47, состоявшие на вооружении американских войск, находящихся в Европе, после замены их танками М48 поставлены на консервацию.

Средний танк М48 «Паттон» III (рис. 7) принят на вооружение армии США в 1953 г. Он отличается от танка М47 главным образом броневой защитой и'вооружением.

Особенностью танка является то, что его корпус выполнен из одной отливки. Башня танка цельнолитая, полусферической формы, снабжена десантными поручнями Отливки корпуса и башни весят соответственно 10 и 6,3 т.

Бронетанковая техника армий капиталистических государств - pic_6.jpg

Рис. 6. Средний танк М47 «Паттон» II, оборудованный плавсредством

Бронетанковая техника армий капиталистических государств - pic_7.jpg

Рис. 7. Средний танк М48 «Паттон» III

Ствол 90-мм пушки можно заменять в полевых условиях, Пушка снабжена эжекционным устройством Механизм наведения пушки имеет электрогидравлический и ручной приводы.

В первых образцах танка применена установка со- осно с пушкой двух пулеметов калибра 12,7 и 7 62 мм В последующем был оставлен только 7,62-мм пулемет, который устанавливается слева от пушки. На крыше башни на турельной установке смонтирован зенит- ныи 12,7-мм пулемет с дистанционным управлением в результате чего командир может вести огонь из этого пулемета, находясь внутри башни.

Огонь из пушки и спаренного с ней пулемета могут вести наводчик и командир танка.

Управление огнем танка М48 обеспечивается стереоскопическим прицелом-дальномером Т46 с увеличенной базой, установленным у командира. Можно достаточно точно определять расстояние до цели на дистанциях до 4,8 км. В распоряжении наводчика имеются перископический и телескопический прицелы.

Придел-дальномер, пушка и перископический придел наводчика через баллистический привод связаны между собой и с баллистическим вычислителем. Определяемая дальномером дальность автоматически вводится в сетки самого прицела-дальномера и прицела наводчика, т. е. они автоматически устанавливаются в положение, соответствующее замеренной дальности.

В системе управления огнем имеется специальный датчик, который вносит поправки на деривацию, параллакс прицела, потерю начальной скорости вследствие износа ствола, наклон цапф, несоответствие внешней и внутренней температуры.

При неисправности в этой системе дальность до цели, замеренная командиром танка, передается наводчику по внутрипереговорному устройству. Наводчик устанавливает прицел в соответствии с полученной командой.

Из-за трудностей восприятия глубины изображения наводчики и командиры американских танков зачастую избегали пользоваться дальномером. Поэтому для средних танков наряду со стереоскопическими разрабатывались и дальномеры монокулярного типа, которые после доработки их начали устанавливаться на модернизированных танках.

Для наблюдения при вождении танка ночью имеется инфракрасный перископ.

Силовая установка и силовая передача танка М48 такие же, как и на танке М47.

Управление танком осуществляется с помощью гидропривода от штурвала, небольшого рычага, установленного на рулевой колонке, и педали тормоза. Рычаг переключения передач имеет пять положений: на стоянке, нейтраль, замедленная передача, ускоренная передача и задний ход.

Положение сидений водителя и остальных членов экипажа может регулироваться.

Ходовая часть танка М48 та же, что у танка М47. На некоторых танках М48 натяжной ролик между ведущим колесом и задним катком не устанавливался, в связи с чем было несколько изменено расположение катков. Траки гусениц снабжены резино-металлически- ми шарнирами.

В танке установлены приемно-передающая радиостанция и внутрипереговорное устройство. Снаружи танка на кормовом броневом листе корпуса располо жены катушка с кабелем и телефонный аппарат для связи пехоты с членами экипажа через внутрипереговорное устройство.

Танк оборудован двумя бензиновыми обогревателями, работающими по принципу подогрева свежего воздуха, предназначенными для обогрева отделения управления и боевого отделения.

В силовом отделении танка установлен одноцилиндровый четырехтактный бензиновый двигатель воздушного охлаждения мощностью 14,5 л. е., при 3100 об/мин, спаренный с электрогенератором постоянного тока. Этот агрегат предназначен для зарядки аккумуляторных батарей, а также для питания средств связи и других потребителей электроэнергии при неработающем двигателе танка. При запуске основного двигателя танка в условиях низких температур двигатель зарядного агрегата служит вспомогательным средством для обогрева силового отделения. Электрогенератор при запуске двигателя зарядного агрегата выполняет роль стартера.

В стационарной системе противопожарного оборудования используются три баллона с углекислотой, установленные в отделении управления. Все три баллона могут быть разряжены одновременно при помощи одной рукоятки. Баллоны соединены трубопроводами с распылителями, расположенными в силовом отделении. В башне танка имеется переносный огнетушитель, снабженный распылителем и краном.

12
{"b":"946387","o":1}