Литмир - Электронная Библиотека
Содержание  
A
A
Резьба по дереву лобзиком... Ремонт ванной: вопросы и ответы... (Сделай сам" №3∙2019) - _00.jpg_1

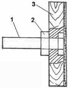
Рис. 8. Опора для двигателя:

1 — основание; 2 — стойка (торцевая доска); 3 — пазы для натяжения ремня; 4 — стенка из фанеры для крепления двигателя

Действует это приспособление следующим образом. С одной стороны (со стороны электродвигателя) рабочий стол прикреплен к станине с помощью рояльной петли, так что стол можно поворачивать (приподнимать) относительно станины, меняя (увеличивая) расстояние между поверхностью стола и рабочим валом станка. При этом выступ пильного диска над столом становится меньше. А чтобы при пилении устанавливать необходимое превышение пильного диска над столом, со стороны вала к станине прикреплен деревянный брусок сечением 5x5 см. В бруске просверлены два отверстия, сверху которых выдалбливают углубления для гаек. Последние крепят в бруске с помощью клея (ПВА или эпоксидного). В гайки снизу вворачивают винты-барашки М6, изготовленные из соответствующих гвоздей длиной 200 мм (рис. 9). Теперь, вворачивая винты, можно поднимать рабочий стол, регулируя тем самым глубину пила.

Резьба по дереву лобзиком... Ремонт ванной: вопросы и ответы... (Сделай сам" №3∙2019) - _01.jpg_1

Рис. 9. Приспособление для регулировки стола по высоте:

1 — винт-барашек М6 (из гвоздя); 2 — гайка; 3 — брусок

Отрезать материал заданной ширины помогает направляющая доска высотой 10 см и толщиной 3 см. Ее крепят к рабочему столу с помощью уголков (например, от гардин). Для перемещения направляющей по рабочему столу в нем пропиливают поперечные пазы (фиксируют направляющую на столе с помощью винтов-барашков и уголков, прикрепленных к направляющей).

Паз для диска пилы в рабочем столе пропиливают следующим образом. Поднимают рабочий стол в вертикальное положение, запускают двигатель, после чего, постепенно опуская рабочий стол на вращающийся пильный диск, формируют в столе паз. Далее паз желательно немного расширить (электролобзиком или обычной ножовкой). Это необходимо сделать для того, чтобы можно было закреплять вместо пильного диска различные шлифовальные круги (в частности, отрезной — вулканит).

Столик для долбления изготовлен из 10-миллиметровой фанеры (рис. 10).

Резьба по дереву лобзиком... Ремонт ванной: вопросы и ответы... (Сделай сам" №3∙2019) - _02.jpg_1

Рис. 10. Столик для долбления

Для установки столика на нужной высоте, как на столе, так и на станине, предусматривают алюминиевые уголки, при этом к столику крепят с помощью болтов уголки с отверстиями (см. рис. 10), а к станине (опять же с помощью таких же болтов) — уголки с пазами (прорезями). Прорези формируют в такой последовательности (рис. 11).

Резьба по дереву лобзиком... Ремонт ванной: вопросы и ответы... (Сделай сам" №3∙2019) - _03.jpg_1

Рис. 11. Изготовление прорезей в уголках

Сначала на полке уголка размечают контуры прорези, затем по краям прорези сверлят отверстия диаметром 6,5 мм, после чего промежуток между отверстиями выбивают зубилом или выпиливают ножовкой по металлу. Так как приспособление для долбления требуется не так уж часто, например, при изготовлении оконных рам, дверей, то обычно его хранят отдельно, привинчивая к станине (4 болтами М6) в случае необходимости.

Панель управления, состоящую из выключателя и кнопки пуска, помещают на торце станины со стороны двигателя, то есть подальше от диска пилы. К торцам станины станка лучше привинтить уголки, с помощью которых станок крепят к столу, чтобы станок не «ездил» во время работы.

После проверки работоспособности всех узлов и механизмов на станок наносят защитное лакокрасочное покрытие. Рабочий стол надежнее всего пропитать горячим воском или парафином.

В заключение хочу обратить особое внимание на технику безопасности при работе на станке:

• рукава должны быть застегнуты;

• при распиловке узких реек необходимо пользоваться деревянным толкателем — иначе можно остаться без пальцев;

• желательно работать в защитных очках.

Еще несколько советов

Под рабочим столом для пильного диска следует сделать защитный кожух, но так, чтобы он не мешал отводу образующихся опилок.

Между узлами (опорами) для крепления мотора и вала можно прибить поперек доску или фанеру (см. рис. 2). Образуется своеобразный ящик для хранения используемого инструмента (штангенциркуля, гаечных ключей, пильных и шлифовальных дисков и т. п.).

Пильный диск удобно точить на этом же станке с помощью отрезного круга (рис. 12).

Резьба по дереву лобзиком... Ремонт ванной: вопросы и ответы... (Сделай сам" №3∙2019) - _04.jpg_0

Рис. 12. Заточка пильного диска

И последнее. В патрон кроме сверл можно зажимать различные шарошки и круги для шлифования, небольшие фрезы. Самодельный шлифовальный круг показан на рис. 13.

Резьба по дереву лобзиком... Ремонт ванной: вопросы и ответы... (Сделай сам" №3∙2019) - _05.jpg_1

Рис. 13. Круг для шлифования:

1 — болт; 2 — гайка; 3 — фанерный диск; 4 — наждачная бумага

Источник http://homemade-product.m/

Пилите, Шура пилите!

Резьба по дереву лобзиком и сегодня не теряет своей популярности. Приятно сделать своими руками интересный предмет декора интерьера, украшения мебели и даже одежды. Резные предметы из фанеры различной толщины органично вписываются в любой стиль дома. Зачастую люди приобретают деревянные резные фоторамки, выпиленные слова и буквы или замысловатые полочки и т. д. в специализированных магазинах за большие деньги. Но мало сто догадывается, что художественное выпиливание лобзиком из фанеры — дело, доступное любому человеку, даже неподготовленному и неопытному. Необходимо только понять, как работать с инструментом.

Резьба по дереву лобзиком... Ремонт ванной: вопросы и ответы... (Сделай сам" №3∙2019) - _06.jpg_0
Что такое лобзик: общее описание

Лобзик — инструмент, предназначенный для выпиливания из фанеры различных контуров, в том числе криволинейных. Он оснащен лезвием с мелкими зубцами, способными сделать срез фанеры ровным без образования значительных заусениц.

Ручной инструмент

Родоначальник этого типа инструмента — ручной лобзик. Он представляет собой металлическую дугу в форме буквы «U», между концами которой натянуто пилящее лезвие, прикрепленное к зажимам. Они надежно удерживают пилку при работе и позволяют регулировать ее натяжение. С одной стороны рамки находится рукоятка.

Зажимы на инструменте могут вращаться, создавая разные плоскости для пиления, тем самым предоставляют возможность для резьбы по дереву разной сложности.

Резьба по дереву лобзиком... Ремонт ванной: вопросы и ответы... (Сделай сам" №3∙2019) - _07.jpg_0

При выпиливании из фанеры ручным лобзиком надо быть аккуратным: его конструкция довольно хрупкая, при интенсивной работе лезвие часто рвется от усилия и нагрева, потому его приходится заменять. Для этого каждый мастер должен иметь несколько десятков запасных пилок.

При работе с лобзиком для резьбы внутренних контуров удобно использовать такую вспомогательную дощечку, как на фото: она поможет и стол защитить, и решить проблему удобного расположения заготовки.

7
{"b":"817661","o":1}