Литмир - Электронная Библиотека
Содержание  
A
A
Путеводитель в мир электроники. Книга 2 - _317.jpg

Необходимо использовать ближайший номинал из ряда (в сторону увеличения).

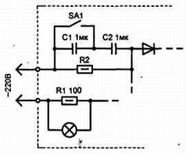
Нужную емкость можно получить из двух конденсаторов, включенных параллельно или последовательно. После этого надо выбрать по справочнику тип стабилитрона VD2 так, чтобы напряжение его стабилизации превышало напряжение заряженных аккумуляторов (ом устанавливается в целях электробезопасности, ограничивая напряжение на выходных контактах, когда аккумулятор не подключен или неисправен). Тип стабилитрона зависит только от количества одновременно заряжаемых аккумуляторов и величины конденсатора, поскольку необходимо, чтобы возможный ток в цепи не превысил максимально допустимый для него.

В этом зарядном устройстве применяются резисторы типа МЛТ или С2-23, конденсаторы С1 и С2 типа К73-17В на рабочее напряжение не менее 400 В. Резистор R1 может иметь номинал 330…620 кОм. Светодиод HL1 подойдет любой, при этом для других токов заряда резистор R3 лучше подобрать экспериментально так, чтобы свечение было достаточно ярким. Диодная матрица VD1 заменяется четырьмя диодами КД102А или аналогичными выпрямительными.

Топология печатной платы с расположением элементов показана на рис. 15.2.

Путеводитель в мир электроники. Книга 2 - _318.jpg

Рис. 15.2. Топология печатной платы и расположение элементов

Плата односторонняя (без отверстий), и элементы устанавливаются со стороны печатных проводников (припаиваются к контактам). При использовании элементов, указанных на схеме, зарядное устройство легко устанавливается в корпусе от блоков питания, выполняемых в виде вилки, или же может размещаться внутри устройства, где установлены сами аккумуляторы.

Проверку зарядного устройства лучше проводить при подключении вместо аккумуляторов измерительных приборов и эквивалентной нагрузки (рис. 15.3), минимальная величина которой для четырех аккумуляторов определяется по закону Ома:

R = U/I = 4/0,026 = 150 Ом,

где U — напряжение на разряженных аккумуляторах (у основной массы аккумуляторов эта величина составляет один вольт на элемент).

Путеводитель в мир электроники. Книга 2 - _319.jpg

Рис. 15.3. Эквивалентная нагрузка, используемая для проверки зарядного устройства

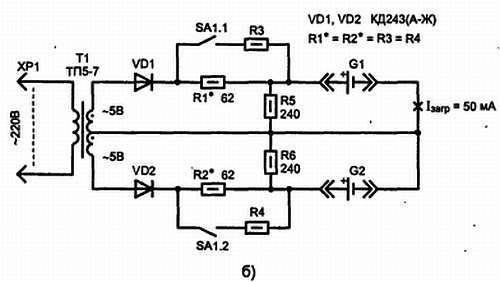
На рис. 15.4 приведена еще одна схема бестрансформаторного зарядного устройства, предназначенного для одновременного заряда двух аккумуляторов типа НКГЦ-0,45 (НКГЦ-0,5 и аналогичных). Здесь обеспечивается асимметричный режим заряда, что, как установили ученые, позволяет продлить срок службы элементов.

Путеводитель в мир электроники. Книга 2 - _320.jpg

Рис. 15.4. Схема зарядного устройства на два аккумулятора

Суть этого метода состоит в том, что заряд аккумуляторов G1 и G2 проводится током 40…45 мА поочередно в течение одной полуволны сетевого напряжения. Так, например, в течение положительной полуволны заряжается G1 (G2 — разряжается). В течение второй полуволны, когда соответствующий диод закрыт, элемент G1 разряжается через резистор R4 током 4,5 мА. Такое построение схемы позволяет осуществлять процесс заряда аккумуляторов независимо друг от друга, и любая неисправность одного из них не нарушит процесс заряда другого.

Имеющийся в схеме переключатель SA1 позволяет увеличить в два раза ток заряда, что может пригодиться для ускорения процесса.

Назначение симметричного стабилитрона VD1 такое же, как и на предыдущих схемах. Для индикации наличия сетевого напряжения используется миниатюрная лампа HL1 (типа СМН6.3-20 или аналогичная). Конденсаторы подойдут из серий К73-17, К73-21, МБГ и другие высоковольтные. Конденсаторы большей емкости можно включить последовательно по схеме, показанной на рис. 15.5.

Путеводитель в мир электроники. Книга 2 - _321.jpg

Рис. 15.5. Возможный вариант подключения конденсаторов в схеме рис. 15.4

При правильной сборке устройства его настройка не потребуется. Во время зарядки надо помнить, что аккумуляторы не следует оставлять подключенными к схеме без включения устройства в сеть, так как при этом происходит их разряд через резисторы R4-R5.

С трансформаторным питанием от сети

Несмотря на принимаемые меры зашиты, все же лучше, если зарядное устройство будет иметь гальваническую развязку от сети. Тем более что в продаже несложно найти подходящий по мощности трансформатор (его выбирать надо не менее чем с двойным запасом по току). Схемы в этом случае могут иметь вид, показанный на рис. 15.6.

Путеводитель в мир электроники. Книга 2 - _322.jpg
Путеводитель в мир электроники. Книга 2 - _323.jpg_0

Рис. 15.6. Простейшие трансформаторные зарядные устройства:

а — с пульсирующим током, б — с асимметричным током (чередуется цикл заряд/разряд)

Они являются универсальными и легко приспосабливаются для заряда большинства аккумуляторов. В схеме на рис. 15.6, а токоограничивающие резисторы R2-R4 можно рассчитать по закону Ома, зная напряжение на выходе трансформатора, после выпрямителя и нужный ток для конкретных аккумуляторов. Но так как часто приходится использовать низковольтные трансформаторы с неизвестным внутренним сопротивлением (падением напряжения под нагрузкой), надежней будет определить эти резисторы экспериментально, для чего включаем в разрыв цепи заряда аккумулятора миллиамперметр и подбираем номинал под нужный ток.

Диоды VD5—VD7 предотвращают разряд элементов в случае отключения питания устройства.

Схема на рис. 15.6, б позволяет одновременно заряжать 2 аккумулятора (или 4, если к обмотке после выпрямительных диодов подключить аналогичный каскад). Заряд элементов производится поочередно (только через резисторы R5, R6), так как они питаются от раздельных однополупериодных выпрямителей.

В то время когда нет заряда, происходит разряд элемента током, в 10 раз меньшим, чем зарядный ток Iзар — резисторы рассчитываем для нужного тока разряда из соотношения:

R5 = R6 = 12/Iзар

где значения тока подставляются в амперах, тогда результат получится в омах.

Теперь о том, как определить резисторы в цепи заряда. Лучше это сделать экспериментально по миллиамперметру, как и для схемы с мостовым Выпрямителем, но с небольшой поправкой. Ведь, во-первых, измерительный прибор будет показывать действующее значение тока всего за один полупериод, во-вторых, часть тока в цепи идет не только на заряд, но и ответвляется через разрядный резистор. Поэтому, чтобы получить амплитудное значение тока в цепи, показания стрелочного миллиамперметра умножаются на коэффициент 0,36 (для амплитуды тока заряда 50 мА измерительный прибор должен показывать не менее 18 мА).

В схеме асимметричного заряда допустимо существенно (в несколько раз) увеличивать зарядный ток. Дополнительные резисторы (R3, R4) и переключатель SA1 позволяют увеличить ток в цепи в два раза для ускорения заряда. Если трансформатор имеет только одну низковольтную обмотку, то подключение VD2 и аккумулятора G2 изменится на противоположное, рис. 15.6, в.

67
{"b":"545321","o":1}