Литмир - Электронная Библиотека
Содержание  
A
A

Пресс состоит из двух брусьев, соединенных друг с другом двумя болтами с гайками-рукоятками. Между брусьями кладется деревянная планка, толщина которой зависит от того, какой толщины желают получить мат. Через середину планки проходит винт, обеспечивающий свободное соединение пресса с треногой. В вертикальных брусьях боковых стенок пресса на определенном расстоянии сделаны отверстия, в которые вставляют направляющие шпильки (стальная проволока диаметром 4 мм, длиной 150–200 мм). На эти шпильки опирается верхняя рама с болтами, которые после закладывания соломы в прессе затягивают.

Отличие этого усовершенствованного пресса от ранее рассмотренного состоит в том, что солому закладывают в пресс сверху, а прессуют ее сбоку; таким образом стебли в мате равномерно распределены и достаточно спрессованы.

Прессование соломы производится следующим способом: раздвигают вертикальные стенки пресса на ширину, равную двойной толщине изготавливаемого мата (например, для мата толщиной 50 мм стенки раздвигают до 100 мм). В нижнее отверстие брусьев вставляют направляющие шпильки, чтобы солома не попадала на планку. Солому закладывают в пресс до требуемой высоты и вставляют верхние направляющие шпильки. На пресс кладут верхнюю раму и, постепенно затягивая четыре болта, прессуют солому до установленной толщины. Концы соломы, выступающие из пресса, обрезают ножом, а мат сшивают.

Преимущество этого пресса состоит в возможности изготовления матов точных размеров различной толщины, причем солома во всем мате равномерно уплотнена. Недостатком данного пресса является его более высокая стоимость.

Технологический процесс при сшивке матов

Пресс устанавливают на необходимый размер и толщину матов. Наиболее подходящая толщина матов – 25 мм (однорамочный мат) и 50 мм (двухрамочный мат). Однорамочный мат может заменить в улье одну сотовую рамку, и между матом и соседней рамкой остается еще необходимая межрамочная улочка для пчел. Маты толщиной 25 мм наиболее распространены. Их можно использовать для сокращения гнезда пчелиных семей на одну сотовую рамку; при сокращении гнезда пчелиных семей на две сотовые рамки однорамочный мат следует вставить с двух сторон корпуса, таким образом семья зимует между двумя соломенными матами.

Солому закладывают в пресс-станок небольшими пучками (дозами) поочередно: сначала в сторону колосьев, потом в сторону корней, так как толщина стеблей соломы на концах различная (у корня более толстая, у колосьев более тонкая).

Заложив солому в пресс-станок, прессуют ее, выступающие концы соломы обрезают ножом и начинают сшивать мат. Сшивка матов будет различной в зависимости от того, будет ли мат иметь верхнюю или нижнюю деревянную планку для подвешивания в корпусе вместо сотовой рамки, или он должен быть без планки для утепления заднего окошка корпуса. В любом случае следует приготовить необходимое количество нарезанных кусков проволоки соответствующей длины (1 000-1 500 мм). Маты, как правило, прошивают в четыре вертикальных ряда.

Сшивка матов без планок

В иглу вдевают проволоку соответствующей длины (лучше более длинную); на расстоянии 25 мм от нижнего края иглой прокалывают спрессованную солому, протягивают проволоку на обратную сторону мата и обводят ее под матом. Затем проволоку протягивают через петлю из проволоки, которую втягивают в мат. Проволоку обводят вокруг мата, а с обратной стороны подсовывают иглу под затянутую проволоку, снова протягивают проволоку через мат и хорошо ее затягивают. Спрессованную солому по окружности связывают. Затем прошивают вдоль вертикальной проволоки так, чтобы при повторной прошивке всегда образовывалась петля. Длина стежков должна быть равной толщине мата. У матов толщиной 25 мм длина стежков должна быть не более 30 мм. При более длинных стежках мат теряет прочность. Прошивку заканчивают так: пропускают проволоку вдоль мата, затягивают ее и обрезают кусачками.

Сшивка матов с планками

Этот способ сшивки матов отличается от вышеприведенного лишь в начале прошивания. При этом способе проволоку сначала пропускают через отверстия в планках, а на конце проволоки при нижней планке делают петлю, которую втягивают в планку при затяжке проволоки. Затем проволоку вдевают, примерно в 20 мм от края мата делают первый прокол наклонно по направлению вверх. Дальнейший прошив такой же, как и в вышеприведенном способе.

Устройство для вырезания отверстий в мате

В матах, применяемых для утепления гнезд пчелиных семей сверху, необходимо иногда сделать отверстие для установки тарелочки для подкормки пчелиных семей; размер отверстия должен составлять 80 мм. Отверстие в мате делают устройством для вырезания. Это тонкостенная стальная трубка диаметром 80 мм, на которой прикреплен держатель. Соломенный мат или войлок кладут на гладкую, ровную поверхность (например, на строганную доску), а устройство поворачивают и одновременно нажимают на него. Острая кромка вырезает солому или войлок, пока не коснется поверхности доски.

Справочник по домашнему пчеловодству - i_065.png

Гребенка для очистки соломы: а – схема размещения гвоздей, б – общий вид

Иглы с желобком и рукояткой: а – разрез иглы, б – общий вид

Справочник по домашнему пчеловодству - i_066.png

Игла для сшивки матов проволокой

Справочник по домашнему пчеловодству - i_067.png

Игла для сшивки матов шпагатом

Справочник по домашнему пчеловодству - i_068.png

Схема последовательности работы при сшивке матов: а – с планками, б – без планок

Справочник по домашнему пчеловодству - i_069.png

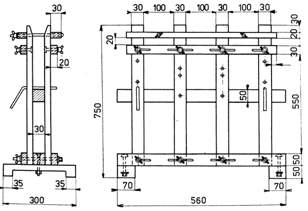
Простой пресс для изготовления матов

Справочник по домашнему пчеловодству - i_070.jpg

Раздвижной пресс для изготовления матов

Справочник по домашнему пчеловодству - i_071.jpg

Раздвинутые стенки раздвижного пресса для изготовления матов

Справочник по домашнему пчеловодству - i_072.jpg

Обрезка выступающих концов соломы после прессования

Справочник по домашнему пчеловодству - i_073.jpg

Устройство для вырезания отверстий в мате

Инвентарь, применяемый при роении пчел

Это устройства, применяемые для быстрого привития роя, направления привития его в более доступном месте на дереве, для снятия привитого роя, временного помещения роя до его посадки в улей и т. п.

Пчеловодный шприц

Это ручной поршневой насос-разбрызгиватель емкостью 0,25 или 0,5 литра. Его корпус сделан из нержавеющей стали или из пластмассы (новодура – твердой пленки из поливинилхлорида). На нижнем конце шприц имеет вращающийся или съемный разбрызгиватель. При установке соответствующего разбрызгивателя шприц можно использовать для интенсивного разбрызгивания воды сильной струей на большое расстояние или можно использовать в качестве распылителя.

Шприц применяют при роении пчел. Разбрызгиванием воды рой принуждают привиться на более доступном для пчеловода месте. Для направления привития летящего роя воду следует разбрызгивать над роем, чтобы вода на летящих пчел падала сверху (в виде дождя); этим рой принуждают привиться на более низком, доступном для пчеловода месте. Если летящих пчел обрызгивают снизу вверх, рой поднимается на большую высоту и улетает или прививается высоко на дереве. Кроме того, шприц применяют в качестве распылителя для обрызгивания пчел водой при заселении нуклеусных ульев, для разбрызгивания небольшого количества воды в откачанные соты при отборе медовых сотов (перед постановкой откачанных сотов в улей) и т. п.

Распылитель

Это стальной баллон емкостью 1 литр. В заливочное отверстие баллона вставляется ручной насос, при помощи которого в баллоне создается необходимое давление. Под действием сжатого воздуха, находящегося над жидкостью, после закрытия выпускного крана вода из баллона выходит через трубочку, которая проходит до дна баллона, затем вода поступает через кран к разбрызгивателю и распыляется в нужном направлении. Распылитель выпускают с двумя разбрызгивателями – для мелкого и грубого распыления воды. Распылитель действует лишь на небольшое расстояние, и поэтому его можно использовать для создания влажной среды при работе по уходу за пчелиными семьями, для обрызгивания водой роя, распыливания воды в откачанные соты после отбора медовых сотов и т. п.

53
{"b":"138796","o":1}