Литмир - Электронная Библиотека
Содержание  
A
A

Поилка в перевернутом положении с просачивающейся водой

Наиболее простой конструкцией поилки в перевернутом положении с просачивающейся водой является стеклянная банка, горловину которой после заполнения водой перевязывают полотном или закрывают крышкой из поливинилхлорида с большим количеством отверстий; стеклянную банку переворачивают вверх дном и ставят на поддон. Пчелы берут воду, высасывая ее через полотно или снизу через отверстия в крышке; такая поилка предотвращает загрязнение воды калом пчел. Кроме того, вода в стеклянной банке нагревается солнечными лучами. Если у пчеловода большее количество пчелиных семей или водой пчел необходимо обеспечить на всю неделю, на общую подставку-поддон можно поставить несколько стеклянных банок. Чтобы вода быстрее согревалась, можно изготовить поилку-батарею. Дно такой поилки, изготовленное из деревянной доски, имеет конусовидные отверстия в соответствии с размерами используемых стеклянных банок. Задняя и верхняя, а также боковые стенки поилки-батареи теплоизолированы при помощи наклеенного слоя полистирола. На передней стенке поилки-батареи стекло вставляется внизу в фальц, а вверху от опрокидывания стекло предохранено шпингалетами. Поилка-батарея может комплектоваться с кормушкой для заменителей перги, которые находятся в пространстве над поилкой. Для этих целей можно применить кормушки в перевернутом положении с просачиванием воды через слой сахара. Стеклянные банки наряду с полотном можно закрывать также стандартными крышками из пластмассы со вставленной сеткой определенной густоты или с несколькими отверстиями диаметром примерно 1 мм. Для поения пчел более пригодными являются кормушки в перевернутом положении, изготовленные из пластмассы или из стекла; металлическая емкость не применяется, поскольку она подвергается коррозии.

Преимущество поилок со стоячей водой состоит в их экономичности и в постоянной готовности вплоть до их полного опорожнения. Однако следует соблюдать требования гигиены к деревянной подставке-поддону, на которую ставят банки в перевернутом положении, а также к крышкам для просачивания воды.

При первом весеннем использовании поилки-батареи ее сначала заполняют жидким сахарным сиропом в соотношении сахара и воды – 1:5. Для приманивания пчел к поилке можно использовать также сот с медом, который ставят вблизи ее. После облета пчел поилку в следующие дни заполняют водой. Для 20 пчелиных семей на одну неделю требуется по крайней мере 40 литров воды, особенно если в ближайшей окрестности нет других источников воды. На очень сухом месте расположения кочевой пасеки расход воды следует проверять.

Справочник по домашнему пчеловодству - i_058.jpg

Четырехсторонняя поилка

Справочник по домашнему пчеловодству - i_059.jpg

Керамическая поилка

Справочник по домашнему пчеловодству - i_060.jpg

Поилка с проточной водой

Справочник по домашнему пчеловодству - i_061.jpg

Поилка простой конструкции с просачивающейся водой

Справочник по домашнему пчеловодству - i_062.png

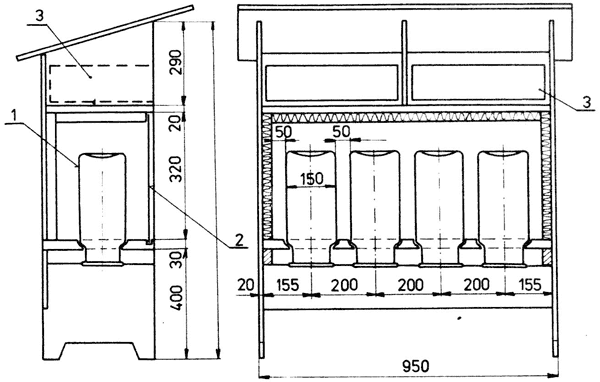
Поилка-батарея с кормушкой для заменителей перги: 1 – стеклянная банка, 2 – стекло, 3 – кормушка для заменителей перги

Справочник по домашнему пчеловодству - i_063.png

Разрез наклонного лотка поилки

Справочник по домашнему пчеловодству - i_064.jpg

Стеклянная банка, перевернутая вверх дном на деревянной доске-поддоне с выбранными пазами

Приспособления для изготовления матов

К ним относятся приспособления, применяемые как для подготовки материала для изготовления матов, так и для их сшивки.

Материал для изготовления матов

Наиболее подходящим материалом для изготовления матов является ржаная или пшеничная солома. В современных условиях такую солому получают при скашивании неполегшего стеблестоя пшеницы или ржи вручную косой. У снопов с зерном топором на деревянной колоде или на доске отрубают колосья и обмолачивают их в комбайне. Ровную, неполоманную солому затем используют. Наряду с соломой применяют также тростник и рогоз, растущие около заболоченных мест.

Гребенка для очистки соломы

Солома после скашивания и просушки бывает не совсем чистой, и поэтому ее необходимо очистить от различных трав, сорняков и от более коротких стеблей. Солому очищают специальной гребенкой, изготовленной из доски шириной примерно 80 мм. В доску забивают два ряда гвоздей таким образом, что их заостренные концы выступают с другой стороны доски. Расстояние между гвоздями должно составлять примерно 15 мм, длина гвоздей – 100–120 мм. Гвозди следует вбивать в заранее просверленные отверстия, диаметр которых на 1–2 мм меньше толщины гвоздей. Гвозди следует вбивать в два ряда для того, чтобы доска не раскололась. При очистке соломы гребенку следует закрепить на столе или на другой прочной поверхности. Очищают ее следующим образом: отдельные пучки соломы протягивают через гребенку, причем сначала очищают более грубую часть соломы. Пучки соломы очищают от сорняка и листьев, слегка ударяя сверху вниз по ровной поверхности (полу), выравнивают и откладывают в сторону. Таким же способом очищают и остальную солому.

Игла и пошивочный материал для сшивки матов

В иглу вдевают пошивочный материал для прошивки матов. Для сшивки матов иногда употребляют расщепленные ивовые прутья, пропаренные лещину и еловые корни или расщепленный тростник. Обычный пеньковый или сизальский шпагат, а также силоновое волокно непригодны для сшивки, так как маты получаются непрочными, а при их использовании изменяют свои размеры. Наиболее пригодным пошивочным материалом для этих целей является луженая или оцинкованная проволока толщиной 0,8–1,0 мм. При использовании более тонкой проволоки работать легче, однако маты получаются менее прочными; наоборот, при применении более толстой проволоки маты прочнее, но работать с ней трудно.

Если мат сшивают расщепленными еловыми корнями, ивовыми прутьями и т. п., следует применять иглу с желобком и рукояткой. При прошивании мата иглу в мат лишь втыкают, не пропуская ее через мат. Через просвет, образованный в мате иглой с желобком, пропускают пошивочный материал на другую сторону мата.

При сшивке матов шпагатом, силоновым волокном или проволокой можно применить обойную иглу длиной 250 мм, которую можно изготовить из проволоки толщиной 3 мм. Один конец иглы расплющивают, а в расплющенной части просверливают отверстие диаметром примерно 3 мм, в которое при прошивке матов вдевают проволоку. Другой конец иглы заостряют и всю ее зачищают стеклянной шлифовальной шкуркой на бумажной основе, чтобы она легко проходила через мат.

Пресс для изготовления матов

Применяют для прессования соломы или другого материала при сшивке матов Пресс состоит из нижнего горизонтального деревянного бруска, к которому с обеих сторон прикреплены более тонкие вертикальные бруски толщиной 30–40 мм. Толщина мата зависит от толщины нижнего бруска. На крайних вертикальных брусках сделаны отверстия для металлических штифтов длиной примерно 150 мм. Штифт образует опору для клиньев, которые забивают под штифты при прессовании соломы. Некоторые прессы наверху снабжены также дополнительной рамой, предотвращающей растягивание вертикальных брусков в стороны. В прессе указанной конструкции солому прессуют сверху.

Конструкция пресса простая и недорогая. Недостаток пресса заключается в том, что на нем можно изготавливать маты только одной толщины. Кроме того, при закладке соломы в пресс каждую треть ее следует подпрессовывать, в противном случае солома во всем мате будет спрессована неравномерно (вверху сильно, внизу слабо).

Раздвижной пресс для изготовления матов

Раздвижной пресс изготовлен из твердой древесины и установлен на треноге, которая позволяет установить его и на неровной поверхности. Пресс, установленный на треноге, можно вращать, поэтому при сшивке матов не требуется помощник. При сшивке матов рабочий сидит около пресса.

52
{"b":"138796","o":1}