Литмир - Электронная Библиотека
Содержание  
A
A

  Глубокие вводы выполняют магистральными и радиальными линиями (рис. 1 ) в зависимости от условий окружающей среды, застройки территории и др. факторов. Схема ввода кабельных радиальных линий непосредственно в трансформатор подстанции является простейшей наиболее компактной и надёжной. При использовании глубоких вводов возможно применение компактных, полностью закрытых ячеек КРУЭ (комплектных распределит, устройств с элегазовым наполнением) на напряжение 110 кв.

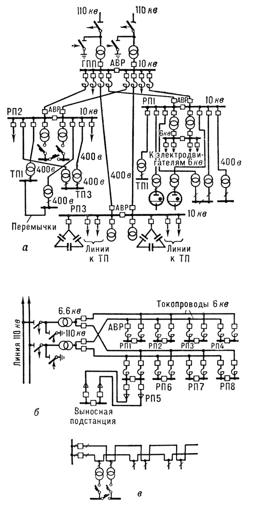
  Схемы распределит, сетей 6—20 кв выполняют магистральными, радиальными или смешанными (рис. 2 ) с модификациями по степени надёжности. Первые ступени Э. крупных предприятий обычно выполняют по магистральным схемам с мощными токопроводами 6—10 кв, от которых через распределительные пункты питаются цеховые трансформаторные пункты. В городских сетях при напряжениях 6 и 10 кв применяют петлевые, двухлучевые и многолучевые схемы, являющиеся разновидностями магистральных.

  На крупных узловых подстанциях 110—220 кв (на больших заводах, в городах с развитой электрической сетью, большим числом присоединений и т. п.) электрические схемы обычно имеют двойную систему шин. При напряжениях 6 и 10 кв в крупных распределительных устройствах в случае необходимости разделения питания или выделения потребителей (например, на крупных преобразовательных подстанциях) двойная система шин позволяет переводить некоторые агрегаты на пониженное напряжение, сохраняя для прочих потребителей нормальное напряжение. В потребительских электроустановках наиболее часто используют схемы подстанций с одной системой секционированных шин с применением (при необходимости) автоматики на секционных выключателях или вводах. При частых оперативных переключениях и ревизиях (осмотрах и проверках) выключателей целесообразными являются схемы с обходной (дополнительной) системой шин, которая позволяет произвести ревизию или ремонт любой рабочей системы шин и любого выключателя без перерыва питания. Эти схемы применяют, например, на крупных электропечных подстанциях промышленных предприятий. Распространены простейшие схемы подстанций без шин первичного напряжения на подстанциях глубоких вводов 210 и 220 кв и на трансформаторных подстанциях 10 и 6 кв, питаемых по блочным схемам линия — трансформатор (см. рис. 1 и 2 ). На трансформаторных подстанциях на стороне 10 и 6 кв ставят выключатели нагрузки, а при радиальном питании применяют глухое присоединение трансформаторов.

  На крупных объектах рационально строительство электрических сетей с мощными токопроводами 10 и 6 кв (взамен большого числа кабелей), кабельных эстакад и галерей (вместо дорогих и громоздких туннелей), прокладка кабелей 110 и 220 кв (взамен воздушных линий).

  Надёжность Э. зависит от требований бесперебойности работы электроприёмников. Необходимая степень надёжности определяется тем возможным ущербом, который может быть нанесён производству при прекращении их питания. Существуют 3 категории надёжности электроприёмников. К 1-й категории относят те, питание которых обеспечивают не менее чем 2 независимых автоматически резервируемых источника. Такие электроприёмники необходимы на объектах с повышенными требованиями к бесперебойности работы (например, непрерывное химическое производство). Наилучшие в этом случае схемы Э. с территориально разобщёнными независимыми источниками. Допустимый перерыв в Э. для некоторых производств не должен превышать 0,15—0,25 сек , поэтому важным условием является необходимое быстродействие восстановления питания. Для особо ответственных электроприёмников в схеме Э. предусматривают дополнительный третий источник. Ко 2-й категории относятся электроприёмники, допускающие перерыв питания на время, необходимое для включения ручного резерва. Для приёмников 3-й категории допускается перерыв питания на время до 1 сут, необходимое на замену или ремонт поврежденного элемента системы.

  Качество электроэнергии. В системы Э. часто входят электроприёмники, работа которых сопровождается ударными нагрузками и неблагоприятно отражается на работе других («спокойных») электроприёмников, общем режиме работы системы, на качестве электроэнергии (см. Электроэнергии качество ). К таким электроприёмникам относятся вентильные преобразователи, дуговые электропечи, электросварочные аппараты, электровозы, работа которых сопровождается резкопеременными толчками нагрузки, колебаниями напряжения, снижением коэффициента мощности, образованием высших гармоник, возникновением несимметрии напряжений. Показатели качества электроэнергии улучшаются при повышении мощности короткого замыкания в точке сети, к которой приключены электроприёмники с неблагоприятными характеристиками. Чтобы создать такие условия, уменьшают реактивное сопротивление питающих линий, не включая в них реакторы электрические или уменьшая их реактивность, исключая из схем токопроводы и др. При этом должна быть соответственно увеличена отключаемая мощность выключателей.

  Вопросы улучшения качества электроэнергии решаются комплексно при проектировании систем Э. и электропривода. Хорошие результаты даёт разделение питания электроприёмников с ударными и т. н. спокойными нагрузками путём присоединения их к разным трансформаторам и различным ветвям расщепленных трансформаторов или плечам сдвоенных реакторов. Улучшению качества электроэнергии способствует внедрение в схемы Э. электроприводов с пониженным потреблением реактивной мощности, применение многофазных схем выпрямления и др. При недостаточности этих мероприятий применяют специальные устройства: синхронные компенсаторы с быстродействующим возбуждением, большой кратностью перегрузки по реактивной мощности (в 3—4 раза), работающие в т. н. режиме слежения за реактивной мощностью электроприёмников; синхронные электродвигатели со спокойной нагрузкой, присоединяемые к общим с вентильными преобразователями шинам и имеющие необходимую располагаемую мощность и быстродействующее возбуждение с высоким уровнем форсировки; статические источники реактивной мощности с высоким быстродействием, безынерционностью и плавным изменением реактивной мощности; продольную ёмкостную компенсацию, дающую возможность мгновенного безынерционного и непрерывного автоматического регулирования напряжения; силовые резонансные электрические фильтры для гашения высших гармоник.

  Лит.: Князевский Б. Л., Липкин Б. Ю., Электроснабжение промышленных предприятий, М., 1969; Крупович В. И., Ермилов А. А., Трунковский Л. Е., Проектирование и монтаж промышленных электрических сетей, М., 1971; Козлов В. А., Билик Н. И., Файбисович Д. Л., Справочник по проектированию систем электроснабжения городов, Л., 1974; Ермилов А. А., Основы электроснабжения промышленных предприятий, 3 изд., М., 1976.

  А. А. Ермилов.

Большая Советская Энциклопедия (ЭЛ) - i010-001-244504367.jpg

Рис. 1. Схема глубоких вводов 110 и 220 кв: а - радиальная; б - магистральная; ПГВ - подстанции глубокого ввода; УРП - узловая распределительная подстанция.

Большая Советская Энциклопедия (ЭЛ) - i010-001-249732508.jpg

Рис. 2. Схемы сетей 6 и 10 кв: а — двухступенчатая радиальная с промежуточными распределительными пунктами (РП); б — магистральная с токопроводами; в — двухлучевая с автоматическим включением резерва (АВР) на напряжение 0,4 кв; ГПП — главная понизительная подстанция; ТП — трансформаторная подстанция.

Электросталеплавильное производство

Электросталеплави'льное произво'дство, получение стали в электрических печах металлургических или машиностроительных заводов. Электросталь, предназначенная для дальнейшего передела, выплавляется главным образом в дуговых печах с основной футеровкой. Существует несколько разновидностей электроплавки в дуговых печах ; с полным окислением примесей; переплав легированных отходов без окисления н с применением газообразного кислорода; метод смешения; плавка на жидком полупродукте (дуплекс-процесс ) и др.

89
{"b":"106437","o":1}