Литмир - Электронная Библиотека

Предельно ограниченные сроки разработки, трудности первого периода войны, а также нехватка металла выдвинули особые требования к разрабатываемым минам. В то же время требовалась простая и технологичная конструкция мин, чтобы их можно было выпускать не только на специальных заводах, но и на небольших фабриках и в мастерских. Требовалось разработать упрощенную технологию снаряжения мин взрывчатым веществом, позволяющую применять все виды ВВ — прессованные, плавленые и порошкообразные.

В начальный период войны применялась противотанковая деревянная мина ЯМ-5. Корпус ее был предельно прост — прямоугольный деревянный ящик, сбитый гвоздями. Эти мины изготовлялись во фронтовых мастерских, где снаряжались табельными тротиловыми шашками. На заводах их снаряжали плавлеными и порошкообразными взрывчатыми веществами. Мина имела упрощенный взрыватель УВ с деревянной чекой. Однако мины ЯМ-5 не всегда были надежны в действии и безопасны при снаряжении и установке. Поэтому их сняли с производства, как только появились более надежные образцы.

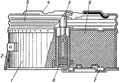
Широкое применение нашла противотанковая деревянная мина ТМД-Б (рис. 2), созданная конструктором И. П. Беляковым.

Минное оружие - i_003.jpg

Рис. 2. Мина ТМД-Б:

1 — корпус; 2 — нажимная планка; 3 — дверка; 4 — соединительная (запорная) планка; 5 — взрыватель МВ-5; 6 — брикеты ВВ.

Она представляла собой деревянный ящик, изготовленный из досок толщиной 10 мм, скрепленных гвоздями. Мину можно было снаряжать любым взрывчатым веществом — прессованными тротиловыми шашками, плавленым и порошкообразным ВВ или готовыми прессованными брикетами. В основном она снаряжалась прессованными брикетами из смеси тротила и аммонита. Обычно эти брикеты делали на специальных заводах, но в годы войны они были загружены изготовлением артиллерийских снарядов и мин. Однако выход из создавшегося положения был найден. Технологи организовали массовое производство брикетов из аммонита на кирпичных заводах, использовав прессы, предназначенные для изготовления кирпича. Два готовых брикета вкладывались в ящик, между ними помещался промежуточный детонатор — тротиловая шашка массой 160 г. Вот и все снаряжение. Масса мины 9,0 кг, масса заряда 4,8 кг. В ней применялся взрыватель МВ-5.

Опыт войны показал, что и эта конструкция имела недостатки. Деревянный откидной щиток (дверка) от влаги разбухал, соединительная планка с трудом входила в паз. После долгого пребывания в земле ее часто невозможно было вытащить, что сильно затрудняло обезвреживание мины в случае необходимости. Сквозь щели внутрь мины попадала вода. В 1944 году конструкция мины была усовершенствована. Вместо нажимной планки, закрываемой задвижкой, в центре корпуса сделали горловину, через которую вставлялся взрыватель. Горловина закрывалась пластмассовой пробкой. Модифицированная мина получила название ТМД-44.

У деревянных мин много преимуществ, но им присущи и недостатки: малая механическая прочность; большие габариты; относительно большая трудоемкость при изготовлении корпуса; отсутствие герметичности. Поэтому еще в предвоенные годы разрабатывались мины с цельнометаллическим корпусом.

Перед началом войны была сконструирована противотанковая мина ТМ-41 (рис. 3).

Минное оружие - i_004.jpg

Рис. 3. Металлическая противотанковая мина ТМ-41:

1 — корпус; 2 — ручка; 3 — гофры; 4 — нажимной диск; 5 — взрыватель МВ-5 с запалом; 6 — ВВ (тротил); 7 — заливная горловина; 8 — промежуточный детонатор.

Металлический корпус ее — штампованный цилиндрической формы. Сверху к нему точечной сваркой приваривался гофрированный нажимной щиток. Мина снаряжалась плавленым или порошкообразным тротилом с промежуточным детонатором, а также взрывателем МВ-5. Испытания прошли успешно. Нужно было скорее наладить массовое производство этих мин. Выручили предприятия, выпускающие… хозяйственную посуду. Штампы и матрицы для изготовления обычных кастрюль после небольшой переделки были приспособлены для штамповки корпуса мины. Это позволило довольно быстро наладить массовый выпуск мин.

Одновременно велись работы и над созданием противопехотных мин. В начальный период войны была создана противопехотная мина осколочного действия ПОМЗ-2. Благодаря несложной конструкции и большой боевой эффективности она широко применялась на фронтах Великой Отечественной войны. Одна мина перекрывала участок до 10 м; при взрыве она давала до 300 убойных осколков, обеспечивая радиус сплошного поражения до 4 м.

Широко применялась деревянная противопехотная мина нажимного действия ПМД-6. Корпус ее представлял собой деревянную коробочку, закрывающуюся шарнирно скрепленной с ней деревянной крышкой.

Большой урон немцам наносили мощные противопехотные осколочно-заградительные мины (ОЗМ), управляемые по проводам. Еще до войны была разработана мина ОЗМ-152. Она представляла собой корпус 152-мм артиллерийского снаряда, к днищу которого приваривалась так называемая вышибная камора, имеющая заряд метательного ВВ и электровоспламенитель. Мину устанавливали в грунт в специально отрытый колодец и маскировали, а провода от каморы выводили на пункт управления. Когда пехота противника приближалась к месту установки мины, на нее подавалось напряжение. Вышибной заряд выбрасывал снаряд, который взрывался над землей, образуя большое количество осколков. Радиус сплошного поражения мины 40 м. Вышибная камора позволяла использовать не только 152-мм артиллерийские снаряды, но снаряды и минометные мины любого калибра.

Наряду с противотанковыми и противопехотными минами в предвоенные годы и в ходе войны было разработано немало мин другого назначения: противотранспортных, противодесантных, управляемых, мин замедленного действия и других. Советская Армия значительно превзошла фашистскую не только по массовости применения мин, но и по разнообразию их конструкций.

Успешное применение минновзрывных заграждений стало возможно лишь благодаря отличной выучке, героизму и самоотверженности наших саперов — скромных тружеников войны, как называли их в те годы. Умело взаимодействуя с артиллеристами, устанавливая мины иногда «под носом» наступающих танков противника, они создавали непреодолимые заслоны на их пути.

Особое место среди минновзрывных заграждений занимали мины, управляемые по радио.

…Командующий 4-й танковой группой генерал Эрих Гёппнер нервничает. Ему необходим мост через реку Истру. «Вы понимаете, полковник, что через этот мост лежит кратчайший путь войск фюрера к Москве, — говорит он. — Ваша нераспорядительность срывает последний, сокрушительный удар по их столице».

Полковник, отвечающий за строительство моста, торопит подчиненных. Наконец мост готов и на него вступила колонна техники. Но внезапный взрыв огромной силы приводит гитлеровцев в замешательство. Вместе с мостом вверх полетели обломки техники и фашистские солдаты. Гитлеровское командование мечет «громы и молнии». Срывается переброска войск и их снабжение в тот момент, когда фашистам казалось, что они вот-вот ворвутся в Москву. Ведь мост тщательно охранялся. Причина взрыва не ясна. И самое загадочное для фашистских инженеров то, что таинственный взрыв далеко не первый…

…Утром 24 октября 1941 года фашистские танки ворвались в Харьков. За ними осторожно, проверяя каждый шаг, вступили пехотные части. Дело в том, что вражеская разведка получила сведения, что советские войска установили в Харькове много различных мин, в том числе и замедленного действия.

Сведения разведки подтвердились. Большим успехом гитлеровцы считали обнаружение мины с большим зарядом взрывчатого вещества в доме № 17 по улице Дзержинского — одноэтажном особняке старинной постройки. Когда взрывчатка была извлечена, там поселился начальник гитлеровского гарнизона Харькова генерал-майор фон Браун со своими приближенными.

После совещания 13 ноября 1941 года генерал фон Браун лег поздно и уже больше не встал. В 4 ч 20 мин в доме произошел взрыв, здание взлетело на воздух. При взрыве был убит генерал фон Браун и около двадцати офицеров и солдат. В ярости гестаповцы расстреляли группу фашистских минеров, непосредственно проверявших здание. Командира саперного батальона понизили в должности и послали на фронт…

4
{"b":"568556","o":1}