Литмир - Электронная Библиотека
Содержание  
A
A

«Измарагд»

«Измара'гд» (от греч. smáragdos — изумруд), русский нравоучительный сборник 14 века. Возникновение «И.» связывают с Владимирским княжеством. «И.» содержит около 100 статей, большей частью переведённых с греческого языка, частично переработанных применительно к русским условиям. Тематика сборника разнообразна: «слова»-поучения о «почитании книжном», христианских добродетелях, пороках (жадности, пьянстве и т. п.), добрых и злых жёнах, воспитании детей и отношении к слугам, о тяжести рабства. Вместе с другими сборниками «И.» повлиял на создание «Домостроя» .

  Лит.: История русской литературы, т. 2, ч. 1, М. — Л., 1946, с. 157—62; Клибалов А. И., Реформационные движения в России в XIV — первой половине XVI вв., М., 1960.

Измельчение

Измельче'ние в технике, тонкое дробление (до частиц размером меньше 5 мм ) какого-либо твёрдого материала. И. широко применяется для обогащения полезных ископаемых в горном деле, а также в металлургии, химической, строительной и др. отраслях промышленности.

  И. известно с древнейших времён. Пест и ступка из камня были известны за 8000 лет до н. э. За 3500 лет до н. э. ручные мельничные жернова применялись в Египте и Китае для И. зерна и лишь отчасти в горном деле. С 16 века для И. руд использовались толчеи (падающие песты). Машинное И. стало развиваться со 2-й половины 19 в. Принцип действия шаровой мельницы, основного измельчающего аппарата, был известен уже 150 лет тому назад; прототип современной мельницы изобретён в 70-х гг. 19 в.

  Способы И. — раздавливание, удар, истирание, при которых основное значение имеют деформации сжатия и сдвига. По существу И. является процессом образования новых поверхностей. Под действием внешних сил в куске возникают напряжения, вызывающие микротрещины, которые способны частично закрываться (самозаживляться) при снятии нагрузки. Некоторая предельная концентрация микротрещин в единице объёма может вызвать возникновение по крайней мере одной большой трещины, которая приводит к распадению куска на части. Поверхностно-активные молекулы веществ, присутствующих в окружающей среде, адсорбируясь на стенках трещин, препятствуют их самозаживлению («эффект Ребиндера»). При повторном нагружении куска такие трещины могут дать начало большой трещине и т. д. Это явление концентрации вещества на поверхности трещин объясняет действие понизителей твёрдости, способствующих И. По мере уменьшения размера кусков в процессе И. их прочность возрастает, так как в мелких частицах оказывается меньше структурных дефектов. При очень тонком И. частицы размерами в несколько мкм и мельче могут под действием сил молекулярного сцепления образовывать хлопья и сростки. В этом случае при И. одновременно возникают новые мелкие кусочки, происходит их частичное укрупнение вследствие агрегатирования. Для предотвращения агрегатирования добавляют поверхностно-активные вещества, покрывающие частицы тончайшей плёнкой, которая препятствует слипанию. И. во многих случаях сопровождается химическими превращениями на поверхности частиц. Распределение частиц по крупности в продуктах И. обычно носит закономерный характер. Мерой крупности продукта может служить удельная поверхность, так как она обратно пропорциональна среднему размеру частиц.

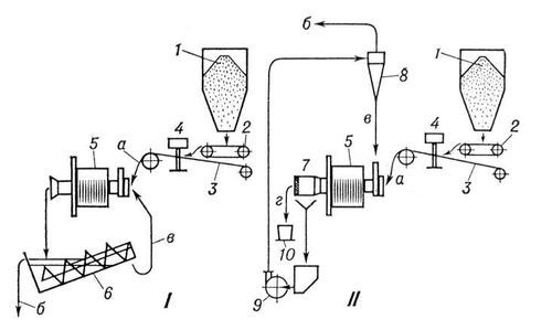
  Для И. полезных ископаемых и материалов цементной и химической промышленности применяются в основном барабанные мельницы: шаровые, стержневые, галечные и самоизмельчения (см. Мельница ); в промышленности строительных материалов для И. глин, кварца, полевого шпата используют бегуны. В роликовых и кольцевых мельницах измельчаются мягкие и средней твёрдости неабразивные материалы (например, фосфориты, угли). Для очень тонкого И. небольших количеств материала с размерами зёрен от 1—2 мм до 0,05 мм применяют вибрационные мельницы. Сверхтонкое И. материалов крупностью 0,1—0,2 мм до частиц размером 2—10 мкм осуществляется в струйных мельницах. Показатели производительности машин для И. включают не только массу, но и крупность исходного материала и продукта. Расход энергии на И. зависит от прочности (измельчаемости) материала и крупности исходного материала, степени загрузки мельницы и др. Для повышения производительности мельниц и уменьшения переизмельчения материала И. часто осуществляют в замкнутом цикле с классифицирующим аппаратом; при этом из материала, разгружающегося из мельницы, выделяется готовый измельченный продукт, а крупный материал возвращается в мельницу (рис. 1 ). Мельницы эффективно работают только при определённой степени И. (см. Дробление ), поэтому для получения тонкого продукта И. часто ведут в два, реже в три приёма (стадии). При этом возможны разные схемы И.; например, при двухстадийной схеме мельница первой стадии может работать в открытом цикле, а мельница второй — в замкнутом (рис. 2 ). На рис. 3 в качестве примера показана распространённая схема мокрого И. руд в шаровой мельнице.

  Получают развитие новые принципы И., основанные на использовании электрогидравлического эффекта (электрический разряд в воде), токов высокой частоты, соударения встречных потоков воздуха, несущих твёрдые частицы (так называемые струйные мельницы), и др.

  Лит.: Ромадин В. П., Пылеприготовление, М. — Л., 1953; Моргулис М. Л., Вибрационное измельчение материалов, М., 1957; Ребиндер П. А., Физико-химическая механика, М., 1958; Олевский В. А., Размольное оборудование обогатительных фабрик, М., 1963; Дешко Ю. И., Креймер М. Б., Крыхтин Г. С., Измельчение материалов в цементной промышленности, 2 изд., М., 1966; Акунов В. И., Струйные мельницы, 2 изд., М., 1967; Козулин Н. А., Горловский И. А., Оборудование заводов лакокрасочной промышленности, 2 изд., М., 1968.

  В. А. Перов.

Большая Советская Энциклопедия (ИЗ) - i009-001-201123208.jpg

Рис. 3. Схема мокрого измельчения в шаровой мельнице в замкнутом цикле со спиральным классификатором I и с гидроциклоном II: 1 — бункер дроблёной руды; 2 — питатель руды; 3 — конвейер ленточный; 4 — весы конвейерные; 5 — мельница шаровая: 6 — классификатор спиральный; 7 — грохот барабанный; 8 — гидроциклон; 9 — насос песковый; 10 — контейнер (а — дроблёная руда мельче 30 мм ; б — измельченная руда — слив мельче 0,2 мм ; в — пески, оборотный продукт; г — обломки шаров, куски руды).

Большая Советская Энциклопедия (ИЗ) - i009-001-208617476.jpg

Рис. 2. Схема двухстадийного измельчения.

Большая Советская Энциклопедия (ИЗ) - i009-001-233687649.jpg

Рис. 1. Схема замкнутого цикла измельчения.

Измельчитель кормов

Измельчи'тель кормо'в, машина для измельчения кормов перед их скармливанием с.-х. животным. В СССР для измельчения грубых кормов (солома, стебли кукурузы и др.) используют И. к. ИГК-ЗОА (производительность до 3 т/ч ), в котором дробление производится быстровращающимся диском и неподвижной декой со штифтами, расщепляющими солому вдоль волокон и измельчающими поперёк до мякинообразной массы. Корнеплоды, клубни картофеля, зелёную массу и др. измельчают (и перемешивают) в И. к. «Волгарь-5» (производительность 5—10 т/ч ). Основные рабочие органы его — режущий барабан с ножами и режущий аппарат. Измельчитель силоса ИС-2 (производительность 1,5—3,5 т/ч ) предназначен для измельчения зелёных растений и корнеклубнеплодов. Ножевой аппарат его превращает корм в мелкую сечку; при установке же сменной противорежущей пластины (в виде диска с отверстиями) можно получать пастообразную массу. Для измельчения кормов применяют И. к. других марок, а также дробилки кормов , корнерезки , соломосилосорезки , овощетёрки и др. машины с режущими или перетирающими рабочими органами.

29
{"b":"106086","o":1}