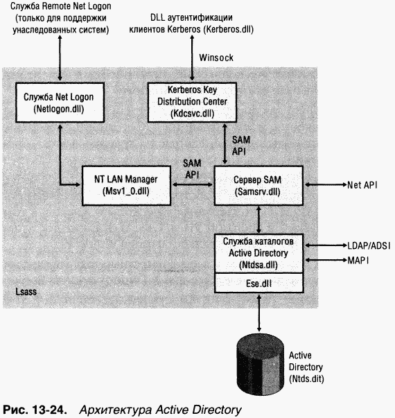
• NTDS API Применяется для просмотра SID и GUID в Active Directory (в основном через DsCrackNames), а также для управления каталогом и его репликацией. Несколько сторонних разработчиков написали приложения, позволяющие вести мониторинг Active Directory через этот API. Active Directory реализована в виде файла базы данных (по умолчанию — в \Windows\Ntds\Ntds.dit), реплицируемой между контроллерами домена. Этой базой данных управляет служба каталогов Active Directory, которая является Windows-сервисом, выполняемым в процессе LSASS; при этом она использует DLL, реализующие структуру базы данных на диске и предоставляющие механизмы обновления на основе транзакций для поддержания целостности базы данных. B Windows 2000 хранилище базы данных Active Directory реализовано на основе ядра Extensible Storage Engine (ESE), применяемого в Microsoft Exchange Server 5.5, a в Windows 2003 Server — на основе ядра ESE, используемого в Microsoft Exchange Server 2000. Архитектура Active Directory показана на рис. 13–24.

Network Load Balancing
Как мы уже говорили в этой главе, в основе компонента Network Load Balancing (Балансировка нагрузки сети), который входит в Windows Advanced Server, лежит технология промежуточных драйверов NDIS. Network Load Balancing допускает создание кластера, включающего до 32 компьютеров, которые в терминологии Network Load Balancing называются узлами кластера (cluster hosts). Кластер поддерживает единый виртуальный 1Р-адрес, публикуемый клиентам, и клиентские запросы поступают ко всем компьютерам кластера. Однако на запрос отвечает только один узел кластера. Драйверы NDIS компонента Network Load Balancing эффективно разделяют клиентское пространство между доступными узлами кластера по аналогии с распределенной обработкой. При таком подходе каждый узел обрабатывает свою порцию клиентских запросов, причем каждый клиентский запрос обрабатывается одним — и только одним — узлом. Если входящий в состав кластера узел определяет, что именно он должен обработать клиентский запрос, то этот узел позволяет запросу пройти до уровня драйвера TCP/IP и в конце концов достичь серверного приложения. Если на узле кластера происходит авария, остальные узлы кластера распознают, что этот узел больше не способен обрабатывать запросы, и перераспределяют поступающие клиентские запросы между собой; при этом клиентские запросы отключенному узлу больше не посылаются. K кластеру можно подключить новый узел на замену потерпевшему аварию, и он автоматически примет участие в обработке клиентских запросов.
Network Load Balancing не является универсальным кластерным решением, поскольку серверные приложения, с которыми взаимодействуют клиенты, должны обладать определенными характеристиками. Во-первых, они должны поддерживать TCP/IP, а во вторых, уметь обрабатывать клиентские запросы на любой системе в кластере Network Load Balancing. Второе требование, как правило, означает, что приложения, у которых для обслуживания клиентских запросов должен быть доступ к общему состоянию (shared state), обязаны сами управлять этим состоянием. B Network Load Balancing не входят сервисы автоматического распределения общего состояния между узлами кластера. Приложения, идеально подходящие для Network Load Balancing, — Web-сервер со статичным информационным наполнением (контентом), Windows Media Server и Terminal Services (Службы терминалов). Пример работы Network Load Balancing показан на рис. 13–25.
Служба репликации файлов
Служба репликации файлов (File Replication Service, FRS) входит в системы Windows Server. Она предназначена в основном для репликации содержимого каталога \SYSVOL контроллера домена (в этом месте контроллеры доменов Windows хранят сценарии регистрации и групповые политики). Кроме того, FRS позволяет реплицировать общие ресурсы DFS (Distributed File System) между системами. FRS поддерживает распределенную репликацию с несколькими хозяевами (distributed multimaster replication), благодаря чему репликацию может проводить любой сервер. Когда реплицируемый файл или каталог изменяется, эти изменения распространяются на другие контроллеры домена.
Фундаментальное понятие в FRS — набор репликации (replica set), представляющий собой дерево каталогов, которое реплицируется между двумя или более системами по определенной топологии и расписанию, заданному администратором. Реплицированы могут быть только каталоги на томах NTFS, поскольку FRS использует журнал изменений NTFS для определения модификаций в файлах и каталогах, включенных в набор репликации. Поскольку FRS обеспечивает репликацию с несколькими хозяевами, теоретически она может поддерживать сотни и даже тысячи систем в наборе репликации, а топология соединения соответствующих компьютеров может быть совершенно произвольной (кольцо, звезда, сетка и др.). Кроме того, компьютеры могут участвовать в нескольких наборах репликации.
FRS реализована в виде Windows-сервиса (\Windows\System32\Ntfrs.exe), который использует аутентифицируемый RPC для взаимодействия со своими экземплярами, работающими на других компьютерах. Кроме того, поскольку Active Directory располагает собственными средствами репликации, FRS использует API-функции Active Directory для выборки конфигурационной информации из домена Active Directory.
DFS
DFS (Distributed File System) — сервис поверх службы рабочей станции, соединяющий отдельные файловые ресурсы в единое пространство имен. DFS обеспечивает клиентам прозрачный доступ к файловым ресурсам независимо от того, где находятся эти ресурсы — на локальном или удаленных компьютерах. Корнем пространства имен DFS должен быть файловый ресурс, определенный на компьютере с Windows Server.
B дополнение к унифицированному пространству имен сетевых ресурсов DFS дает и другие преимущества при использовании наборов репликации DFS. Администратор может создать набор репликации DFS минимум из двух сетевых ресурсов и использовать механизм репликации вроде FRS для копирования данных между ресурсами, входящими в набор репликации, и тем самым обеспечить синхронизацию их содержимого. DFS поддерживает несколько видов балансировки нагрузки, упорядочивая и/или выбирая сетевые ресурсы, входящие в набор репликации, при обращении клиента к данным из этого набора. DFS также обеспечивает высокую доступность данных, перенаправляя запросы на другие сетевые ресурсы из набора репликации, если какой-то из сетевых ресурсов временно недоступен.
Компоненты, образующие архитектуру DFS, показаны на рис. 13–26. Реализация DFS на серверной стороне включает Windows-сервис (\Windows\ System32\Dfssvc.exe) и драйвер устройства (\Windows\System32\Drivers\ Dfs.sys). Служба DFS отвечает за экспорт интерфейсов управления топологией DFS и поддержку топологии DFS либо в реестре (в отсутствие Active Directory), либо в Active Directory. Драйвер DFS принимает клиентский запрос и переадресует его системе, на которой находится запрошенный файл.
Ha клиентской стороне поддержка DFS реализована в драйвере MUP (о нем мы уже рассказывали) и использует редиректор CIFS для взаимодействия с серверами DFS на внутреннем уровне. Провайдер клиента DFS реализован в \Windows\System32\Ntlanman.dll. Когда клиент выдает запрос на ввод-вывод для файла в пространстве имен DFS, драйвер MUP на клиентской стороне взаимодействует с сервером, на котором находится этот файл, через подходящий редиректор.
Резюме
Сетевая архитектура Windows предоставляет гибкую инфраструктуру сетевым API, драйверам протоколов и сетевых адаптеров. Эта архитектура использует преимущества многоуровневого ввода-вывода, обеспечивая расширяемость сетевой поддержки по мере развития компьютерных сетей. При появлении нового протокола разработчики смогут создать транспорт TDI, реализующий этот протокол в Windows. Аналогичным образом новые API смогут взаимодействовать с существующими драйверами протоколов Windows. Наконец, набор сетевых API, реализованных в Windows, позволяет разработчикам сетевых приложений выбирать подходящие им реализации, поддерживающие разные модели программирования и протоколы.