Рис. 18. Открытая щель на отделение (расчет, экипаж):
1 – водосборный колодец; 2 – жерди
Рис. 19. Перекрытая щель на отделение (расчет, экипаж) :
1 – покрытие; 2 – перекрытый участок входа; 3 – водосборный колодец; 4 – жерди; 5 – скрутки из 3-4-мм проволоки
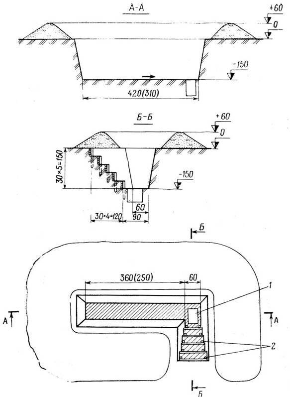
Рис. 20. Блиндаж безврубочной конструкции из лесоматериала на отделение (экипаж):
1 – перекрытый участок траншеи; 2 – вентиляционный короб; 3 -накат; 4 – нары; 5 – место для сиденья; 6 – печь из местных материалов; 7 – стойка входа; 8 – дверной щит; 9 – пригрузочный элемент занавеса; 10 – тяги из 2-мм отожженной проволоки; 11 – герметизирующий занавес
Другим массовым видом защитных сооружений являются блиндажи. По сравнению с перекрытыми щелями они имеют более прочный остов, увеличенную толщину грунтовой обсыпки над остовом и вход с защитной дверью, способной выдержать расчетное давление ударной волны. Защитные свойства блиндажей выше, чем щелей.
Вместимость блиндажей может быть различной, но обычно от 4 до 12 человек. Блиндажи возводятся как в системе траншей, так и отдельно – в районах расположения войск, на КП, КНП и др.
Конструкции блиндажей весьма разнообразны. Они устраиваются как из местных материалов – бревен (рис. 20), досок, жердей, фашин, так и из элементов и изделий промышленного изготовления – тканекаркасной конструкции (рис. 21), бумажных земленосных мешков, металлических и железобетонных элементов и др.
Независимо от конструкции блиндажа его остов находится под грунтовой обсыпкой, а вход открыт прямому воздействию ударной волны. Поэтому наиболее ответственной частью блиндажа является вход с защитной дверью; его устройству должно уделяться особое внимание. Чтобы дверь была достаточно прочной и герметичной, она должна изготавливаться из качественного материала (например, досок или брусьев определенной толщины) и иметь устройство в виде петель для навешивания полотна на дверную коробку и простое запорное устройство. Изготовление защитных дверных блоков (дверь с опорной коробкой) рекомендуется производить заблаговременно и централизованно квалифицированными специалистами.
Рис. 21. Легкое каркасно-тканевое сооружение:
1 – защитный клапан вентиляционно-осветительного устройства; 2-сиденье-нары; 3 – оболочка основного помещения; 4 – защитно-герметический люк; 5 – оболочка сквозникового входа
Входы для блиндажей могут быть и промышленного изготовления. На рис. 22 показан стандартный защитно- герметический вход «Лаз». Применение таких стандартных изделий, возимых войсками, существенно снижает трудоемкость возведения блиндажей на позициях и ускоряет их готовность как защитных сооружений.
Наиболее полную и надежную защиту от ядерных и обычных средств поражения обеспечивают убежища.
Убежищами принято называть защитные сооружения, возводимые котлованным или подземным способом, обеспечивающие защиту укрываемых не только от механического действия средств поражения (удара, взрыва 3* , избыточного давления), но и от отравляющих и радиоактивных веществ, зажигательных средств, бактериальных аэрозолей и проникающих ионизирующих излучений. Чтобы выполнить такую задачу, убежища должны иметь достаточно прочный остов с необходимой грунтовой обсыпкой, надежное входное устройство с защитными и герметическими дверями, а также средства фильтровентиляции. Кроме того, в сооружении должно быть дополнительное оборудование, обеспечивающее условия нормального пребывания в нем личного состава: средства отопления, освещения, энергоснабжения и связи, а также обычное бытовое оборудование – кровати или нары, столы, стулья, пирамиды для оружия и т. п. Вместимость убежищ может быть различной. Для полевых позиций обычно устраивают убежища на 20-30 человек.

Рис. 22. Защитно-герметический вход «Лаз»:
1 – защитно-герметический люк; 2 – оболочка конического входного блока; 3 – тамбур; 4 – герметическая дверь; 5 – кольца
Степень защиты, обеспечиваемая убежищем, зависит от прочности строительных конструкций, включая входные устройства, толщины грунтовой обсыпки и типа фильтровентиляционного оборудования.
В специальной литературе имеются описания конструкций противоатомных убежищ, обеспечивающих защиту даже в эпицентре воздушного ядерного взрыва. Такие убежища строят на особо важных объектах в глубине страны.
Строительные конструкции убежищ обычно выполняются из наиболее прочных материалов – крупномерного лесоматериала (рис. 23), железобетона (рис. 24), стали и др. Конструктивное исполнение их может быть различным.
Рис. 23. Убежище безврубочиой конструкции:
1 – перекрытый участок траншеи; 2 – герметическая дверь; 3 – нары; 4 – распорки; 5 – вентиляционный короб; 6 – накат основного помещения; 7 – забирка торцовой стены; 8 – забирка продольной стены; 9 – фильтровенти- ляционный агрегат; 10 – места для сиденья; 11 – дымовое защитное устройство; 12- стол; 13 – обогревательная печь; 14 – накат тамбура и предтам- бура; 15 – дверной блок; 16 – герметизирующий занавес
Одной из разновидностей таких сооружений из лесоматериала является убежище рамно-блочной конструкции. Блоки из бревенчатых рам изготавливаются на специально оборудованной площадке, подвозятся к месту возведения убежища на автомобилях и устанавливаются в котлован автомобильными кранами, что дает значительную экономию времени на возведение сооружения.
Возможны и комбинированные конструкции убежищ.
Рис. 24. Убежище из железобетонных элементов:
1 – вентиляционное защитное устройство; 2 – короб для ввода кабелей связи; 3 – рулонный гидроизоляционный материал; 4 – обогревательная печь; 5 – дымовое защитное устройство; 6 – вентиляционное защитное устройство; 7 – защитная перегородка с защитной дверью; 8 – герметическая перегородка с герметической дверью; 9 – короб для ввода электрокабеля; 10 – фильтровентиляционный агрегат
Рис. 25. Комплект элементов волнистой стали для возведения убежища:
1 – диафрагма торцовая; 2 – остов; 3 – герметическая перегородка с герметической дверью; 4 – блок тамбура с защитно-герметическим люком; 5 – диафрагма торцовая
Рис. 26. Убежище из элементов волнистой стали ФВС с входом «Лаз»:
1 – дымовое защитное устройство; 2 – накат; 3 – воздухозащитное устройство: 4 – забирка; 5 – фильтровентиляционный агрегат; 6 – элементы ФВС; 7 -нары; 8 – распорки; 9 – настил, 10- защитно-герметический вход
Например, остов может быть Из элементов волнистой стали, а входы-из лесоматериала или типа «Лаз».
Особая важность убежищ как защитных сооружений и необходимость устраивать их как можно быстрее на позициях и в районах расположения войск потребовали разработки специальных комплектов элементов промышленного изготовления для возведения убежищ. На рис. 25 представлен один из вариантов комплекта элементов волнистой стали, а на рис. 26 – убежище из элементов ФВС. Важными преимуществами таких убежищ помимо их высоких защитных свойств являются удобство транспортирования элементов и быстрота возведения силами самих войск.