Литмир - Электронная Библиотека
Содержание  
A
A

– Хм, интересно… А здесь есть еще вентиляционное отверстие, сантиметров двадцать, наверное. Оно выходит на эту лестницу, правильно?

– Все верно. Но из дома, стоя в коридоре, через эту дырку в номер десятый заглянуть не получится. Встаньте перед двенадцатым номером и убедитесь, что вентиляционное отверстие десятого номера выведено в стене слишком высоко. В других помещениях – например, в двенадцатом номере, – может, и можно через вентиляцию что-то разглядеть, если на что-то встать, но только не в десятом…

– Я в курсе. Сам уже успел проверить.

– Так или иначе, нельзя сказать, что это классический случай запертой комнаты. Следов нет, значит, преступник как-то использовал вентиляционное отверстие, – сказал Тогай.

– В такую дырку даже голова не пролезет, – заметил Кусака. – Но как же тогда привязанная к кровати рука и эта хитрость с ядром? Для этого надо было проникнуть в комнату.

– А как же следы?

– Понятия не имею. А вот закрыть дверь изнутри, думаю, совсем не сложно.

– Хм, – оживился Сабуро Усикоси. – Хотелось бы послушать.

– Рассказать? – спросил Кусака. Инспектор кивнул.

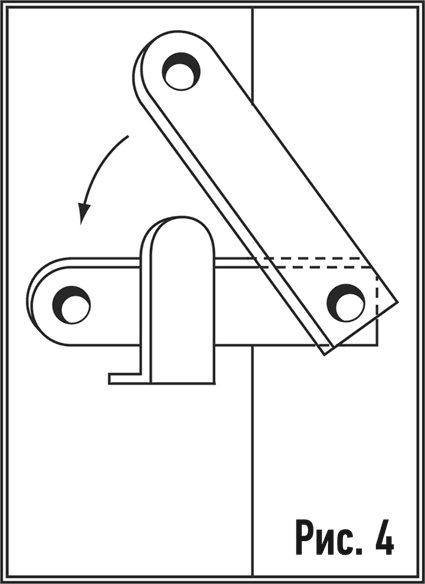
– Все очень просто. Десятый номер обычно используется как кладовая, и, когда в комнате никто не живет, ее закрывают снаружи на висячий замок. Когда приезжают гости, замок снимают, и дверь запирается изнутри на металлическую защелку. Самую простую; ее приделали, чтобы можно было в этой комнате ночевать. От преступника требовалось лишь приподнять защелку, которая поднимается и опускается, как шлагбаум на железнодорожном переезде, подпереть ее, скажем, снежком и уйти к себе. Через некоторое время снежок растаял, и защелка встала на место, заперев дверь изнутри.

Цикл "Детектив Киёси Митараи. Книги 1-8" (СИ) - i_016.png

[Рис. 4]

– Невероятно! Здорово! – раздались восхищенные возгласы со стороны представителей «Кикуока беаринг».

Но удивить Усикоси было не так-то легко.

– Мы тоже думали над этим вариантом. Однако металлическая скоба защелки прикреплена к деревянной панели, и она оказалась совершенно сухой. Никаких следов влаги. Так что крайне маловероятно, что преступник применил этот трюк.

– Значит, он действовал не так? – Кусака явно был ошеломлен.

– Выходит, как-то по-другому.

Все замолчали в задумчивости.

– И все же, мне кажется, с запертой комнатой мы как-нибудь разберемся. Не такая уж это трудная загадка. Меня больше другое беспокоит.

– Что же?

– Похоже, придется поломать голову. И все вы должны нам помочь. Ничего не поделаешь, но надо сказать откровенно: маловероятно, что преступник – кто-то из вас.

Послышался негромкий смех.

– Знаю, что это противоречит всему, что говорил до сих пор, но я не вижу среди вас человека, который мог бы быть убийцей. И это ставит меня в тупик. Я имею в виду мотивы. Кто был знаком с Кадзуя Уэдой до вчерашнего дня? За исключением господ из «Кикуока беаринг» большинство – Хамамото-сан, Эйко-сан, супруги Хаякава, Кадзивара-сан, Тогай-сан, Кусака-сан и Ёсихико-сан – видели его только второй раз. Первый раз – летом. Правильно? Общались с ним накоротке, он был нелюдим и очень молчалив. Чтобы возникла мысль убить человека, нужно как минимум быть хорошо с ним знакомым. Но никто из вас не знал его настолько хорошо.

Снова раздался сухой смешок.

– Вообще-то, убийство – дело совершенно невыгодное. Человек с именем и положением, живущий в таком замечательном доме, совершив убийство, может лишиться всего и оказаться в тюрьме. Не могу себе представить, что он настолько безрассуден. То же самое можно сказать о Кикуоке-сан, Аикуре-сан, Канаи-сан и его жене. Я не вижу здесь никого, кто имел бы повод или причину убить Кадзуя Уэду, человека неприметного, простого шофера. В этом и заключается загадка.

«Все верно», – размышляли про себя Тогай, Кусака и Эйко. До Уэды действительно никому не было дела. Будь он, к примеру, посимпатичнее, у него мог бы возникнуть с кем-то конфликт из-за женщины, и тогда об этом ходили бы разговоры; будь он заносчив, задирист, тоже были бы проблемы. Но в том-то и дело, что Уэду, фигуру настолько второстепенную, убивать не было никакой необходимости. Ни денег, ни положения, ни чего-то такого в характере, что могло бы вызвать у кого-то зависть.

Сабуро Усикоси наблюдал за выражением лиц сидевших за столом людей, и у него мелькнула мысль: а не произошла ли здесь ошибка? Мог ли убийца перепутать Уэду с кем-то другим, кого он собирался убить? Может, Уэда – случайная жертва?

Но ведь все знали, что номер десятый выделен Уэде и именно он там ночует. Комнатами он ни с кем не менялся. У номера десятого есть особенность – войти в него можно только с улицы. Невозможно представить, что кто-то собирался проникнуть в номер девятый и по ошибке оказался в десятом.

Картина не складывалась. Кадзуя Уэда совершенно не подходил на роль жертвы. Оставалось только думать, что убить должны были кого-то другого.

– Если все-таки преступник среди вас, советую сегодня ночью пуститься в бега. Поэтому не будем терять времени. Специально для него.

По тому, как Усикоси произнес эти слова, было похоже, что он не шутит. Как бы разговаривая с самим собой, полицейский продолжил:

– Человек ничего не делает без причины. Тем более когда речь идет об убийстве. Убийство без мотива невозможно. И наше расследование будет сосредоточено на поисках мотива совершенного преступления. Перед тем как мы начнем беседовать с каждым из вас по отдельности и задавать неприятные вопросы, хочу спросить у вас еще одну вещь. Не видел ли кто-то из вас чего-нибудь странного прошлой ночью, примерно когда состоялось убийство? Или, может, слышали? К примеру, крик, похожий на крик жертвы… все равно что; любая мелочь имеет значение. Может, мельком заметили что-то необычное? Незначительные на первый взгляд вещи подчас очень помогают в расследовании.

После короткой паузы послышалось:

– Я видела.

Конечно, это была Куми Аикура. Девушка не выпалила это сразу лишь по одной причине: то, что она хотела сказать, не совсем соответствовало параметрам, заданным инспектором. Она никак не могла квалифицировать пережитое минувшей ночью как что-то «замеченное мельком» или «незначительное».

– Э-э… Аикура-сан, если не ошибаюсь? Что вы видели?

– Много чего…

Куми с волнением убедилась, что появился наконец человек, готовый выслушать ее серьезно.

– О! И что же такое вы видели? – Местный детектив Окума, похоже, был ослеплен миловидным личиком Куми.

– И видела, и слышала.

– Можно вас попросить поподробнее?

Куми была готова выложить все в деталях и без этой просьбы. Единственное – она не знала, в каком порядке излагать, поэтому решила не гнать коней с самого начала.

– Я слышала крик. Посреди ночи. Может, это Уэда-сан… То есть голос был мужской. Казалось, ему очень больно. Голос был такой придушенный, не крик даже, а какое-то рычание.

– Так, так! – Усикоси одобряюще закивал головой. – А во сколько это было, знаете?

– Да, я сразу посмотрела на часы. Точно знаю. Пять минут второго было.

На лице Усикоси нарисовалась такая растерянность, что на него жалко было смотреть.

– Что?! Пять минут второго?! Вы уверены? Не ошиблись?

– Сто процентов. Я же специально на часы посмотрела.

– Но… – Инспектор повернулся на стуле, тот накренился, и показалось, что Усикоси сейчас упадет назад. В таком доме следовало быть осторожнее с резкими движениями.

– Но… такого же быть не может! Ваши часы не сломались, случаем?

Куми сняла часики с правого запястья. Она была левша и носила часы на правой руке.

– Вот. Я с тех пор к ним не притрагивалась.

Усикоси почти с благоговением взял протянутые ему дорогущие женские часики и сравнил с дешевым механизмом, болтавшимся у него на руке. Стрелки показывали одинаковое время.

– За месяц они отстают меньше чем на секунду, – решил внести свой вклад в разговор Кикуока. Конечно, это был его подарок.

82
{"b":"940968","o":1}