Литмир - Электронная Библиотека

Радио и телевидение?.. Это очень просто! - _128.jpg

Рис. 48. Активное сопротивление угольного порошка в микрофоне изменяется под воздействием звуковых волн.

Можно также сделать микрофон, прикрепив к мембране маленькую катушку, помещенную в магнитное поле постоянного кольцевого магнита. Имеющий такую конструкцию динамический микрофон отличается высокой верностью воспроизведения (рис. 49). Легко понять, что перемещение катушки в результате пересечения силовых линий магнитного поля создает в катушке токи, точно соответствующие звуковым колебаниям.

Радио и телевидение?.. Это очень просто! - _129.jpg

Рис. 49. Динамический микрофон, в котором катушка колеблется в поле постоянного магнита.

И, наконец, воздействием звуковых волн можно изменять емкость электростатического микрофона. Такой микрофон состоит из очень тонкой мембраны, помещенной совсем близко к плоскому и параллельному ей электроду (проводнику). Под воздействием звуковых волн мембрана изменяет емкость конденсаторов, который она образует вместе с плоским электродом; емкость составляет несколько десятков пикофарад. К обкладкам этого конденсатора прилагается напряжение. Ты легко понимаешь, что таким образом изменения емкости определяют зарядные и разрядные токи конденсатора, характер изменения которых точно соответствует звуковым колебаниям.

Устройство передатчика

Микрофон любого типа позволяет нам получить токи низкой частоты (НЧ) или, иначе, звуковой частоты, которые используются для модуляции тока высокой частоты, создающего радиоволны. Модуляция заключается в изменении в соответствии с формой тока НЧ одной из двух основных характеристик тока высокой частоты (ВЧ): его амплитуды или частоты. На этом основаны два разных вида радиовещания: передачи с амплитудной модуляцией и передачи с частотной модуляцией. В первом случае частота тока, порождающего волны, остается постоянной; изменяется лишь амплитуда ее различных периодов (рис. 50).

Радио и телевидение?.. Это очень просто! - _130.jpg

Рис. 50. При амплитудной модуляции изменяется амплитуда тока в соответствии с изменением модулирующего сигнала (а), а при частотной модуляции — частота высокочастотных колебаний (б).

При частотной модуляции амплитуда тока высокой частоты остается постоянной. Изменения претерпевает сама частота, которая отклоняется в ту или иную сторону от своего среднего значения. Модулированный ток усиливается и только после усиления подается в передающую антенну, вокруг которой создает переносящие звук радиоволны (рис. 51).

Радио и телевидение?.. Это очень просто! - _131.jpg

Рис. 51. Структурная схема радиотелефонного передатчика.

Устройство приемника

Последуем за радиоволнами и посмотрим, что происходит с ними в приемниках. В приемных антеннах наши волны порождают токи, имеющие такую же форму, что и токи в передающих антеннах, но бесконечно уступающие им по величине. В самом деле, представьте себе, что мощность, которая в больших радиовещательных передатчиках может достигать нескольких сотен киловатт, затем рассеивается во всех направлениях на сотни и даже тысячи километров. Ты, несомненно, понимаешь, что твоя антенна примет лишь ничтожную долю энергии; исключение может иметь место в том случае, когда владелец радиоприемника живет в непосредственной близости от передатчика, но к тебе это, как мне известно, не относится.

Прежде всего необходимо усилить принятый слабый ток. Но усиливать надо не любой ток: ведь в одной и той же антенне наводятся токи от волн многочисленных передатчиков. Для отбора волны передатчика, который ты желаешь послушать, необходимо воспользоваться избирательностью входного колебательного контура, настроив его на частоту нужного передатчика.

Обычно для обеспечения хорошей избирательности в высокочастотной (ВЧ) части приемника используют несколько настроенных контуров. После того, как ток достаточно усилен, нужно выделить из него ток НЧ, который был использован для модуляции. Для этой цепи применяют демодулирующую схему, роль демодулятора в которой выполняет детектор (рис. 52). После выделения тока НЧ или, как принято говорить, детектирования его нужно усилить и затем преобразовать в звук.

Радио и телевидение?.. Это очень просто! - _132.jpg

Рис. 52. Упрощенная схема радиоприемника (а) и формы токов в его различных блоках (б).

Телефоны и громкоговорители

Эта последняя операция выполняется с помощью головного телефона, если ты хочешь слушать один, не нарушая покоя окружающих, или с помощью громкоговорителя, если ты любезно хочешь доставить удовольствие всем присутствующим.

Наиболее распространена электромагнитная модель телефона (рис. 53).

Радио и телевидение?.. Это очень просто! - _133.jpg

Рис. 53. Устройство телефонной трубки.

1 — электромагнит; 2 — корпус; 3 — мембрана; 4 — крышка, фиксирующая мембрану на корпусе.

Он состоит из тонкой стальной мембраны, расположенной перед электромагнитом. Когда через обмотку электромагнита протекает ток НЧ, магнит заставляет мембрану вибрировать, создавая при этом звуковые волны. Громкоговорители, выпускавшиеся раньше, были основаны на том же принципе, что и описанный мною телефон. Перед мембраной устанавливался бумажный диффузор конической формы, который излучал звуковые волны.

В наши дни в основном используют электродинамические головки громкоговорителей, основанные на том же принципе, что и динамические микрофоны (рис. 54). В такой головке используется довольно большой диффузор конической формы, сделанный из пропитанной специальным составом бумаги. На узком конце диффузора укреплена катушка цилиндрической формы, через которую пропускается ток НЧ. Эта катушка помещается в зазор между полюсами мощного постоянного кольцевого магнита.

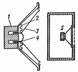
Радио и телевидение?.. Это очень просто! - _134.jpg

Рис. 54. Электродинамический громкоговоритель.

1 — постоянный магнит; 2 — эластичные подвески; 3 — диффузор; 4 — подвижная катушка; 5 — головка громкоговорителя.

Вы легко поймете, что здесь происходит явление, обратное тому, которое имеет место в динамическом микрофоне: при каждом полупериоде тока подвижная катушка смещается вперед или назад в зависимости от взаимодействия собственного переменного магнитного поля и поля постоянного магнита.

Катушка увлекает за собой диффузор, который приводит в колебание прилегающие к нему слои воздуха, образующие достаточно мощные звуковые волны (рис. 55).

Радио и телевидение?.. Это очень просто! - _135.jpg

18
{"b":"556138","o":1}