Литмир - Электронная Библиотека

Топливо — дизельное. Емкость топливных баков 580 — 590 л. Подача топлива принудительная, топливный насос GMC, комбинированный в одном агрегате с форсункой, топливоподкачивающий насос коловратного типа.

Система смазки — циркуляционная, под давлением, с "мокрым" картером, на двигателях первых выпусков — с "сухим" картером. На каждом двигателе имелся свой трехсекционный (одна секция нагнетающая, две откачивающие) шестеренчатый масляный насос.

Система охлаждения — жидкостная, с принудительной циркуляцией. Радиаторов — два, трубчато-пластинчатых.

Вентиляторов — два, пятилопастных.

Для очистки воздуха, поступавшего в цилиндры двигателя, служили три воздухоочистителя инерционно-масляного типа.

Пуск двигателей осуществлялся электростартерами. Для облегчения зимнего пуска использовались две факельные форсунки с запальными свечами на каждый двигатель.

Бронеколлекция 1999 № 01 (22) Средний танк «Шерман» - img_33.jpg

M4A2(76)W

Бронеколлекция 1999 № 01 (22) Средний танк «Шерман» - img_34.jpg_0

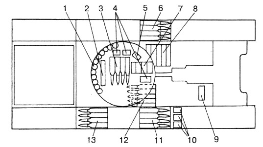
Схема размещения боекомплекта:

1 —укладка 75-мм выстрелов на бортах башни; 2 — укладка 11,43-мм патронов к пистолету-пулемету Tompson; 3 — укладка 75-мм выстрелов на полике башни; 4 — укладки 12,7-мм патронов на полике башни; 5 — коробка с 7,62-мм патронами у спаренного пулемета; 6 — укладка 75-мм выстрелов в левом спонсоне; 7 — укладка 7,62-мм патронов на полике башни; 8 — укладка 7,62-мм патронов на полу корпуса; 9 — коробка с 7,62-мм патронами у курсового пулемета; 10 — укладки 12,7-мм патронов в правом спонсоне; 11 — передняя укладка 75-мм выстрелов в правом спонсоне; 12 — укладка 75-мм выстрелов на полу корпуса; 13 — задняя укладка 75-мм выстрелов в правом спонсоне.

Трансмиссия состояла из двух однодисковых главных фрикционов сухого трения (по одному на двигатель), поперечной соединительной передачи, карданного вала, коробки передач, механизма поворота и бортовых передач.

Поперечная соединительная передача шестеренчатая, три шестерни с косым зубом постоянного зацепления.

Коробка передач — механическая, пятискоростная (5+1), с синхронизаторами на всех передачах, кроме 1 -й и заднего хода.

Механизм поворота — двойной дифференциал типа "Клетрак".

Бортовые передачи — одноступенчатые.

ХОДОВАЯ ЧАСТЬ танков М4А2 и M4A2(76)W применительно к одному борту состояла из шести одинарных обрезиненных опорных катков, сблокированных попарно в три балансирные тележки, подвешенные на двух вертикальных буферных пружинах каждая; трех поддерживающих катков, направляющего колеса, ведущего колеса переднего расположения со съемными зубчатыми венцами (зацепление цевочное). В каждой гусенице 79 двухгребневых траков шириной 420,6 мм, шаг трака 152 мм. Траки металлические или резинометаллические с сайлент-блоком.

Ходовая часть танка M4A2(76)W HVSS применительно к одному борту состояла из шести сдвоенных обрезиненных опорных катков, сблокированных попарно в три балансирные тележки, подвешенные на двух горизонтальных буферных пружинах каждая; трех одинарных и двух сдвоенных поддерживающих катков, обрезиненного направляющего колеса, ведущего колеса переднего расположения со съемными зубчатыми венцами (зацепление цевочное). В каждой гусенице 79 одногребневых траков шириной

584.2 мм, шаг трака 152 мм. Траки металлические или резинометаллические с сайлентблоком. В каждой тележке подвески устанавливался гидравлический амортизатор.

ЭЛЕКТРООБОРУДОВАНИЕ было выполнено по однопроводной схеме. Напряжение 24 В. Источники: два генератора мощностью

1.2 кВт, две аккумуляторные батареи. Вспомогательный зарядный агрегат, представлявший собой одноцилиндровый двухтактный бензиновый двигатель, спаренный с генератором мощностью 1,5 кВт. Потребители: два электростартера, электромотор механизма поворота башни, радиостанция и переговорное устройство, электромоторы вентиляторов, контрольные приборы и т.д.

СРЕДСТВА СВЯЗИ. На всех танках устанавливались радиостанции SCR-508, - 528 и - 538. Радиостанция SCR-506 имелась только на командирских танках.

Схемы подвесок
Бронеколлекция 1999 № 01 (22) Средний танк «Шерман» - img_35.jpg

VVSS

Бронеколлекция 1999 № 01 (22) Средний танк «Шерман» - img_36.jpg

HVSS

Бронеколлекция 1999 № 01 (22) Средний танк «Шерман» - img_37.jpg

Танк \14, оборудованный реактивной системой залпового огня Т34 "Голиаф" (Calliope), 6-я танковая дивизия. Германия, апрель 1945 года.

Тактико-технические характеристики танков М4А2 и M4A2(76)W
  М4А2 M4A2(76)W
Боевая масса, т 31,87 33,32
Экипаж, чел 5 5
Габаритные размеры, мм:
длина 5918 7569
ширина 2616 2667
высота 2743 2972
клиренс 432 432
Высота линии огня, мм 2235 2286
Толщина брони, мм:
лоб корпуса 108— 51
борт 38
корма 38
крыша 19
днище 25,4—12,7
маска пушки 89
лоб башни 76 63,5
борт и корма 51 63,5
крыша 25,4
Макс, скорость движения, км/ч 48
Средняя скорость движения, км/ч 40
Запас хода по шоссе, км 241 161
Преодолеваемые препятствия:
угол подъема, град 31
ширина рва, м 2,28
высота стенки, м 0,61
глубина брода, м 1
Длина опорной поверхности, мм 37 34
Удельное давление, кг/см² 1,01 1,06
Удельная мощность, л.с./т 11,7 11,2
7
{"b":"545797","o":1}