Литмир - Электронная Библиотека

Простейший парус, который можно быстро сделать из любого тента, плащ-палатки, мешковины и т.п. – прямой. Парус может иметь форму прямоугольника или крутобокой трапеции (рис. 166).  

К тонкому шесту – рейке прямой парус прикрепляется узкой стороной прочными завязками; к середине рейки привязывают конец веревки – фала, при помощи которого поднимают парус; длина фала в 2 Ѕ раза больше длины мачты. Фал пропускают через кольцо ли блок, прикрепленной к мачте спереди, несколько ниже верхнего конца. Парус кладут перед мачтой или сбоку и выбирают (тянут) фал, пока рейка не остановится у кольца; фал крепится у мачты к банке или борту. Если нет кольца и блока, можно выдолбить в верхнем конце мачты отверстие для фала, но этот способ опасен, так как фал будет иногда заедать, а подъемное устройство должно действовать безотказно.   К нижним углам паруса прикрепляются оттяжку – шкоты; если у паруса нет на углах люверсов, легко привязать шкоты, завернув в углы паруса небольшие камни и обвязав   веревкой шейку этого пакета. Шкоты служат для регулировки положения паруса; в открытых лодках их нельзя привязывать: концы шкотов держит рулевой, обернув в крайнем случае , один раз за уключину, или утку. Парус, спущенный в лодку, наматывают на рею и кладут вдоль борта. С прямым парусом обычно идут при попутных ветрах.

Для уменьшения площади парусности «берут рифы» — скатывают нижний край паруса и обвязывают его специальными шнурками — риф-штертами, которые продеты в дырочки (люверсы), прорезанные в парусе. Риф-штерты расположены по одной линии (рис. 168) или в несколько рядов для последовательного уменьшения площади паруса; парус при этом опускают так, чтобы нижний край оставался на прежней высоте.

Если надо использовать попутный ветер, не имея мачты и паруса, можно натянуть тент или другое полотнище на двух связанных в виде ножниц шестах; нижние их концы опираются на шпангоут за передней банков, к верхним надо привязать ванты и закрепить их у бортов.

Подобная ножницеобразная мачта из двух жердей может быть установлена и для постоянного плавания, если в крытой лодке обычная мачта будет мешать проходу или если дно лотки занято большим грузом. Верхние концы двух шестов связываются вместе, к ним прикрепляется кольцо для фала и ванты, отнесенные подальше к корме; нижние концы шестов укрепляются в колодках у шпангоута за передней банкой; прямой парус прикрепляется к рейке и поднимается обычным способом (рис. 165).

Из более совершенных парусов на речных лодках наиболее применимы шпринтовый и рейковый. Первый из них имеет прямо угольную форму с отношением сторон 3:2. Вдоль одной из его длинных сторон прикрепляется ряд проволочных колец, которые свободно ходят по мачте; к верхнему из этих колец привязан фал, пропущенный через блок на верхушке мачты. Парус расправляется шпринтовом — длинной тонкой рейкой, идущей от нижнего конца мачты по диагонали к верхнему внешнему углу паруса - верхний конец шпринтова входит в люверс или в петлю на этом углу, а нижний конец опирается на ветлю (стрен), прикрепленную к мачте выбленочным узлом (рис. 169 на стр. 518). Длинный шкот только один — в виде вожжей, один конец которых привязан к верхнему концу шпринтова, другой — к нижнему свободному концу паруса (рис. 167).

Справочник путешественника и краеведа - img_74.png

Рис. 165. Мачта для прямого паруса, сделанная из двух шестов (ножницы): а — шкоты, б — груз Рис. 166. Прямой парус Рис. 167. Шпринтовый парус Рис. 168. Рейковый парус и управление кормовым веслом

При парусе большого размера верхний его конец поднимается особым фалом, пропущенным через блок на конце шпринова, и шпринтов удерживается на определенном расстоянии от мачты особой снастью. Парус этот спускают на палубу, нижний конец шпринтова вынимается из стропа, и парус навертывается на шпринтов. При небольшим парусе кольца делают веревочные (или тонкой веревкой прихватывают край паруса к мачте), верхнее кольцо паруса плотно охватывает мачту, парус нельзя спускать — и чтобы убрать парус, шпринтов приближают к мачте и вместе с нею обертывают парусом и обвязывают их вместе шкотом. Шпринтовый парус позволяет итти при косом ветре.

Еще лучше работает рейковый парус, имеющий форму косого разностороннего четыреугольника. На лодке, длиной 7 м, его стороны могут иметь длину: нижняя — 3 м, внутренняя боковая, идущая под прямым углом к нижней — 2 м, внешняя боковая (под косым углом к нижней) — 4 1/2 м и верхняя — 3 м. Это соотношение сохраняется (при изменении абсолютных величин) и для лодок другого размера. Верхняя и нижняя стороны паруса прикреплены к рейкам; фал привязывают к верхней рейке в 1/3 ее длины от короткой внутренней боковой стороны. Парус должен быть хорошо растянут, что достигается при помощи галса, короткой снасти, прикрепленной к нижнему внутреннему (галсовому) углу паруса; галс крепится рядом с фалом к банке (рис. 168). Фалы на больших лодках крепятся за утки (см. гл. VI , § 29).

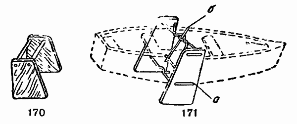
Плоскодонки и лодки с овальным сечением плохо используют боковой ветер (галфвинд) и даже ветры, дующие сзади не вдоль оси лодки, так как они сильно дрейфуют в сторону. Если приходится часто итти на таких лодках под парусами, следует поставить один из типов onyc кного киля. Простейший из них — шверты или шверцы; это — две доски в виде высоких трапеций, или продолговатых прямоугольников, опущенные с обоих бортов. В наиболее быстро устанавливаемом типе доски скреплены одним или двумя поперечными шестами, которые кладут поперек лодки и привязывают к банкам (рис. 170). В другом типе — доски связываются веревками — одной под дном лодки и другой над бортами; верхняя веревка закруткой закручивается до тех пор, пока шверты не прижмутся к бортам; шверты должны быть строго параллельны диаметральной плоскости лодки, и если борта выпуклы, то между швертом и бортом надо забить клинья (рис. 171). Плоскодонка с швертами может итти даже круче к ветру, чем килевая лодка. Шверты могут быть сделаны так, чтобы их можно было опускать отдельно — при боковом ветре опускается одни шверт с подветренного борта; при попутном можно не опускать швертов.

Опускные кили позволяют хорошо использовать паруса и вместе с тем сохраняют основное преимущество плоскодонных лодок — возможность проходить в неглубоких водоемах, недоступных для килевых лодок и подходить близко к плоским берегам. Шверт с нижней веревкой поэтому неудобен, так как она может задеть за камень или корягу.

Справочник путешественника и краеведа - img_75.png

Рис. 170. Шверты с жестким креплением Рис. 171. Шверты с веревочным креплением (по А. Пронину): а — доска. б — закрутка

 

12. Способы передвижения . Гребля — наиболее распространенный способ передвижения в водоемах со стоячей водой и вниз по течению реки, а при тихом течении также и вверх. Способов гребли несколько: академическая гребля, применяющаяся на гоночных лодках: распашными веслами — на вельботах и гичках, — причем каждый гребец гребет одним длинным веслом и сидит у борта, противоположного уключине; более обычна парная гребля — когда гребец работает одновременно двумя веслами; на достаточно широких лодках, где на банке свободно помещаются два человека, каждый из них гребет одним парным веслом; наконец, различные способы гребли двухлопастными и однолопастными веслами на долбленках, байдарках, берестянках, байдарах, каноэ и пр. Мы не описываем академической и распашной гребли, так как они не нужны при исследовательских работах.

При парной гребле ноги согнуты и плотно упираются в подножку — специально прибитую к рыбинам перекладину. Ладони плотно охватывают рукоятку весла сверху, большие пальцы или< охватывают рукоятку снизу, или лежат на торце весла. Обе руки работают совершенно одинаково, оба весла при проводке движутся на одной и той же глубине и поэтому лодка не должна быть накренена на одну сторону. Так как рукоятки весел заходят одна за другую на 10 — 15 см (что сделано для удлинения внутреннего плеча рычага), то нужно вести рукоятки осторожно, одна за другой, иначе можно разбить кисти рук. Чтобы не натереть при гребле пузыри, надо сохранять ладони сухими и натирать их вазелином или несоленым салом; хорошо предохраняют также рукавицы — кожаные или брезентовые.

106
{"b":"285561","o":1}