Не 177А-02 (DL+AQ) в стандартном камуфляже RLM 70/71/65.
Окраска самолета Не 177А-5 (Werk Nummer 550043). Весь самолет целиком выкрашен красками RLM 76 Grau и RLM 71. Виден регистрационный номер на гондоле под кабиной.
После высадки союзников в Нормандии, самолеты II./ KG 40 участвовали в налетах на флот вторжения, атакуя корабли бомбами Hs 293. Один из Не 177А-5 был перехвачен австралийским «Mosquito» из 456-й эскадрильи RAAF. Сначала австралийцы засекли противника с помощью радара, а затем установили визуальный контакт. Прицельная очередь, пущенная с дистанции всего 100 м, вызвала пожар двигателя, за которым последовал взрыв бензобака. Самолет упал в море. Летный офицер Стьюинс и летный офицер Келлет вскоре обнаружили и сбили еще один Не 177. В ту ночь 456-я эскадрилья сбила четыре самолета из II./KG 40. Следующей ночью самолеты люфтваффе несколько раз атаковали союзников. Налеты почти не принесли результата, удалось потопить всего пять кораблей. Самолеты Не 177 также использовались для постановки мин. 26 июня 1944 года на аэродроме в Тулузе находились самолеты I./KG 40, тогда как самолеты II./KG 40 дислоцировались в Бордо. Всего во Франции находилось 25 самолетов Не 177.

Бомбардировщик Не 177A-3 из Flugzeugfuehrerschule (В) 16, камуфляж RLM 22/74/76 типичен для ночных бомбардировщиков, Магдебург-Бург, 1944 год.
Заводская схема камуфлирования Не 177A-5.
Прототип Не 177 VI
Не 177А-1/U2 вооруженный спаренными 30-мм пушками
Не 177A-3/R5 вооруженный 75-мм пушкой
Не 177A-3/R-1
Прототип Не 177 V5
Прототип Не 177 V7
Не 177 А-0
Не 177A-1/R-1
Не 177А-1
He 177A-5/R5 с тремя ракетами Hs 293 под крыльями и фюзеляжем
Не 177A-6/R1
He 177A-5/R5
Не 177В VI
Не 177В V2
Не 177B-6/R2
Не 177B-6/R3
Проект Не 177A-6/R2
Не 177B-6/R1
Проект Не 177B-5/R2
Не 274 VI — ASS001
Расположение и размеры опознавательных знаков.
Конструкция фюзеляжа Не 177A-1.
В 1944 году на Восточном фронте появился бомбардировочный полк, оснащенный машинами Не 177. Это был Kampfgeschwader 1 «Hindenburg». Полк дислоцировался на территории Восточной Пруссии. Закончив подготовку, в мае 1944 года на аэродромы Провеен и Зераппен в районе Кенигсберга прибыла I./KG 1. К концу месяца обучение завершили и две другие группы полка. Полком командовал подполковник Карл фон Ризен. Первые боевые вылеты полк совершил в начале июня. Немцы действовали с больших высот, поэтому почти не несли потерь от советских истребителей. Полк бомбил Псков, Смоленск, Невель и другие города. 16 июня 1944 года 87 самолетов провели налет на Великие Луки. Бомбометание с большой высоты было хоть и безопасным, но совершенно бесполезным занятием. После того, как советские войска начали наступление в Белоруссии, бомбардировщики из KG 1 часто были единственным фактором, способным сдержать продвижение советских танковых колонн.

Самолеты Не 177А-5 из KG 100 на аэродроме Мюнхен-Рим, весна 1944 года. Хорошо виден камуфляж ночных бомбардировщиков.
Шпангоут № 44.
Остекление кабины Не 177A-1. 1. Боковые окна. 2. Открываемое окно. 3. Лобовые стекла.
Хвостовая часть фюзеляжа Не 177А-3.
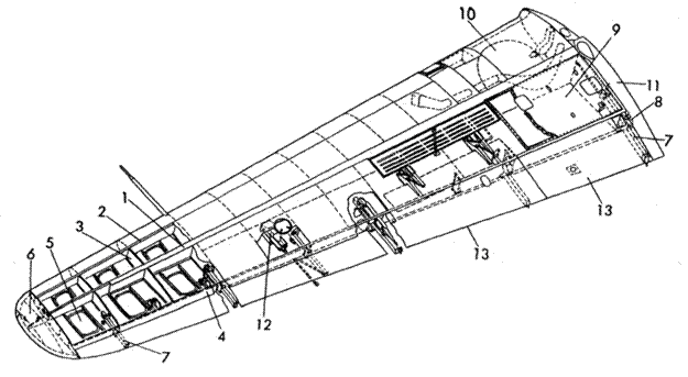
Фюзеляж Не 177А-3. 1. Передняя часть фюзеляжа. 2. Места членов экипажа. 3. Бомбоотсеки. 4. Хвостовая часть фюзеляжа. 5. Хвосто — вая огневая точка. 6. Кресло пилота. 7. Система аварийного слива топлива.
Главный лонжерон крыла Не 177A-1.
Расположение нервюр. Конструкция крыла Не 177А-1/А-5.
Расположение мест членов экипажа.
Конструкция крыла Не 177A-1. 1. Главный лонжерон. 2. Вспомогательный лонжерон. 3. Нервюра. 4. Элерон. 5. Вспомогательные поперечные конструкции крыла. 6. Законцовка крыла. 7. Привод элерона и закрылка. 8. Узел крепления консоли к центроплану. 9. Топливный бак. 10. Колесная ниша. 11. Пластина, закрывающая стык консоли и центроплана. 12. Привод элеронов. 13. Закрылки Фаулера.