Пушка с выгнутым вверх каналом ствола конструкции известного русского учебного-артиллериста генерала Н В. Маиевского. 1868 год
простреливать «мертвое» пространство впереди и по сторонам машины. В 1944 году «танковое» кривоствольное оружие начало приспосабливаться и для пехоты.
Сама идея создания кривоствольного оружия не была новой. Еще в 1868 году генерал от артиллерии Н. В. Маиевс-кий, профессор баллистики Михайловской артиллерийской академии, предложил проект кривоствольной пушки, заряжаемой с наземной части. Правда, делал он это с целью увеличения стрельбы дисковым снарядом. При выстреле из арт-системы с выгнутым вверх каналом ствола «диск», установленный на ребро, прижимался центробежной силой к верхней части ствола и получал необходимое вращение, которого добивались конструкторы. Одно из орудий с подобным каналом ствола изготовили в России под руководством профессора Маиевского. Опытные стрельбы в 1871— 1873 годах подтвердили правильность расчетов: дисковый снаряд массой 3,5 кг, обладающий начальной скоростью 480 м/с, пролетел 2500 м, в то время как обычное ядро того же веса при тех же условиях — всего 500 м. Но главное, при этом эксперименте были выявлены возможности ведения стрельбы из кривоствольного оружия.
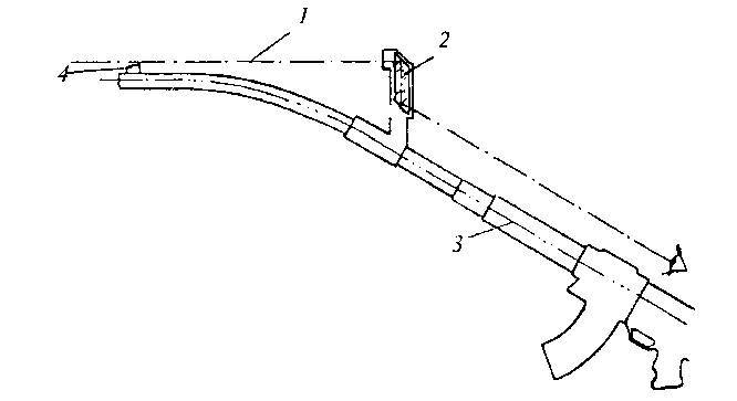
Используя эту идею, немецкие специалисты создали приспособление для стрельбы из винтовок из-за укрытия, кото-
рое в 1943 году было принято на вооружение вермахта. Приспособление применялось для стрельбы из 7,92-мм винтовки Маузера образца 1898 года и из самозарядной винтовки Вальтера образца 1941 года, которые давали возможность вести стрельбу из-за укрытия, вследствие чего такое оружие получило наименование оружия для стрельбы из-за угла. Оно поступило на вооружение специальных команд, задачей которых было уничтожение командного состава противника в городах. Приспособление состоит из трех основных частей — приклада, корпуса и перископического прицела. Приклад деревянный, крепится к нижней части корпуса двумя винтами с барашковыми гайками и может откидываться. В нем смонтирован спусковой крючок, соединенный с помощью спусковой тяги и цепочки со спусковым механизмом винтовки. Корпус — из листового железа, штампосварной. В его верхней части, между боковыми стенками, имеется опорная планка для приклада винтовки, закрепленная опорным винтом. Спереди она накладывается на эксцентричную втулку, насаженную на переставной винт установочного рычага, который завинчивается до отказа барашковой гайкой. Сверху корпуса шарнирно прикреплена наметка с двумя зажимами. На ее внутренней стороне име-

Криволинейная насадка-желоб
ются упоры, которые при помощи двух винтов прижимают к опорной планке корпус приклада винтовки.
Перископ крепится с помощью наметки к корпусу; регулировочное устройство обеспечивает возможность выверки перископического прицела и приведение винтовки, установленной в приспособление, к нормальному бою.
Также в немецкой армии были созданы криволинейные насадки для 7,92-мм автомата МР-44. Автомат работает за счет использования энергии пороховых газов, поступающих из газоотводного отверстия в газовую камеру. Естественно, что при наличии кривоствольной насадки истечение газов из ствола затрудняется и, следовательно, количество газов, поступающих из ствола в газовую камеру автомата, возрастает, а их воздействие на подвижные части автомата увеличивается и может явиться при-чиной их поломки. Во избежание этого в задней части насадки сделано специальное окно для истечения газов наружу. Благодаря этому решению удалось получить нормальные скорости подвижных частей автомата при наличии на нем кривоствольной насадки.
Крепление такой насадки на стволе оружия можно осуществлять не только с помощью наметки, но и с помощью втулки и другими способами. При разработке кривоствольного оружия изначально учитывались требования ведения прицельной стрельбы из окопов. Для обеспечения прицельной стрельбы были разработаны прицепы двух
Криволинейная ствольная насадка
Призменный прицел: линия прицеливания; 2 - призма; 3- оружие; 4 - мушка
типов — зеркальные и призменные. Стрельба из кривоствольных автоматов с такими прицелами практически не отличается от стрельбы из обычных автоматов е оптическими прицелами.
Также полковник вермахта Шеде пытался в последние месяцы войны наладить производство пушек с кривым стволом, способных вести огонь из укрытий под углом 30 или 90 градусов. Но развал фашистской Германии не давал немецким инженерам времени для доводки новых образцов.
Тем не менее задача определения перспективности кривоствольных систем не была снята с повестки дня. Эта работа российскими конструкторами стрелкового оружия началась вскоре после окончания Великой Отечественной войны. Испытывались стволы различной кривизны под 7,62-мм винтовочный патрон, 12,7-мм и 20-мм патроны ШВАК. В результате было принято решение разработать проект танковой установки с автоматом системы Калашникова с криволинейной насадкой. Эта работа была выполнена Н. Ф. Макаровым, отработавшим все Детали кривоствольного узла, и К. Г. Куреиковым, создавшим установку.
Следует заметить, что возможность и целесообразность создания кривоствольного оружия предварительно проверя-
Штурмовая винтовка X. Шмайссера «Штурмовер 44» (МР43) с приспособлением для стрельбы из укрытия
лись с помощью насадок-желобов и насадок-стволов, крепящихся к дульной части ствола винтовок. При этом угол искривления в процессе исследований менялся в широких пределах, вплоть до 90 градусов. Возможность проведения исследований на насадках-желобах очевидна, так как, проходя через криволинейную насадку, под действием центробежной силы пуля прижимается к внутренней поверхности желоба. Было установлено, что оптимальный угол искривления насадки находится в районе 30 градусов. При больших углах искривления происходит демонтаж специальных пуль (трассирующие, зажигательные), в таком случае можно стрелять только патронами с обыкновенными пулями. Различие в кучности боя при стрельбе из криволинейного оружия по сравнению с обычным прямоствольным на дальностях прямого выстрела незначительно.
Полигонные испытания показали, что созданная конструкторами система может решить проблему ближнейобороны аварийного или подбитого в бою танка и что предложенная ими схема размещения установки на люкебашни является единственно возможным вариантом. Од -
нако трудности при открывании и закрывании люка даже при условии предварительного извлечении автомата из установки и некоторые более мелкие дефекты вызывали отрицательное отношение к ней экипажей танков. В связи с этим идея защиты танка с помощью кривоствольного оружия была признана нецелесообразной, и все работы в этом направлении были прекращены.
После Великой Отечественной войны велась разработка и среднекалиберных артиллерийских систем с криволинейными стволами. Работы шли над орудиями калибра 25, 57 и 82 мм в ОКБ-43. Ими руководили М. Н. Конда-лов и С. М. Гольдман. В 1948 году этот коллектив закончил корректировку чертежей 82-мм криволинейного ствола для казематного орудия-миномета и НИИ-13 было выдано задание на его изготовление. К концу 1949 года ствол бы изготовлен. Заданная проектировщиками кривизна ствола 1500 мм была в НИИ-13 не выдержана и получилось 1460 мм. Ствол миномета гладкий, с внутренним диаметром у казенной части 84 мм. На расстоянии 460 мм от казенного среза ствол прямой, на длине дуги 1300 мм ствол кривой, а затем прямой на длине 935 мм.